TOP
|
特許
|
意匠
|
商標
特許ウォッチ
Twitter
他の特許を見る
10個以上の画像は省略されています。
公開番号
2025148737
公報種別
公開特許公報(A)
公開日
2025-10-08
出願番号
2024049008
出願日
2024-03-26
発明の名称
給電システム
出願人
東京瓦斯株式会社
代理人
個人
,
個人
主分類
H02J
7/00 20060101AFI20251001BHJP(電力の発電,変換,配電)
要約
【課題】電気自動車に対する充電方式として電気自動車と充電設備との間の情報通信を伴わない充電方式を用いる場合でも、電気自動車からの情報取得を可能とする。
【解決手段】複数の充電口を有する電気自動車の一の充電口に装着される第1コネクタと、電気自動車における他の一の充電口に装着され、他の一の充電口に設けられたデータ通信を行うための充電口側端子に接続するプラグ側端子を有する第2コネクタと、第2コネクタを介して電気自動車から情報を取得する取得部と、取得部により取得された情報を処理する情報処理部と、情報処理部による処理結果に基づき、第1コネクタからの電気自動車に対する給電を制御する制御部と、を備えることを特徴とする、給電システム。
【選択図】図1
特許請求の範囲
【請求項1】
複数の充電口を有する電気自動車の一の充電口に装着される第1コネクタと、
前記電気自動車における他の一の充電口に装着され、当該他の一の充電口に設けられたデータ通信を行うための充電口側端子に接続するプラグ側端子を有する第2コネクタと、
前記第2コネクタを介して前記電気自動車から情報を取得する取得部と、
前記取得部により取得された情報を処理する情報処理部と、
前記情報処理部による処理結果に基づき、前記第1コネクタからの前記電気自動車に対する給電を制御する制御部と、
を備えることを特徴とする、給電システム。
続きを表示(約 890 文字)
【請求項2】
前記第2コネクタは、前記他の一の充電口に設けられた充電口側端子のうち、給電以外に用いられる充電口側端子に接続されるプラグ側端子につながる回路を備え、
前記回路は、当該回路を開放する開放部を備えること
を特徴とする、請求項1に記載の給電システム。
【請求項3】
前記取得部は、前記制御部により前記電気自動車への給電が実行されていないことを条件の一つとして、当該電気自動車から情報を取得すること
を特徴とする、請求項1または請求項2に記載の給電システム。
【請求項4】
前記制御部は、前記電気自動車への給電中に、予め定められた時間設定に応じて給電を停止し、
前記取得部は、前記制御部により給電が停止されているときに、前記電気自動車から情報を取得すること
を特徴とする、請求項3に記載の給電システム。
【請求項5】
前記取得部は、前記第1コネクタが前記電気自動車の前記一の充電口に接続されていないことを条件として、当該電気自動車から情報を取得すること
を特徴とする、請求項3に記載の給電システム。
【請求項6】
前記取得部は、前記第1コネクタが前記電気自動車の普通充電用の充電口に接続されていることを条件として、前記制御部による当該電気自動車への給電開始前に、当該電気自動車から情報を取得すること
を特徴とする、請求項3に記載の給電システム。
【請求項7】
電気自動車の充電口に接続して普通充電を行うための第1接続部と、
前記電気自動車の急速充電が可能な充電口に設けられたデータ通信用の端子に接続する第2接続部と、
前記第2接続部を介して前記電気自動車から情報を取得する取得部と、
前記取得部により取得された情報を処理する情報処理部と、
前記情報処理部による処理結果に基づき、前記第1接続部からの前記電気自動車に対する給電を制御する制御部と、
を備えることを特徴とする、給電システム。
発明の詳細な説明
【技術分野】
【0001】
本発明は、給電システムに関する。
続きを表示(約 3,400 文字)
【背景技術】
【0002】
電気自動車に対する充電方式として、いわゆる普通充電と急速充電とがある。普通充電と急速充電とは、充電制御の方法が異なっており、接続線の構成やコネクタの形状も異なっている。急速充電の接続線には情報通信用の通信線が設定されており、電気自動車と充電設備との間で車両の充電情報等の情報通信を行うことが可能である。
先行技術文献1には、「交流電源44は一般家庭の商用電源が使用されて、小電流・長時間の夜間充電に適しており、地上の付帯設備もなく、単に充電ケーブルを接続するだけでよい特徴があり、一般に普通充電方式と呼ばれているのに対し、直流電源33は充電ステーションに設置された大電流・短時間の充電が行えて、出先での充電残量の不足分を短時間で応急補充するのに適しており、一般には急速充電方式と呼ばれている」こと、「急速充電を行うのに適した直流電源システムの一例である(略)地上の充電器100と電動車両200とを接続する充電ケーブル101は、電力供給用の充電用ライン1011と、デジタル信号による通信用ライン1012と、アナログ信号による制御用ライン1013が設けられ、充電制御シーケンスの開始及び終了の合図が充電器100と電動車両200との間で交信されるようになっていて、その交信手順はCHAdeMO(登録商標)規格において記載されている」こと、「商用交流電源から普通充電が行えて、家電機器への給電も行えるようにした(略)普通充電口12に接続されるバッテリ充電用の充電ガン21、又は家電機器給電用のアダプタ20には、抵抗R6に直列接続された抵抗R7と、抵抗R7に並列接続されたスイッチS3が設けられ、車両側では抵抗R5が前記抵抗R6・R7の直列回路に対して並列接続され、抵抗R5には抵抗R4が直列接続されて基準電圧VDCが印加される」こと、「充電ガン21又はアダプタ20における抵抗R6・R7の値が異なっており、車両コントローラ16は抵抗R5の両端電圧を接続信号SIG3として受信して、充電ガン21又はアダプタ20のどちらが接続されているかを検知して充電制御又は放電制御を行う」構成であることが開示されている。
【先行技術文献】
【特許文献】
【0003】
特開2020-174438号公報
【発明の概要】
【発明が解決しようとする課題】
【0004】
電気自動車への充電に際し、電気自動車の状態に応じて充電制御を行うために電気自動車と充電設備との間で情報通信を行うことが求められる。しかし、急速充電では電気自動車と充電設備との間の情報通信が可能である一方、普通充電では規格上、車両の情報を取得していない。
【0005】
本発明は、電気自動車に対する充電方式として電気自動車と充電設備との間の情報通信を伴わない充電方式を用いる場合でも、電気自動車からの情報取得を可能とすることを目的とする。
【課題を解決するための手段】
【0006】
請求項1に記載された発明は、複数の充電口を有する電気自動車の一の充電口に装着される第1コネクタと、前記電気自動車における他の一の充電口に装着され、当該他の一の充電口に設けられたデータ通信を行うための充電口側端子に接続するプラグ側端子を有する第2コネクタと、前記第2コネクタを介して前記電気自動車から情報を取得する取得部と、前記取得部により取得された情報を処理する情報処理部と、前記情報処理部による処理結果に基づき、前記第1コネクタからの前記電気自動車に対する給電を制御する制御部と、を備えることを特徴とする、給電システムである。
請求項2に記載された発明は、前記第2コネクタは、前記他の一の充電口に設けられた充電口側端子のうち、給電以外に用いられる充電口側端子に接続されるプラグ側端子につながる回路を備え、前記回路は、当該回路を開放する開放部を備えることを特徴とする、請求項1に記載の給電システムである。
請求項3に記載された発明は、前記取得部は、前記制御部により前記電気自動車への給電が実行されていないことを条件の一つとして、当該電気自動車から情報を取得することを特徴とする、請求項1または請求項2に記載の給電システムである。
請求項4に記載された発明は、前記制御部は、前記電気自動車への給電中に、予め定められた時間設定に応じて給電を停止し、前記取得部は、前記制御部により給電が停止されているときに、前記電気自動車から情報を取得することを特徴とする、請求項3に記載の給電システムである。
請求項5に記載された発明は、前記取得部は、前記第1コネクタが前記電気自動車の前記一の充電口に接続されていないことを条件として、当該電気自動車から情報を取得することを特徴とする、請求項3に記載の給電システムである。
請求項6に記載された発明は、前記取得部は、前記第1コネクタが前記電気自動車の普通充電用の充電口に接続されていることを条件として、前記制御部による当該電気自動車への給電開始前に、当該電気自動車から情報を取得することを特徴とする、請求項3に記載の給電システムである。
請求項7に記載された発明は、電気自動車の充電口に接続して普通充電を行うための第1接続部と、前記電気自動車の急速充電が可能な充電口に設けられたデータ通信用の端子に接続する第2接続部と、前記第2接続部を介して前記電気自動車から情報を取得する取得部と、前記取得部により取得された情報を処理する情報処理部と、前記情報処理部による処理結果に基づき、前記第1接続部からの前記電気自動車に対する給電を制御する制御部と、を備えることを特徴とする、給電システムである。
【発明の効果】
【0007】
本発明によれば、電気自動車に対する充電方式として電気自動車と充電設備との間の情報通信を伴わない充電方式を用いる場合でも、電気自動車から情報を取得できる。
【図面の簡単な説明】
【0008】
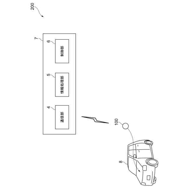
給電システムを含む第1の実施形態の一例を示す図である。
図2(a)は、電気自動車の充電口の一例を示す図である。図2(b)は、電気自動車の充電口に第1コネクタおよび第2コネクタを接続した状態を示す図である。
図3(a)は、急速充電器のコネクタのピン配置の一例を示す図であり、図3(b)は、第2コネクタのピン配置の一例を示す図である。
第2コネクタの機能構成を示す図である。
第2コネクタと電気自動車との接続関係を示す図である。
情報処理装置のハードウェア構成例を示す図である。
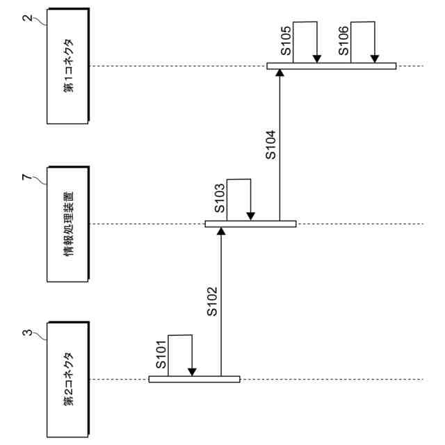
給電システムの動作を示すシーケンス図である。
第2の実施形態を示す図である。
通信装置の機能構成を示す図である。
【発明を実施するための形態】
【0009】
以下、添付図面を参照して、本発明の実施形態について説明する。
<給電システムの構成>
図1は、給電システム1を含む第1の実施形態の一例を示す図である。給電システム1は、充電器9と、情報処理装置7とを含んで構成される。充電器9は、電気自動車8への給電に用いる装置である。電気自動車8への給電に用いる充電器としては、普通充電器と急速充電器がある。普通充電は、交流電源から受電した交流電圧をそのまま車両に供給する充電方式である。急速充電は、交流電源から受電した交流電圧を直流電圧に変換して車両に供給する充電方式である。本実施形態の充電器9は、普通充電器である。
【0010】
電気自動車8には、急速充電用の充電口と普通充電用の充電口とが設けられる。急速充電用の充電口には、データ通信用の端子が設けられており、急速充電を行う際に充電口から電気自動車8の情報を取得できるように構成されている。一方、普通充電用の充電口には、デジタル通信用の端子が設けられておらず、普通充電を行う際にデータ交換により電気自動車8の情報を充電口から取得することはできない。
(【0011】以降は省略されています)
この特許をJ-PlatPat(特許庁公式サイト)で参照する
関連特許
東京瓦斯株式会社
バーナ
16日前
東京瓦斯株式会社
通信装置
1か月前
東京瓦斯株式会社
電力システム
2か月前
東京瓦斯株式会社
給電システム
1か月前
東京瓦斯株式会社
水電解システム
1か月前
東京瓦斯株式会社
データ管理装置
1か月前
東京瓦斯株式会社
電動車両充電機器
1か月前
東京瓦斯株式会社
電力供給システム
1か月前
東京瓦斯株式会社
充電量把握システム
1か月前
東京瓦斯株式会社
電気自動車用充電コネクタ
2か月前
三浦工業株式会社
燃焼装置
2日前
三浦工業株式会社
燃焼装置
2日前
三浦工業株式会社
燃焼装置
1か月前
東京瓦斯株式会社
情報処理装置、及びプログラム
1か月前
株式会社LIXIL
可燃性ガス回収装置
1か月前
東洋ガスメーター株式会社
ガスメーター
2か月前
東京瓦斯株式会社
商品提示システム、及び商品提示プログラム
1か月前
大成建設株式会社
足場装置および足場構築方法
18日前
東京瓦斯株式会社
風況観測システム、風況観測方法、およびプログラム
26日前
東京瓦斯株式会社
炭素削減手段提案システムおよび炭素削減手段提案方法
2か月前
東京瓦斯株式会社
水電解セルスタック診断方法、水電解セルスタック診断システム
4日前
東京瓦斯株式会社
電気ヒータのスケール検知方法、電気ヒータのスケール検知装置、及び、電気ボイラ
2か月前
東京瓦斯株式会社
電力需給管理システム、蓄電池システムの制御方法、蓄電池システム、および外部システム
1か月前
東京瓦斯株式会社
二酸化炭素還元電極用カソードガス拡散層、二酸化炭素還元電極、及び、二酸化炭素電解セル
1か月前
東京瓦斯株式会社
アニオン交換膜形水電解用アノード触媒、アニオン交換膜形水電解用アノード触媒層、アニオン交換膜形水電解セル、及び水電解セルスタック
16日前
個人
単極モータ
26日前
個人
電気を重力で発電装置
3日前
キヤノン電子株式会社
モータ
2日前
キヤノン電子株式会社
モータ
10日前
株式会社アイシン
ロータ
26日前
株式会社アイシン
ロータ
1か月前
コーセル株式会社
電源装置
11日前
日星電気株式会社
ケーブル組立体
18日前
トヨタ自動車株式会社
モータ
2日前
トヨタ自動車株式会社
固定子
1か月前
株式会社デンソー
回転機
24日前
続きを見る
他の特許を見る