TOP
|
特許
|
意匠
|
商標
特許ウォッチ
Twitter
他の特許を見る
公開番号
2025161584
公報種別
公開特許公報(A)
公開日
2025-10-24
出願番号
2024064899
出願日
2024-04-12
発明の名称
アニオン交換膜形水電解用アノード触媒、アニオン交換膜形水電解用アノード触媒層、アニオン交換膜形水電解セル、及び水電解セルスタック
出願人
東京瓦斯株式会社
代理人
弁理士法人太陽国際特許事務所
主分類
C25B
11/093 20210101AFI20251017BHJP(電気分解または電気泳動方法;そのための装置)
要約
【課題】耐アルカリ性に優れるアニオン交換膜形水電解用アノード触媒、アニオン交換膜形水電解用アノード触媒層、アニオン交換膜形水電解セル、及び水電解セルスタックの提供。
【解決手段】Aサイトイオンに、カルシウムイオン、ストロンチウムイオン及びバリウムイオンからなる群より選ばれる少なくとも1種を含み、かつ、Bサイトイオンに、4価の金属イオン及びイリジウムイオンを含むペロブスカイト型構造を有し、上記Bサイトイオンに含まれる全ての金属イオンの合計モル濃度に対する上記イリジウムイオンのモル濃度の比が、0.30以上0.57以下の範囲であり、アルカリ溶液中において、下記式(I)による酸素発生反応が起こる、アニオン交換膜形水電解用アノード触媒及びその応用。
4OH
-
→ 2H
2
O + O
2
+ 4e
-
(I)
【選択図】なし
特許請求の範囲
【請求項1】
Aサイトイオンに、カルシウムイオン、ストロンチウムイオン及びバリウムイオンからなる群より選ばれる少なくとも1種を含み、かつ、Bサイトイオンに、4価の金属イオン及びイリジウムイオンを含むペロブスカイト型構造を有し、
前記Bサイトイオンに含まれる全ての金属イオンの合計モル濃度に対する前記イリジウムイオンのモル濃度の比が、0.30以上0.57以下の範囲であり、
アルカリ溶液中において、下記式(I)による酸素発生反応が起こる、アニオン交換膜形水電解用アノード触媒。
4OH
-
→ 2H
2
O + O
2
+ 4e
-
(I)
続きを表示(約 860 文字)
【請求項2】
前記4価の金属イオンが、チタンイオン、ジルコニウムイオン、及びスズイオンからなる群より選ばれる少なくとも1種を含む、請求項1に記載のアニオン交換膜形水電解用アノード触媒。
【請求項3】
前記Bサイトイオンに含まれる全ての金属イオンの合計モル濃度に対する前記イリジウムイオンのモル濃度の比が、0.31以上0.55以下の範囲である、請求項1に記載のアニオン交換膜形水電解用アノード触媒。
【請求項4】
前記Bサイトイオンに含まれる全ての金属イオンの合計モル濃度に対する前記イリジウムイオンのモル濃度の比が、0.34以上0.53以下の範囲である、請求項1に記載のアニオン交換膜形水電解用アノード触媒。
【請求項5】
請求項1~請求項4のいずれか1項に記載のアニオン交換膜形水電解用アノード触媒と、アイオノマーとを含み、
単位面積当たりのイリジウムの量に対する単位面積当たりのアイオノマーの量の比が、0を超えて0.32以下の範囲である、アニオン交換膜形水電解用アノード触媒層。
【請求項6】
前記単位面積当たりのイリジウムの量に対する単位面積当たりのアイオノマーの量の比が、0を超えて0.29以下の範囲である、請求項5に記載のアニオン交換膜形水電解用アノード触媒層。
【請求項7】
前記単位面積当たりのイリジウムの量に対する単位面積当たりのアイオノマーの量の比が、0を超えて0.25以下の範囲である、請求項5に記載のアニオン交換膜形水電解用アノード触媒層。
【請求項8】
アノードセパレータと、アノードガス拡散層と、請求項5に記載のアニオン交換膜形水電解用アノード触媒層と、電解質膜と、カソード触媒層と、カソードガス拡散層と、カソードセパレータと、を備えるアニオン交換膜形水電解セル。
【請求項9】
請求項8に記載のアニオン交換膜形水電解セルを複数積層させた水電解セルスタック。
発明の詳細な説明
【技術分野】
【0001】
本開示は、アニオン交換膜形水電解用アノード触媒、アニオン交換膜形水電解用アノード触媒層、アニオン交換膜形水電解セル、及び水電解セルスタックに関する。
続きを表示(約 3,300 文字)
【背景技術】
【0002】
水の電気分解(以下、「水電解」という場合がある。)は、電気分解によって水から水素及び酸素を生成する方法である。例えば、エネルギー源として水素を利用する技術において、水電解は、持続可能な水素生成のための有望な技術である。
【0003】
ところで、水電解に用いるセル(所謂、水電解セル)は、例えば、アノードセパレータ、アノードガス拡散層、アノード触媒層、電解質膜、カソード触媒層、カソードガス拡散層、及びカソードセパレータを備えている。水電解に用いられるアノード触媒については、水電解に適した特性を備えていることが求められ、種々の研究がなされている。
【0004】
例えば、特許文献1には、Aサイトイオンに2価又は3価の金属イオンと、Bサイトイオンに4価又は3価の金属イオン(但し、イリジウムイオンを除く)とイリジウムイオンと、を含むペロブスカイト型構造を有する酸化物を含み、上記Aサイトイオンがストロンチウムイオンを含む場合に上記Bサイトイオンに少なくともスズイオンを含み、或いは、上記Aサイトイオンがカルシウムイオンを含む、又は上記Bサイトイオンがジルコニウムイオンを含み、上記Bサイトイオンのイオン半径(Å)をr
B
、上記Bサイトイオンに含まれる4価又は3価の金属イオンiのイオン半径(Å)をr
i
、上記Bサイトイオンに含まれる4価又は3価の金属イオンiのモル濃度をm
i
、イリジウムイオンのイオン半径(Å)をr
Ir
、イリジウムイオンのモル濃度をm
Ir
とした場合に、ある特定の式で定義されるBサイトイオンとイリジウムイオンのイオン半径差(r
B
-r
Ir
)が、-0.0120~0.0700であるアノード触媒が開示されている。
【先行技術文献】
【特許文献】
【0005】
特許第7307845号公報
【発明の概要】
【発明が解決しようとする課題】
【0006】
近年、アニオン交換膜(AEM:Anion Exchange Membrane)を用いた水電解に関する技術の開発が進められている。アニオン交換膜形水電解セルの電極反応は、アルカリ水電解と同様に、水酸化物イオン(OH
-
)をキャリアとし、アルカリ性の水溶液を使用する。このため、アノード触媒は、水電解中にアルカリ雰囲気に晒され、触媒が短寿命化するおそれがあり、耐アルカリ性に優れるアノード触媒の開発が求められている。
【0007】
本開示の一実施形態が解決しようとする課題は、耐アルカリ性に優れるアニオン交換膜形水電解用アノード触媒を提供することにある。
本開示の他の実施形態が解決しようとする課題は、上記アニオン交換膜形水電解用アノード触媒を含むアニオン交換膜形水電解用アノード触媒層、アニオン交換膜形水電解セル、及び水電解セルスタックを提供することにある。
【課題を解決するための手段】
【0008】
課題を解決するための具体的手段には、以下の態様が含まれる。
<1> Aサイトイオンに、カルシウムイオン、ストロンチウムイオン及びバリウムイオンからなる群より選ばれる少なくとも1種を含み、かつ、Bサイトイオンに、4価の金属イオン及びイリジウムイオンを含むペロブスカイト型構造を有し、
上記Bサイトイオンに含まれる全ての金属イオンの合計モル濃度に対する上記イリジウムイオンのモル濃度の比〔イリジウムイオンのモル濃度/Bサイトイオンに含まれる全ての金属イオンの合計モル濃度〕が、0.30以上0.57以下の範囲であり、
アルカリ溶液中において、下記式(I)による酸素発生反応が起こる、アニオン交換膜形水電解用アノード触媒。
4OH
-
→ 2H
2
O + O
2
+ 4e
-
(I)
<2> 上記4価の金属イオンが、チタンイオン、ジルコニウムイオン、及びスズイオンからなる群より選ばれる少なくとも1種を含む、<1>に記載のアニオン交換膜形水電解用アノード触媒。
<3> 上記Bサイトイオンに含まれる全ての金属イオンの合計モル濃度に対する上記イリジウムイオンのモル濃度の比〔イリジウムイオンのモル濃度/Bサイトイオンに含まれる全ての金属イオンの合計モル濃度〕が、0.31以上0.55以下の範囲である、<1>又は<2>に記載のアニオン交換膜形水電解用アノード触媒。
<4> 上記Bサイトイオンに含まれる全ての金属イオンの合計モル濃度に対する上記イリジウムイオンのモル濃度の比〔イリジウムイオンのモル濃度/Bサイトイオンに含まれる全ての金属イオンの合計モル濃度〕が、0.34以上0.53以下の範囲である、<1>又は<2>に記載のアニオン交換膜形水電解用アノード触媒。
<5> <1>~<4>のいずれか1つに記載のアニオン交換膜形水電解用アノード触媒と、アイオノマーとを含み、
単位面積当たりのイリジウムの量に対する単位面積当たりのアイオノマーの量の比〔単位面積当たりのアイオノマーの量/単位面積当たりのイリジウムの量〕が、0を超えて0.32以下の範囲である、アニオン交換膜形水電解用アノード触媒層。
<6> 上記単位面積当たりのイリジウムの量に対する単位面積当たりのアイオノマーの量の比〔単位面積当たりのアイオノマーの量/単位面積当たりのイリジウムの量〕が、0を超えて0.29以下の範囲である、<5>に記載のアニオン交換膜形水電解用アノード触媒層。
<7> 上記単位面積当たりのイリジウムの量に対する単位面積当たりのアイオノマーの量の比〔単位面積当たりのアイオノマーの量/単位面積当たりのイリジウムの量〕が、0を超えて0.25以下の範囲である、<5>に記載のアニオン交換膜形水電解用アノード触媒層。
<8> アノードセパレータと、アノードガス拡散層と、<5>~<7>のいずれか1つに記載のアニオン交換膜形水電解用アノード触媒層と、電解質膜と、カソード触媒層と、カソードガス拡散層と、カソードセパレータと、を備えるアニオン交換膜形水電解セル。
<9> <8>に記載のアニオン交換膜形水電解セルを複数積層させた水電解セルスタック。
【発明の効果】
【0009】
本開示の一実施形態によれば、耐アルカリ性に優れるアニオン交換膜形水電解用アノード触媒が提供される。
本開示の他の実施形態によれば、上記アニオン交換膜形水電解用アノード触媒を含むアニオン交換膜形水電解用アノード触媒層、アニオン交換膜形水電解セル、及び水電解セルスタックが提供される。
【図面の簡単な説明】
【0010】
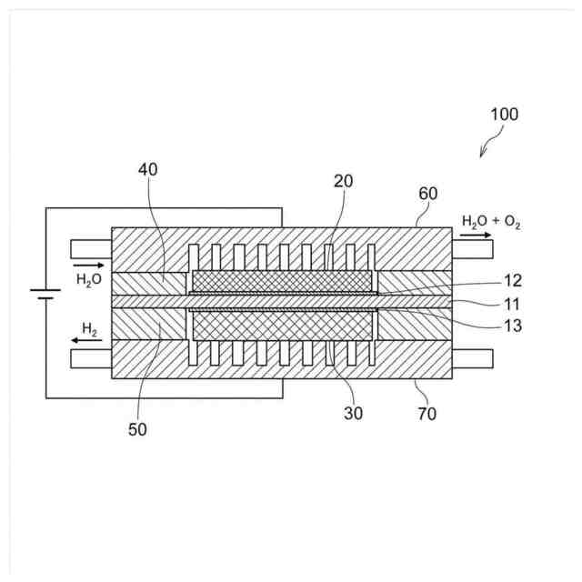
図1は、本開示の一実施形態に係る水電解セルの概略断面図である。
図2は、アルカリ環境下で通電試験を実施した実施例及び比較例における、アノード触媒層のlog{電流密度(mA/cm
2
)}と、アノード触媒におけるBサイトイオンに含まれる全ての金属イオンの合計モル濃度に対するイリジウムイオンのモル濃度の比[イリジウムイオンのモル濃度/Bサイトイオンに含まれる全ての金属イオンの合計モル濃度]との関係を示すグラフである。
図3は、アルカリ環境下で通電試験を実施した実施例及び比較例における、アノード触媒層のlog{電流密度(mA/cm
2
)}と、アノード触媒層における単位面積当たりのイリジウムの量に対する単位面積当たりのアイオノマーの量の比[単位面積当たりのアイオノマーの量/単位面積当たりのイリジウムの量]との関係を示すグラフである。
【発明を実施するための形態】
(【0011】以降は省略されています)
この特許をJ-PlatPat(特許庁公式サイト)で参照する
関連特許
東京瓦斯株式会社
バーナ
1か月前
東京瓦斯株式会社
通信装置
2か月前
東京瓦斯株式会社
給電システム
2か月前
東京瓦斯株式会社
データ管理装置
2か月前
東京瓦斯株式会社
水電解システム
2か月前
東京瓦斯株式会社
電動車両充電機器
2か月前
東京瓦斯株式会社
電力供給システム
1か月前
東京瓦斯株式会社
電力供給システム
10日前
東京瓦斯株式会社
充電量把握システム
2か月前
三浦工業株式会社
燃焼装置
2か月前
三浦工業株式会社
燃焼装置
1か月前
三浦工業株式会社
燃焼装置
1か月前
東京瓦斯株式会社
情報処理装置、及びプログラム
2か月前
株式会社LIXIL
可燃性ガス回収装置
2か月前
東京瓦斯株式会社
商品提示システム、及び商品提示プログラム
2か月前
大成建設株式会社
足場装置および足場構築方法
1か月前
東京瓦斯株式会社
風況観測システム、風況観測方法、およびプログラム
1か月前
東京瓦斯株式会社
水電解セルスタック診断方法、水電解セルスタック診断システム
1か月前
東京瓦斯株式会社
電力需給管理システム、蓄電池システムの制御方法、蓄電池システム、および外部システム
2か月前
東京瓦斯株式会社
アニオン交換膜形水電解用アノード触媒、アニオン交換膜形水電解用アノード触媒層、アニオン交換膜形水電解セル、及び水電解セルスタック
1か月前
株式会社堤水素研究所
水電解装置
1か月前
株式会社神戸製鋼所
接点材料
1か月前
株式会社カネカ
可撓性ガス拡散電極
2か月前
本田技研工業株式会社
電解装置
2か月前
株式会社ケミカル山本
電解研磨装置用電極
1か月前
一般財団法人電力中央研究所
電解反応装置
2か月前
本田技研工業株式会社
水電解スタック
2か月前
本田技研工業株式会社
差圧式電解装置
1か月前
SECカーボン株式会社
カソードアセンブリ
2か月前
本田技研工業株式会社
CO2電解装置
2か月前
東レ株式会社
液体電解用多孔質輸送層およびその製造方法
1か月前
株式会社荏原製作所
蒸気発電プラント
1か月前
メルテックス株式会社
極薄電解銅箔及びその製造方法
1か月前
古河電気工業株式会社
端子
2か月前
本田技研工業株式会社
電解セルの製造方法
2か月前
NOK株式会社
セルユニット
2か月前
続きを見る
他の特許を見る