TOP
|
特許
|
意匠
|
商標
特許ウォッチ
Twitter
他の特許を見る
10個以上の画像は省略されています。
公開番号
2025177201
公報種別
公開特許公報(A)
公開日
2025-12-05
出願番号
2024083807
出願日
2024-05-23
発明の名称
電力変換装置
出願人
富士電機株式会社
代理人
個人
,
個人
主分類
H02M
7/48 20070101AFI20251128BHJP(電力の発電,変換,配電)
要約
【課題】厚みが大きくなることを抑制しながら冷却能力をより向上させることが可能な電力変換装置およびエレベータ用制御盤を提供する。
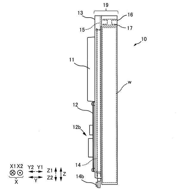
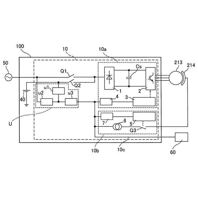
【解決手段】制御盤100は、制御盤筐体101と、制御盤筐体101に収容されるインバータユニット10とを備え、インバータユニット10は、エレベータ200に関する機能を追加する機能回路としてのブレーキ回路10bおよびUPS回路U、および、入力された直流電力を交流電力に変換する電力変換回路10aを構成する複数の回路素子Eが配置される回路基板14と、回路基板14を収容する筐体19とを備え、筐体19は、複数の回路素子Eを冷却する冷却風が通る風洞部wを含み、複数の回路素子Eの少なくとも一部は、風洞部wの内部に突出するように配置されている。
【選択図】図8
特許請求の範囲
【請求項1】
エレベータ用制御盤内に設けられる電力変換装置であって、
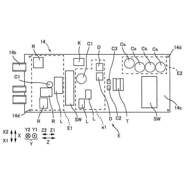
エレベータに関する機能を追加する機能回路、および、入力された直流電力を交流電力に変換する電力変換回路を構成する複数の回路素子が配置される回路基板と、
前記回路基板を収容する筐体とを備え、
前記筐体は、前記複数の回路素子を冷却する冷却風が通る風洞部を含み、
前記複数の回路素子の少なくとも一部は、前記風洞部の内部に突出するように配置されている、電力変換装置。
続きを表示(約 1,100 文字)
【請求項2】
前記回路基板と前記風洞部とは、前記冷却風の流れる第1方向に直交する第2方向に積層されており、
前記複数の回路素子の少なくとも一部は、前記第2方向のうち前記風洞部に向かう方向に突出するように配置されている、請求項1に記載の電力変換装置。
【請求項3】
前記風洞部は、前記回路基板と対向する側の第1面に開口部を含み、
前記複数の回路素子の少なくとも一部は、前記第1面に設けられた前記開口部を介して、前記風洞部の内部に突出するように配置されている、請求項2に記載の電力変換装置。
【請求項4】
前記風洞部は、隔壁を含み、
前記隔壁は、前記風洞部を、前記複数の回路素子のうち発熱量の大きな第1素子が配置される第1風洞部と、前記複数の回路素子のうち発熱量の小さな第2素子が配置される第2風洞部とに区画するように構成されている、請求項3に記載の電力変換装置。
【請求項5】
前記回路基板は、スイッチング素子を備え、
前記第1風洞部の内部には、前記スイッチング素子に固定されたヒートシンクが配置されている、請求項4に記載の電力変換装置。
【請求項6】
前記第1風洞部は、前記第2風洞部に比べて大きい体積を有するように構成されている、請求項4に記載の電力変換装置。
【請求項7】
前記隔壁の一方側の端部は、前記風洞部の前記第1方向および前記第2方向の両方に直交する第3方向の側面に接続されていることにより、前記第1風洞部と前記第2風洞部とを区画し、
前記第1風洞部は、前記第1方向の端部に第1通風孔を含み、
前記第2風洞部は、前記側面に第2通風孔を含む、請求項6に記載の電力変換装置。
【請求項8】
前記風洞部は、前記第1風洞部および前記第2風洞部の両方を冷却する冷却ファンを含み、
前記冷却ファンは、前記第1風洞部に流れる前記冷却風の風量を、前記第2風洞部に流れる前記冷却風の風量より大きくするように構成されている、請求項7に記載の電力変換装置。
【請求項9】
前記冷却ファンは、第1ファンおよび第2ファンを含み、
前記第1ファンは前記第1風洞部を冷却し、
前記第2ファンは前記第1風洞部および前記第2風洞部を冷却する、請求項8に記載の電力変換装置。
【請求項10】
前記複数の回路素子の全ては、前記回路基板の面のうちの、前記風洞部と対向する側の面に配置されている、請求項1に記載の電力変換装置。
(【請求項11】以降は省略されています)
発明の詳細な説明
【技術分野】
【0001】
この発明は、電力変換装置に関し、特に、エレベータ用の制御盤内に配置される電力変換装置に関する。
続きを表示(約 2,100 文字)
【背景技術】
【0002】
従来、エレベータ用の制御盤内に配置される電力変換装置が知られている(たとえば、特許文献1参照)。
【0003】
上記特許文献1には、エレベータの昇降路内に設置された制御盤の内部に、エレベータに関する複数の機能を含んだ回路と、エレベータの乗りかごを昇降させるためのモータに電力供給を行う回路とを含むプリント基板が開示されている。また、上記特許文献1のプリント基板は、冷却フィンの上に積層して配置され、プリント基板に配置された複数の回路素子は、冷却フィンを介して熱を放出している。すなわち、上記特許文献1のプリント基板には、複数の機能を含む回路が1枚の基板に配置されるため、インバータ主回路を内部に含むIPM(インテリジェントパワーモジュール)に加えて、スナバコンデンサおよび駆動素子などの複数の回路素子が多く配置された状態で、冷却フィンの上に配置されている。
【先行技術文献】
【特許文献】
【0004】
特許第6188563号公報
【発明の概要】
【発明が解決しようとする課題】
【0005】
上記の通り、上記特許文献1には、複数の機能を含む回路が配置されたプリント基板は、インバータ主回路を内部に備えるIPM(インテリジェントパワーモジュール)に加えて、スナバコンデンサおよび駆動素子などの複数の回路素子を多く配置した状態で、冷却フィンの上に配置されている。しかしながら、上記特許文献1では、プリント基板に多くの複数の素子を配置することにより、プリント基板の枚数を減少させて厚みが大きくなることを抑制可能である一方、複数の回路素子が配置された回路基板を冷却する場合には、発熱する回路素子の数が多いことにより、冷却フィンに配置するだけでは、複数の回路素子を十分に冷却できない場合がある。そのため、回路素子が熱により故障してしまう場合がある。したがって、厚みが大きくなることを抑制しながら冷却能力をより向上させることが可能な電力変換装置およびエレベータ用制御盤が望まれている。
【0006】
この発明は、上記のような課題を解決するためになされたものであり、この発明の1つの目的は、厚みが大きくなることを抑制しながら冷却能力をより向上させることが可能な電力変換装置およびエレベータ用制御盤を提供することである。
【課題を解決するための手段】
【0007】
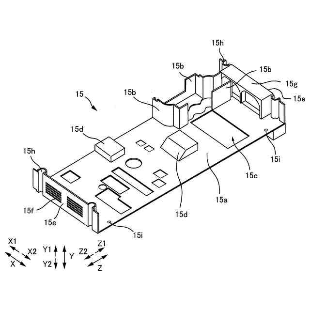
上記目的を達成するために、この発明の第1の局面による電力変換装置は、エレベータ用制御盤内に設けられる電力変換装置であって、エレベータに関する機能を追加する機能回路、および、入力された直流電力を交流電力に変換する電力変換回路を構成する複数の回路素子が配置される回路基板と、回路基板を収容する筐体とを備え、筐体は、複数の回路素子を冷却する冷却風が通る風洞部を含み、複数の回路素子の少なくとも一部は、風洞部の内部に突出するように配置されている。
【0008】
この発明の第1の局面による電力変換装置は、上記のように、エレベータに関する機能を追加する機能回路、および、入力された直流電力を交流電力に変換する電力変換回路を構成する複数の回路素子が配置される回路基板を備え、筐体は、複数の回路素子を冷却する冷却風が通る風洞部を含み、複数の回路素子の少なくとも一部は、風洞部の内部に突出するように構成されている。これにより、複数の回路素子の少なくとも一部を風洞部内の冷却風に直接当てることができるため、高い冷却能力が得られる。また、複数の機能を含む回路が1枚の回路基板に配置されているため、複数の機能ごとに回路基板を複数枚積層して設ける場合に比べて、厚みが大きくなることを抑制することができる。さらに、回路基板を風洞部に積層して配置する場合にも、複数の回路素子の少なくとも一部が、風洞部の内部に突出するため、複数の回路素子の全てが風洞部の外部に配置された回路基板を積層する場合に比べて、回路基板と風洞部との積層する方向の高さを小さくすることができる。その結果、電力変換装置は、厚みが大きくなることを抑制しながら冷却能力をより向上させることができる。
【0009】
上記第1の局面による電力変換装置において、好ましくは、回路基板と風洞部とは、冷却風の流れる第1方向に直交する第2方向に積層されており、複数の回路素子の少なくとも一部は、第2方向のうち風洞部に向かう方向に突出するように配置されている。このように構成すれば、回路素子が、冷却風の流れる第1方向に直交する第2方向のうち風洞部に向かう方向に突出しているため、突出した回路素子の側面に対して効率よく第1方向に流れる冷却風を当てることができる。
【0010】
この場合、好ましくは、風洞部は、回路基板と対向する側の第1面に開口部を含み、複数の回路素子の少なくとも一部は、第1面に設けられた開口部を介して、風洞部の内部に突出するように配置されている。このように構成すれば、冷却したい回路素子を、開口部を介して、容易に風洞部に突出させることができる。
(【0011】以降は省略されています)
この特許をJ-PlatPat(特許庁公式サイト)で参照する
関連特許
富士電機株式会社
冷却装置
8日前
富士電機株式会社
駆動回路
1か月前
富士電機株式会社
集積回路
8日前
富士電機株式会社
半導体装置
9日前
富士電機株式会社
電磁接触器
16日前
富士電機株式会社
パネル構造
8日前
富士電機株式会社
パネル構造
8日前
富士電機株式会社
半導体装置
1か月前
富士電機株式会社
自動販売機
9日前
富士電機株式会社
半導体装置
22日前
富士電機株式会社
半導体装置
1日前
富士電機株式会社
自動販売機
1か月前
富士電機株式会社
飲料供給装置
8日前
富士電機株式会社
金銭処理装置
1か月前
富士電機株式会社
硬貨処理装置
1か月前
富士電機株式会社
飲料抽出装置
1か月前
富士電機株式会社
硬貨処理装置
1か月前
富士電機株式会社
学習システム
1か月前
富士電機株式会社
商品収納装置
2か月前
富士電機株式会社
電力変換装置
1日前
富士電機株式会社
自動販売装置
1か月前
富士電機株式会社
紙幣処理装置
1日前
富士電機株式会社
ショーケース
2か月前
富士電機株式会社
電力変換装置
1日前
富士電機株式会社
ガス処理システム
1か月前
富士電機株式会社
半導体モジュール
1か月前
富士電機株式会社
半導体モジュール
1か月前
富士電機株式会社
半導体モジュール
1か月前
富士電機株式会社
自動販売機システム
8日前
富士電機株式会社
制御装置、制御方法
1か月前
富士電機株式会社
エレベータ用制御盤
1日前
富士電機株式会社
制御装置、制御方法
1日前
富士電機株式会社
集積回路、電源回路
1か月前
富士電機株式会社
自動販売機システム
9日前
富士電機株式会社
店舗情報設定システム
1か月前
富士電機株式会社
セーフリスト管理方法
1か月前
続きを見る
他の特許を見る