TOP
|
特許
|
意匠
|
商標
特許ウォッチ
Twitter
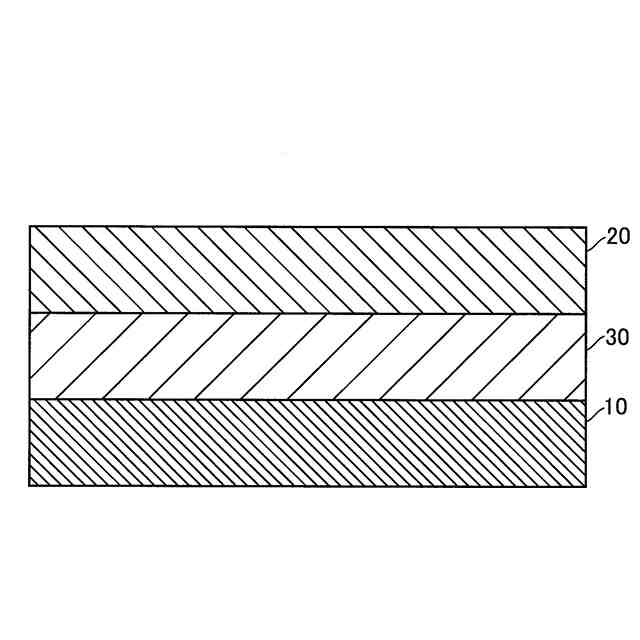
他の特許を見る
10個以上の画像は省略されています。
公開番号
2025162878
公報種別
公開特許公報(A)
公開日
2025-10-28
出願番号
2024066365
出願日
2024-04-16
発明の名称
飲料抽出装置
出願人
富士電機株式会社
代理人
個人
,
個人
主分類
A47J
31/10 20060101AFI20251021BHJP(家具;家庭用品または家庭用設備;コーヒーひき;香辛料ひき;真空掃除機一般)
要約
【課題】清掃の負担を軽減することが可能な飲料抽出装置を提供する。
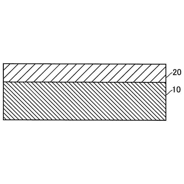
【解決手段】この飲料抽出装置100では、抽出部1と供給管3とのうち少なくとも一方の抽出液が通過する部分10には、ダイヤモンドライクカーボンを含むダイヤモンドライクカーボン層20が設けられている。
【選択図】図1
特許請求の範囲
【請求項1】
粉末原料および液体が供給され、抽出液を抽出する抽出部と、
前記抽出部によって抽出された前記抽出液をろ過するろ過部と、
前記ろ過部によりろ過された前記抽出液を飲料として飲料用容器に供給する供給管と、を備え、
前記抽出部と前記供給管とのうち少なくとも一方の前記抽出液が通過する部分には、ダイヤモンドライクカーボンを含むダイヤモンドライクカーボン層が設けられている、飲料抽出装置。
続きを表示(約 670 文字)
【請求項2】
前記抽出部と前記供給管とのうち少なくとも一つは、樹脂または金属により形成されているとともに、前記抽出液が通過する部分の表面に前記ダイヤモンドライクカーボン層が設けられている、請求項1に記載の飲料抽出装置。
【請求項3】
前記抽出部と前記供給管とのうち少なくとも一方は、前記抽出液が通過する部分と前記ダイヤモンドライクカーボン層との間に前記ダイヤモンドライクカーボン層と前記抽出液が通過する部分との密着性を向上させる中間層が設けられている、請求項2に記載の飲料抽出装置。
【請求項4】
前記抽出部と前記供給管とのうち少なくとも一方の前記抽出液が通過する部分には、グラファイト構造よりもダイヤモンド構造の割合が多い前記ダイヤモンドライクカーボン層が設けられている、請求項1に記載の飲料抽出装置。
【請求項5】
前記抽出部に供給される二価以上の酸である多塩基酸が貯蔵される多塩基酸貯蔵部を備え、
前記抽出部の前記抽出液が通過する部分と前記供給管の前記抽出液が通過する部分とは、前記多塩基酸により洗浄されるとともに、前記多塩基酸による被膜が形成されている、請求項1に記載の飲料抽出装置。
【請求項6】
前記多塩基酸は、クエン酸であり、
前記抽出部の前記抽出液が通過する部分と前記供給管の前記抽出液が通過する部分とを、前記クエン酸により洗浄するとともに、前記クエン酸による被膜を形成する制御を行う制御部をさらに備える、請求項5に記載の飲料抽出装置。
発明の詳細な説明
【技術分野】
【0001】
この発明は、飲料抽出装置に関し、特に抽出部を備える飲料抽出装置に関する。
続きを表示(約 1,700 文字)
【背景技術】
【0002】
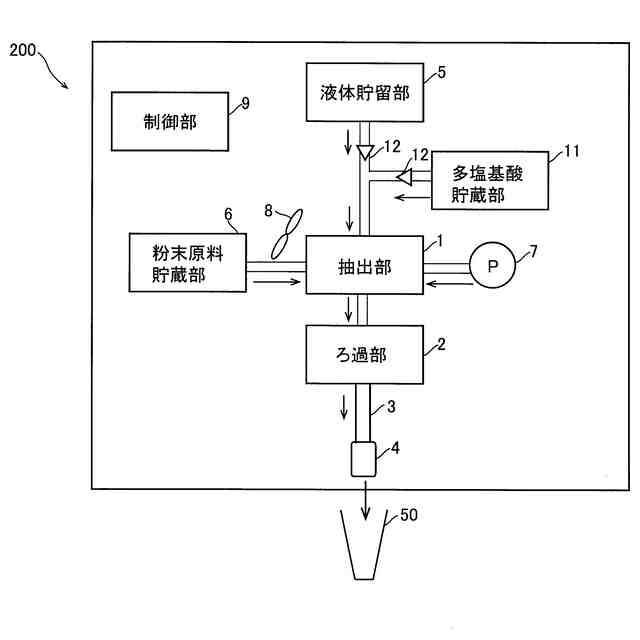
従来、抽出部を備える飲料抽出装置が知られている(たとえば、特許文献1参照)。
【0003】
上記特許文献1には、粉末原料と湯とが供給される貯留容器(抽出部)と、貯留容器内で攪拌された攪拌液をろ過して抽出するフィルタ部と、ろ過された飲料としての攪拌液を搬送するシリコンチューブとを含む飲料抽出装置が開示されている。
【先行技術文献】
【特許文献】
【0004】
特開2020-162856号公報
【発明の概要】
【発明が解決しようとする課題】
【0005】
上記特許文献1には開示されていないが、飲料抽出装置では、抽出部(貯留容器)および供給管(シリコンチューブ)に抽出液の成分が付着するため、ユーザによる飲料抽出装置の清掃が行われる。しかしながら、抽出液の油分を含む成分は、付着すると容易に除去できず、清掃に手間がかかる。特に、店舗において使用される飲料抽出装置では、飲料抽出装置の使用頻度が多いことに起因して、抽出液の成分の付着量が多くなり、容易に除去できずにより手間がかかる。これに起因して、ユーザに負担がかかるため、清掃の負担を軽減することが可能な飲料抽出装置が望まれている。
【0006】
この発明は、上記のような課題を解決するためになされたものであり、この発明の1つの目的は、清掃の負担を軽減することが可能な飲料抽出装置を提供することである。
【課題を解決するための手段】
【0007】
上記目的を達成するために、本願発明者が鋭意検討した結果、抽出液が通過する部分にダイヤモンドライクカーボン層を設けることによって、抽出液の成分が付着するのを抑制可能なことを見出した。そして、本発明を完成させた。すなわち、この発明の一の局面による飲料抽出装置は、粉末原料および液体が供給され、抽出液を抽出する抽出部と、抽出部によって抽出された抽出液をろ過するろ過部と、ろ過部によりろ過された抽出液を飲料として飲料用容器に供給する供給管と、を備え、抽出部と供給管とのうち少なくとも一方の抽出液が通過する部分には、ダイヤモンドライクカーボンを含むダイヤモンドライクカーボン層が設けられている。
【0008】
この発明の一の局面による飲料抽出装置では、上記のように、抽出部と供給管とのうち少なくとも一方の抽出液が通過する部分には、ダイヤモンドライクカーボンを含むダイヤモンドライクカーボン層が設けられている。これにより、ダイヤモンドライクカーボン層を形成することにより、抽出液の成分が付着することを抑制することができる。本願発明者は後述する実験(実施例)により上記点を知得している。また、抽出液の成分が付着することを抑制することができるため、抽出液の成分の付着量が少なくなり、ユーザが容易に清掃することができる。この結果、清掃の負担を軽減することができる。
【0009】
上記一の局面による飲料抽出装置において、好ましくは、抽出部と供給管とのうち少なくとも一つは、樹脂または金属により形成されているとともに、抽出液が通過する部分の表面にダイヤモンドライクカーボン層が設けられている。このように構成すれば、抽出部と供給管とを金属または樹脂で形成した場合でも、表面にダイヤモンドライクカーボン層を設けることにより、抽出液の成分が付着することを抑制することができる。
【0010】
この場合、好ましくは、抽出部と供給管とのうち少なくとも一方は、抽出液が通過する部分とダイヤモンドライクカーボン層との間にダイヤモンドライクカーボン層と抽出液が通過する部分との密着性を向上させる中間層が設けられている。このように構成すれば、ダイヤモンドライクカーボン層と抽出液が通過する部分との密着性を向上させる中間層を設けることにより、抽出液が通過する部分とダイヤモンドライクカーボン層との結合力を大きくすることができるため、抽出液が通過する部分からダイヤモンドライクカーボン層が解離することを抑制することができる。
(【0011】以降は省略されています)
この特許をJ-PlatPat(特許庁公式サイト)で参照する
関連特許
富士電機株式会社
電磁接触器
今日
富士電機株式会社
半導体装置
6日前
富士電機株式会社
半導体モジュール
16日前
富士電機株式会社
制御回路および電源装置
16日前
富士電機株式会社
半導体装置及びその製造方法
今日
富士電機株式会社
換気システムおよび冷却装置
14日前
富士電機株式会社
スイッチング制御回路、電源回路
14日前
富士電機株式会社
半導体モジュール、及び、半導体装置
15日前
富士電機株式会社
炭化珪素半導体装置および炭化珪素半導体装置の製造方法
今日
富士電機株式会社
商品補充システム
13日前
富士電機株式会社
絶縁ゲート型バイポーラトランジスタ
13日前
富士電機株式会社
情報処理装置、ソフトウェア更新システム、ソフトウェア更新方法、およびソフトウェア更新プログラム
今日
富士電機株式会社
デバイス、半導体装置、ゲートドライバ、および、パワーモジュール
13日前
個人
箸
1か月前
個人
家具
4か月前
個人
椅子
3か月前
個人
自助箸
7か月前
個人
掃除機
8か月前
個人
掃除用具
3か月前
個人
耳拭き棒
11か月前
個人
ソファー
2か月前
個人
多用途紐
1か月前
個人
体洗い具
10か月前
個人
掃除道具
8か月前
個人
枕
5か月前
個人
屋外用箒
7か月前
個人
枕
8か月前
個人
ハンガー
7か月前
個人
開閉トング
6か月前
個人
組立式棚板
7か月前
個人
省煙消臭器
8か月前
個人
片手代替具
11か月前
個人
エコ掃除機
12か月前
個人
物品
3か月前
個人
掃除シート
9か月前
個人
中身のない枕
7か月前
続きを見る
他の特許を見る