TOP
|
特許
|
意匠
|
商標
特許ウォッチ
Twitter
他の特許を見る
10個以上の画像は省略されています。
公開番号
2025169676
公報種別
公開特許公報(A)
公開日
2025-11-14
出願番号
2024074625
出願日
2024-05-02
発明の名称
半導体装置
出願人
富士電機株式会社
代理人
弁理士法人扶桑国際特許事務所
主分類
H01L
23/48 20060101AFI20251107BHJP(基本的電気素子)
要約
【課題】はんだの劣化の進行を遅延することができる。
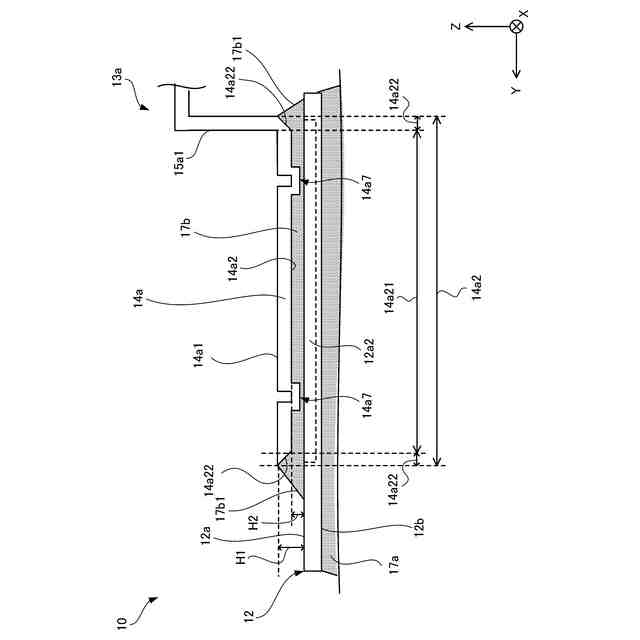
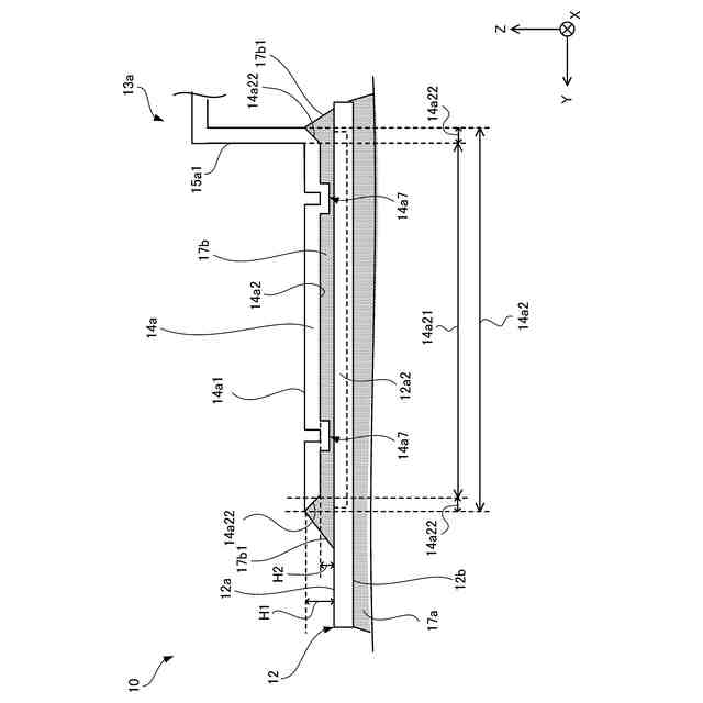
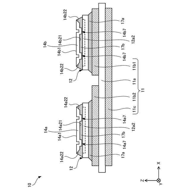
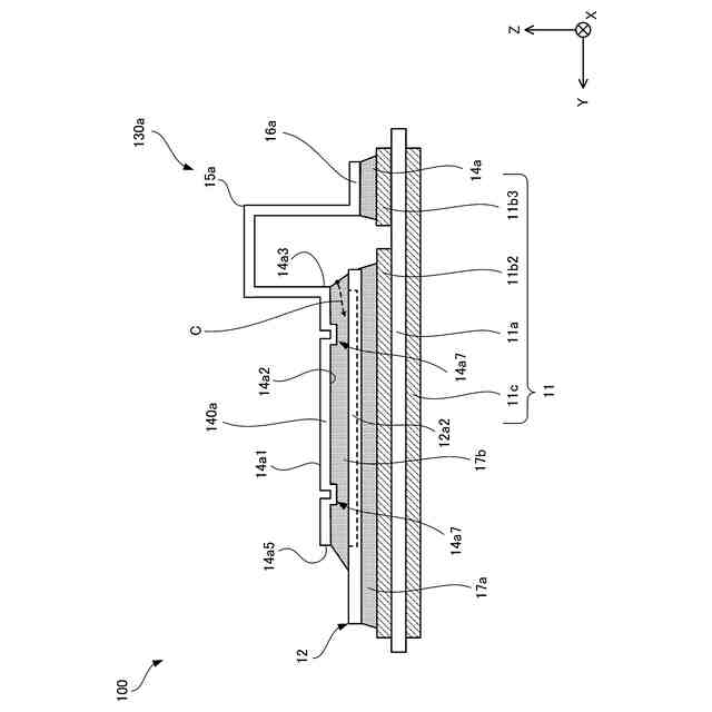
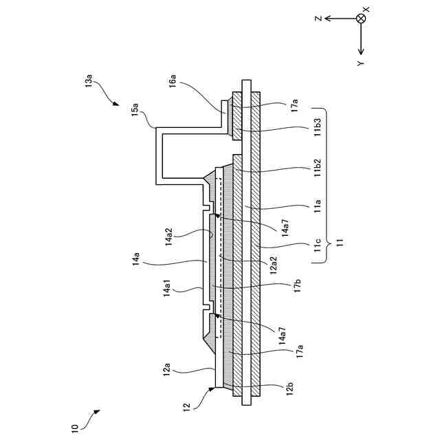
【解決手段】半導体装置では、主電極12a2を上面12aに、別の主電極を下面12bにそれぞれ含む半導体チップ12と、主電極12a2にはんだ17bを介して接合された接合面14a2を備え、平面視で接合面14a2が半導体チップ12の上面12a内に位置する主電極接合部14aと主電極接合部14aの外周から延伸する立ち上がり部15a1とを含むリードフレーム13aと、を含んでいる。さらに、接合面14a2の外縁領域14a22から半導体チップ12の上面12aまでの第1高さH1は、接合面14a2から外縁領域14a22を除いた中間領域14a21から半導体チップ12の上面12aまでの第2高さH2よりも大きい。
【選択図】図5
特許請求の範囲
【請求項1】
第1電極を上面に、第2電極を下面にそれぞれ含む半導体チップと、
前記第1電極にはんだを介して接合された接合面を備え、平面視で前記接合面が前記半導体チップの前記上面内に位置する接合部と前記接合部の外周から延伸する立ち上がり部とを含む配線部材と、
を含み、
前記接合面の外縁領域から前記半導体チップの前記上面までの第1高さは、前記接合面から前記外縁領域を除いた中間領域から前記半導体チップの前記上面までの第2高さよりも大きい、
半導体装置。
続きを表示(約 750 文字)
【請求項2】
前記はんだの前記接合面の前記外縁領域に接する外縁部分の第1厚さは、前記はんだの前記接合面の前記中間領域に接する中央部分の第2厚さよりも大きい、
請求項1に記載の半導体装置。
【請求項3】
前記第1厚さは、750μm以下であり、かつ、前記第2厚さは、150μm以上、350μm以下である、
請求項2に記載の半導体装置。
【請求項4】
前記はんだは、前記半導体チップの前記第1電極に対して、前記半導体チップに接する外周側面から、前記接合部の前記接合面の端部までの角度は、20°以上、45°以下である、
請求項2に記載の半導体装置。
【請求項5】
前記接合面の前記中間領域の四隅にそれぞれ設けられたボスをさらに含む、
請求項1に記載の半導体装置。
【請求項6】
前記接合面の前記中間領域の、前記四隅に加えて、外周に沿って複数のボスがさらに設けられている、
請求項5に記載の半導体装置。
【請求項7】
前記はんだは、Sn-0.7Cuである、
請求項1から6のいずれか一項に記載の半導体装置。
【請求項8】
前記はんだは、25℃で、ヤング率が50GPa以上、かつ、降伏点が30MPa以下である、
請求項1から6のいずれか一項に記載の半導体装置。
【請求項9】
前記はんだは、Sn-5Sbである、
請求項8に記載の半導体装置。
【請求項10】
前記接合部の前記接合面の前記外縁領域は、前記接合面の四隅に設けられている、
請求項1に記載の半導体装置。
(【請求項11】以降は省略されています)
発明の詳細な説明
【技術分野】
【0001】
本発明は、半導体装置に関する。
続きを表示(約 1,300 文字)
【背景技術】
【0002】
半導体装置では、導体板と導電板上にはんだにより接合された半導体チップと半導体チップの上面の電極にはんだにより接合されたリードフレームとを含んでいる(例えば、特許文献1~6を参照)。
【先行技術文献】
【特許文献】
【0003】
特開2017-079228号公報
特開2015-128194号公報
国際公開第2020/003495号
国際公開第2019/167102号
特開2013-004943号公報
国際公開第2023/119837号
【発明の概要】
【発明が解決しようとする課題】
【0004】
本発明は、はんだの劣化の進行を遅延することができる半導体装置を提供することを目的とする。
【課題を解決するための手段】
【0005】
本発明の一観点によれば、第1電極を上面に、第2電極を下面にそれぞれ含む半導体チップと、前記第1電極にはんだを介して接合された接合面を備え、平面視で前記接合面が前記半導体チップの前記上面内に位置する接合部と前記接合部の外周から延伸する立ち上がり部とを含む配線部材と、を含み、前記接合面の外縁領域から前記半導体チップの前記上面までの第1高さは、前記接合面から前記外縁領域を除いた中間領域から前記半導体チップの前記上面までの第2高さよりも大きい、半導体装置を提供する。
【0006】
また、前記はんだの前記接合面の前記外縁領域に接する外縁部分の第1厚さは、前記はんだの前記接合面の前記中間領域に接する中央部分の第2厚さよりも大きくてよい。
また、前記第1厚さは、750μm以下であり、かつ、前記第2厚さは、150μm以上、350μm以下であってよい。
【0007】
また、前記はんだは、前記半導体チップの前記第1電極に対して、前記半導体チップに接する外周側面から、前記接合部の前記接合面の端部までの角度は、20°以上、45°以下であってよい。
【0008】
また、前記接合面の前記中間領域の四隅にそれぞれ設けられたボスをさらに含んでよい。
また前記接合面の前記中間領域の、前記四隅に加えて、外周に沿って複数のボスがさらに設けられてよい。
また、前記はんだは、Sn-0.7Cuであってよい。
また、前記はんだは、25℃で、ヤング率が50GPa以上、かつ、降伏点が30MPa以下であってよい。
【0009】
また、前記はんだは、Sn-5Sbであってよい。
また、前記接合部の前記接合面の前記外縁領域は、前記接合面の四隅に設けられていてよい。
【0010】
また、前記接合部の前記接合面の前記外縁領域は、外側に向かうに連れて前記半導体チップの前記上面から離れるように傾斜してよい。
また、前記接合部に含まれる前記接合面の前記外縁領域は、前記外縁領域の端部が前記接合部の前記接合面の反対側の主面を超えて前記主面よりも上方となるように傾斜してよい。
(【0011】以降は省略されています)
この特許をJ-PlatPat(特許庁公式サイト)で参照する
関連特許
富士電機株式会社
駆動回路
16日前
富士電機株式会社
半導体装置
1日前
富士電機株式会社
半導体装置
29日前
富士電機株式会社
自動販売機
23日前
富士電機株式会社
硬貨処理装置
16日前
富士電機株式会社
ショーケース
1か月前
富士電機株式会社
自動販売装置
1か月前
富士電機株式会社
学習システム
25日前
富士電機株式会社
金銭処理装置
24日前
富士電機株式会社
飲料抽出装置
18日前
富士電機株式会社
硬貨処理装置
16日前
富士電機株式会社
半導体モジュール
1か月前
富士電機株式会社
半導体モジュール
22日前
富士電機株式会社
ガス処理システム
19日前
富士電機株式会社
半導体モジュール
11日前
富士電機株式会社
制御装置、制御方法
16日前
富士電機株式会社
集積回路、電源回路
29日前
富士電機株式会社
半導体装置の製造方法
1か月前
富士電機株式会社
店舗情報設定システム
25日前
富士電機株式会社
セーフリスト管理方法
16日前
富士電機株式会社
制御回路および電源装置
11日前
富士電機株式会社
制御回路および電力供給回路
1か月前
富士電機株式会社
冷却器及び半導体モジュール
22日前
富士電機株式会社
換気システムおよび冷却装置
9日前
富士電機株式会社
電力変換装置及びその制御方法
1か月前
富士電機株式会社
スイッチング制御回路、電源回路
9日前
富士電機株式会社
店舗内ショーケース制御システム
23日前
富士電機株式会社
スイッチング制御回路、電源回路
19日前
富士電機株式会社
ガス回収システム及びガス回収方法
18日前
富士電機株式会社
半導体モジュール、及び、半導体装置
10日前
富士電機株式会社
半導体装置の製造方法及び治具セット
18日前
富士電機株式会社
電力変換装置、制御装置及び制御方法
18日前
富士電機株式会社
部分放電測定装置及び部分放電測定方法
29日前
富士電機株式会社
紙幣処理装置及び新紙幣搬送動作確認方法
24日前
富士電機株式会社
制御支援装置、制御支援方法、及びプログラム
29日前
富士電機株式会社
監視システム、監視装置、監視方法、プログラム
11日前
続きを見る
他の特許を見る