TOP
|
特許
|
意匠
|
商標
特許ウォッチ
Twitter
他の特許を見る
10個以上の画像は省略されています。
公開番号
2025145986
公報種別
公開特許公報(A)
公開日
2025-10-03
出願番号
2024046534
出願日
2024-03-22
発明の名称
電磁接触器
出願人
富士電機株式会社
代理人
個人
,
個人
主分類
H01H
50/56 20060101AFI20250926BHJP(基本的電気素子)
要約
【課題】電磁接触器において、接点支えにおける軸回りのガタつきを効果的に抑制する。
【解決手段】接点支え16は、可動接触子15を支えている。電磁石17は、軸方向に沿って接点支え16を進退させる。固定板43は、電磁石17の固定側に固定され、軸方向から見て接点支え16の四隅に配置され、接点支え16に向かって突出し、夫々が平行である。可動板53は、接点支え16に固定され、電磁石17に向かって突出し、夫々が固定板43の内周面に対向している。
【選択図】図12
特許請求の範囲
【請求項1】
可動接触子を支える接点支えと、
軸方向に沿って前記接点支えを進退させる電磁石と、
前記電磁石の固定側に固定され、軸方向から見て前記接点支えの四隅に配置され、前記接点支えに向かって突出し、夫々が平行な第一の固定板と、
前記接点支えに固定され、前記電磁石に向かって突出し、夫々が前記第一の固定板の内周面に対向した第一の可動板と、を備えていることを特徴とする電磁接触器。
続きを表示(約 980 文字)
【請求項2】
前記電磁石の固定側に固定され、軸方向から見て前記第一の固定板と直交する二辺に配置され、前記接点支えに向かって突出し、夫々が平行な第二の固定板と、
前記接点支えに固定され、前記電磁石に向かって突出し、夫々が前記第二の固定板の内周面に対向した第二の可動板と、を備えていることを特徴とする請求項1に記載の電磁接触器。
【請求項3】
前記第一の可動板及び前記第二の可動板は、一つの金属板を曲げ加工して形成した可動ガイドであること特徴とする請求項2に記載の電磁接触器。
【請求項4】
前記電磁石は、軸方向に駆動されるシャフトを備え、
前記可動ガイドは、軸方向と直交する平面上に前記シャフトの一端が嵌り合う貫通穴が形成され、前記貫通穴に嵌り合った前記シャフトの先端を塑性変形させることで前記シャフトに連結されていることを特徴とする請求項3に記載の電磁接触器。
【請求項5】
前記可動ガイド及び前記シャフトは、インサート成形によって前記接点支えに固定されていることを特徴とする請求項4に記載の電磁接触器。
【請求項6】
前記可動ガイドは、平行な二辺に沿って曲げ加工することで互いに背向する前記第一の可動板が形成され、前記第一の可動板における外周面のうち前記辺が延びる方向の中央が前記接点支えによって覆われ、露出した両側が前記第一の固定板の内周面に対向していることを特徴とする請求項5に記載の電磁接触器。
【請求項7】
前記第一の可動板は、軸方向から見て前記可動接触子の通電方向に背向していることを特徴とする請求項6に記載の電磁接触器。
【請求項8】
前記第一の固定板及び前記第二の固定板は、一つの金属板を曲げ加工して形成した固定ガイドであること特徴とする請求項2に記載の電磁接触器。
【請求項9】
前記電磁石は、軸方向と直交する平面上に前記接点支えに向かって凸となる凸部が形成されたヨークを備え、
前記固定ガイドは、軸方向と直交する平面上に前記凸部と嵌まり合う貫通孔が形成され、前記貫通孔に嵌まり合った前記凸部の先端を塑性変形させることで前記ヨークに固定されていることを特徴とする請求項8に記載の電磁接触器。
発明の詳細な説明
【技術分野】
【0001】
本発明は、電磁接触器に関するものである。
続きを表示(約 2,100 文字)
【背景技術】
【0002】
特許文献1に開示された電磁接触器は、プランジャと共に進退する接点支えのうち対向する二辺の中央にガイドを設けることで、接点支えにおける軸回りの角度ずれを規制し開閉動作の安定化を図っている。
【先行技術文献】
【特許文献】
【0003】
特開2023-91238号公報
【発明の概要】
【発明が解決しようとする課題】
【0004】
接点支えの円滑な進退を実現するためにガイドには遊びが設けられており、対向する二辺の中央にだけガイドがある構造では軸回りにガタつきが生じることがあり、改善の余地があった。
本発明の目的は、電磁接触器において、接点支えにおける軸回りのガタつきを効果的に抑制することである。
【課題を解決するための手段】
【0005】
本発明の一態様に係る電磁接触器は、接点支えと、電磁石と、第一の固定板と、第一の可動板と、を備えている。接点支えは、可動接触子を支えている。電磁石は、軸方向に沿って接点支えを進退させる。第一の固定板は、電磁石の固定側に固定され、軸方向から見て接点支えの四隅に配置され、接点支えに向かって突出し、夫々が平行である。第一の可動板は、接点支えに固定され、電磁石に向かって突出し、夫々が第一の固定板の内周面に対向している。
【発明の効果】
【0006】
本発明によれば、接点支えの四隅で平行に設けられた第一の固定板の内周面に対して、第一の可動板が対向しているため、接点支えにおける軸回りのガタつきを効果的に抑制することができる。
【図面の簡単な説明】
【0007】
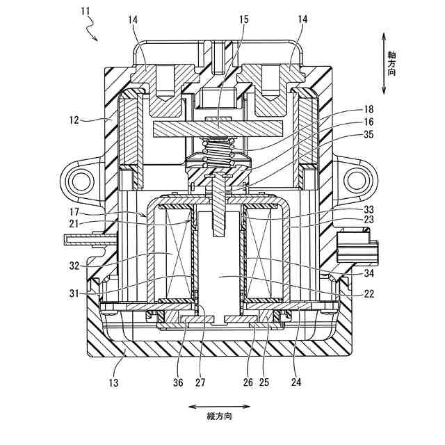
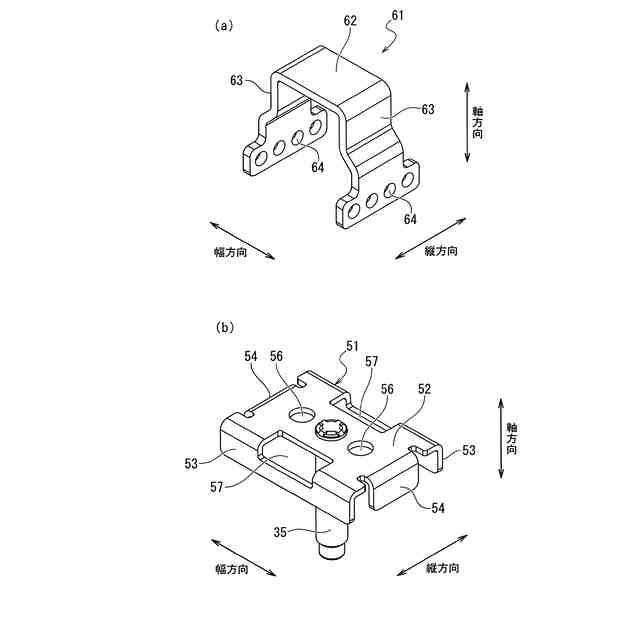
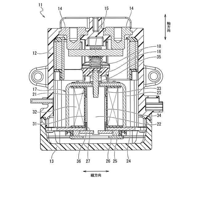
電磁接触器の外観を示す図である。
釈放状態にある電磁接触器の断面を示す図である。
投入状態にある電磁接触器の断面を示す図である。
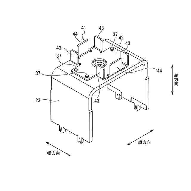
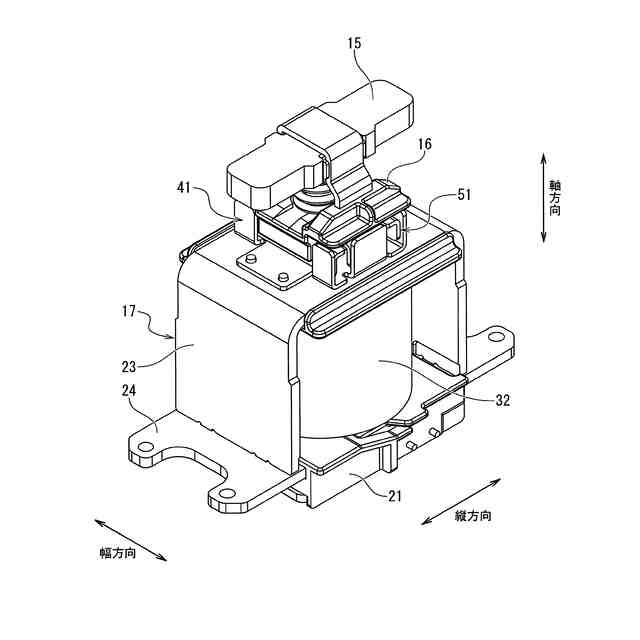
接点支え及び電磁石を示す図である。
外ヨークを示す図である。
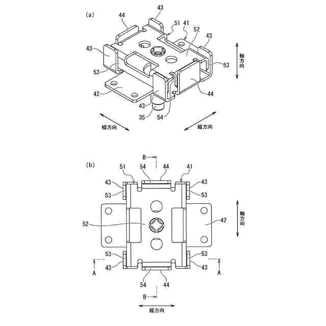
固定ガイドを示す図である。
外ヨーク及び固定ガイドを示す図である。
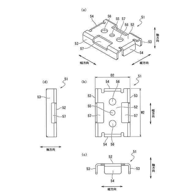
可動ガイドを示す図である。
接点支えにインサート成形される部品を示す図である。
接点支えを示す図である。
接点支えの断面を示す図である。
固定ガイド及び可動ガイドを示す図である。
固定ガイド及び可動ガイドの断面を示す図である。
固定ガイド及び可動ガイドを示す図である。
固定ガイド及び可動ガイドの断面を示す図である。
比較例の接点支え及び電磁石を示す図である。
【発明を実施するための形態】
【0008】
以下、本発明の実施形態を図面に基づいて説明する。なお、各図面は模式的なものであって、現実のものとは異なる場合がある。また、以下の実施形態は、本発明の技術的思想を具体化するための装置や方法を例示するものであり、構成を下記のものに特定するものでない。すなわち、本発明の技術的思想は、特許請求の範囲に記載された技術的範囲内において、種々の変更を加えることができる。
【0009】
《実施形態》
《構成》
以下の説明では、互いに直交する三方向を、便宜的に、縦方向、幅方向、及び軸方向とする。
図1は、電磁接触器11の外観を示す図である。
ここでは、電磁接触器11を、縦方向の一方、幅方向の一方、及び軸方向の一方から見た状態を示している。電磁接触器11は、ケース12と、カバー13と、を備えている。
ケース12は、絶縁性を有する樹脂製であり、縦方向の両側、幅方向の両側、及び軸方向の一方が閉塞され、軸方向の他方が開放された深型の容器状に形成されている。
カバー13は、絶縁性を有する樹脂製であり、縦方向の両側、幅方向の両側、及び軸方向の他方が閉塞され、軸方向の一方が開放された浅型の容器状に形成されている。カバー13は、ケース12における軸方向の他方に嵌め合わされ、例えばバインドタッピングねじによって締結され、密閉されている。
【0010】
ケース12及びカバー13の内部には、水素や窒素等の加圧された遮断用ガスが封入されている。そのため、ケース12とカバー13とをエポキシ系の接着剤で固定し、接着した箇所を含めた外周面の全てが粘土結晶の積層膜によってガスバリアコーティングされている。具体的には、精製したスメクタイトの層間イオンを置換し、PVA(ポリビニルアルコール)や水溶性ナイロン等の有機バインダーでつなぎ合わせることで、迷路効果を発現し、水素や窒素等のガス分子の透過を防いでいる。積層膜は厚み方向に積層されており、厚さは例えば2μmである。ガスバリアコーティングは、例えば塗液をミスト化してケース12及びカバー13に塗布するスプレー方式とし、例えば150℃以上の、層間イオンが粘土結晶内に取り込まれる温度で焼成されることで完成される。
(【0011】以降は省略されています)
この特許をJ-PlatPat(特許庁公式サイト)で参照する
関連特許
富士電機株式会社
駆動回路
10日前
富士電機株式会社
自動販売機
17日前
富士電機株式会社
半導体装置
23日前
富士電機株式会社
硬貨処理装置
10日前
富士電機株式会社
金銭処理装置
18日前
富士電機株式会社
飲料抽出装置
12日前
富士電機株式会社
自動販売装置
24日前
富士電機株式会社
硬貨処理装置
10日前
富士電機株式会社
学習システム
19日前
富士電機株式会社
半導体モジュール
16日前
富士電機株式会社
ガス処理システム
13日前
富士電機株式会社
半導体モジュール
5日前
富士電機株式会社
制御装置、制御方法
10日前
富士電機株式会社
集積回路、電源回路
23日前
富士電機株式会社
セーフリスト管理方法
10日前
富士電機株式会社
店舗情報設定システム
19日前
富士電機株式会社
半導体装置の製造方法
25日前
富士電機株式会社
制御回路および電源装置
5日前
富士電機株式会社
冷却器及び半導体モジュール
16日前
富士電機株式会社
制御回路および電力供給回路
24日前
富士電機株式会社
換気システムおよび冷却装置
3日前
富士電機株式会社
店舗内ショーケース制御システム
17日前
富士電機株式会社
スイッチング制御回路、電源回路
3日前
富士電機株式会社
スイッチング制御回路、電源回路
13日前
富士電機株式会社
ガス回収システム及びガス回収方法
12日前
富士電機株式会社
半導体装置の製造方法及び治具セット
12日前
富士電機株式会社
電力変換装置、制御装置及び制御方法
12日前
富士電機株式会社
半導体モジュール、及び、半導体装置
4日前
富士電機株式会社
部分放電測定装置及び部分放電測定方法
23日前
富士電機株式会社
紙幣処理装置及び新紙幣搬送動作確認方法
18日前
富士電機株式会社
制御支援装置、制御支援方法、及びプログラム
23日前
富士電機株式会社
監視システム、監視装置、監視方法、プログラム
5日前
富士電機株式会社
半導体モジュールおよび半導体モジュールの製造方法
24日前
富士電機株式会社
半導体装置
18日前
富士電機株式会社
管理システム、発電システムおよび太陽光パネルの管理方法
10日前
富士電機株式会社
セキュリティテスト実施装置およびセキュリティテスト実施方法
25日前
続きを見る
他の特許を見る