TOP
|
特許
|
意匠
|
商標
特許ウォッチ
Twitter
他の特許を見る
公開番号
2025143880
公報種別
公開特許公報(A)
公開日
2025-10-02
出願番号
2024043369
出願日
2024-03-19
発明の名称
回路遮断器
出願人
富士電機株式会社
,
富士電機機器制御株式会社
代理人
個人
,
個人
主分類
H01H
73/02 20060101AFI20250925BHJP(基本的電気素子)
要約
【課題】摺動接触子の摺動通電面及び可動接触子の基端部の発弧発生による溶着を防止し、可動接触子の限流開極動作速度を低下させず遮断性能の悪化を防止する回路遮断器を提供する。
【解決手段】前記可動接触子11を回動可能に支持するホルダユニット12は、可動接触子の基端部11bの両側面を挟み込むように配置した一対の摺動接触子31,32と、基端部に形成した可動接触子軸穴33、36と一対の摺動接触子に設けた摺動軸穴11cを貫通する可動子回転軸23と、摺動接触子の摺動軸穴の周囲に設けた摺動通電面34,37と可動接触子の基端部の両側面とを密着させる一対の摺動接触子接圧バネ25、26と、を備え、摺動通電面は、当該摺動通電面以外の摺動接触子と比較して剛性を弱めた形状35,38としている。
【選択図】図7
特許請求の範囲
【請求項1】
固定接点を有する固定接触子と、前記固定接点に接離する可動接点を有する可動接触子と、前記可動接触子を回動可能に支持するホルダユニットと、を有し、
前記ホルダユニットは、
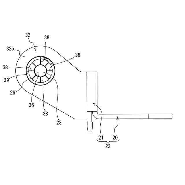
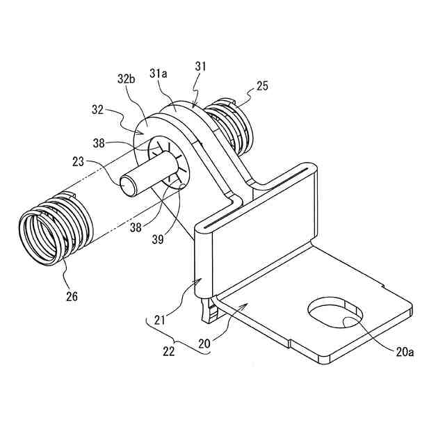
前記可動接触子の基端部の両側面を挟み込むように配置した一対の摺動接触子と、
前記基端部に形成した可動接触子軸穴と前記一対の摺動接触子に設けた摺動軸穴を貫通する可動子回転軸と、
前記摺動接触子の前記摺動軸穴の周囲に設けた摺動通電面と前記可動接触子の基端部の前記両側面とを密着させる一対の摺動接触子接圧バネと、を備え、
前記摺動通電面は、当該摺動通電面以外の前記摺動接触子と比較して剛性を弱めた形状を有することを特徴とする回路遮断器。
続きを表示(約 190 文字)
【請求項2】
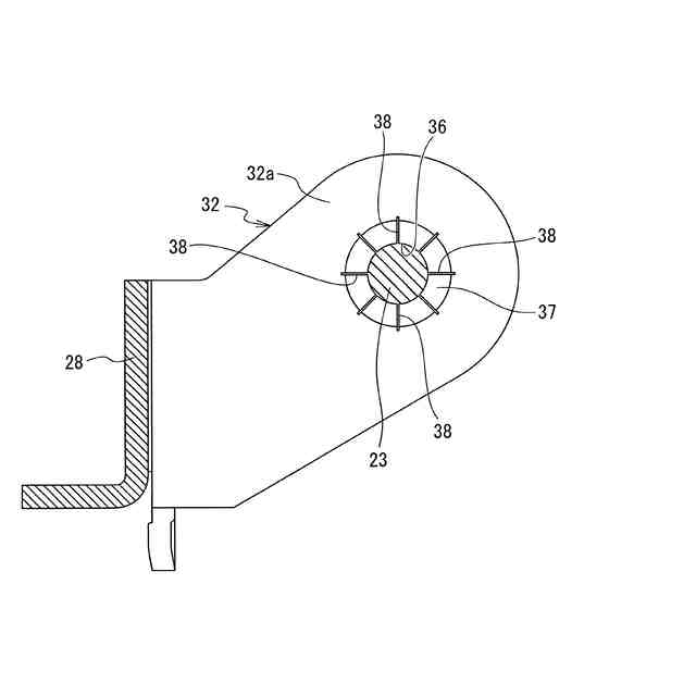
前記一対の摺動接触子の前記摺動通電面に、前記摺動軸穴から放射状に外周側に延在し、前記摺動通電面を周方向に分割する複数のスリットが形成されていることを特徴とする請求項1記載の回路遮断器。
【請求項3】
前記複数のスリットの終点より外周側の前記摺動接触子の側面に前記摺動接触子接圧バネが配置されていることを特徴とする請求項2記載の回路遮断器。
発明の詳細な説明
【技術分野】
【0001】
本発明は、回路遮断器に関する。
続きを表示(約 1,700 文字)
【背景技術】
【0002】
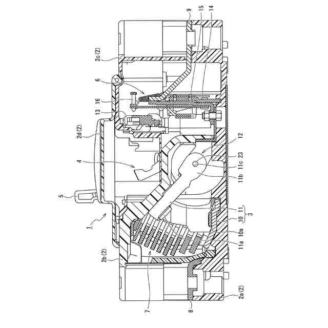
回路遮断器は、本体ケースに、固定接触子及び可動接触子からなる主回路接触子、可動接触子を回動可能に支持するホルダユニットなどが搭載されている。ホルダユニットは、可動接触子の基端部を回動自在に支持する摺動接触子と、摺動接触子に設けた摺動通電面と可動接触子の基端部を密着させる摺動接触子接圧バネを備えている(例えば、特許文献1)。
【先行技術文献】
【特許文献】
【0003】
特許第5134085号公報
【発明の概要】
【発明が解決しようとする課題】
【0004】
ところで、特許文献1の回路遮断器は、過電流が流れて可動接触子の限流開極動作を行う際に、摺動接触子の摺動通電面及び可動接触子の基端部の接触が不安定となり、接触面(摺動通電面及び可動接触子の基端部)の一部が乖離すると、発弧により接触面の一部が溶着するおそれがある。
【0005】
可動接触子の摺動通電面及び可動接触子の基端部の接触安定性を高めるため、摺動接触子接圧バネのばね力を高めることが考えられるが、摺動通電面及び基端部の間の摩擦力が増大して可動接触子の限流開極動作速度が低下するおそれがある。
【0006】
そこで、本発明は、可動接触子の限流開極動作を行う際に、摺動接触子の摺動通電面及び可動接触子の基端部の発弧発生による溶着を防止するとともに、摺動接触子接圧バネのばね力を低く設定することができ、可動接触子の限流開極動作速度を低下させず遮断性能の悪化を防止することができる回路遮断器を提供することを目的としている。
【課題を解決するための手段】
【0007】
上記目的を達成するために、本発明の一態様に係る回路遮断器は、固定接点を有する固定接触子と、固定接点に接離する可動接点を有する可動接触子と、可動接触子を回動可能に支持するホルダユニットと、を有し、ホルダユニットは、可動接触子の基端部の両側面を挟み込むように配置した一対の摺動接触子と、基端部に形成した可動接触子軸穴と一対の摺動接触子に設けた摺動軸穴を貫通する可動子回転軸と、摺動接触子の摺動軸穴の周囲に設けた摺動通電面と可動接触子の基端部の両側面とを密着させる一対の摺動接触子接圧バネと、を備え、摺動通電面は、摺動通電面以外の摺動接触子と比較して剛性を弱めた形状とした。
【発明の効果】
【0008】
本発明に係る回路遮断器によると、摺動接触子の摺動通電面及び可動接触子の基端部の発弧発生による溶着を防止することができるとともに、摺動接触子接圧バネのばね力を低く設定することができ、可動接触子の限流開極動作速度を低下させず遮断性能の悪化を防止することができる。
【図面の簡単な説明】
【0009】
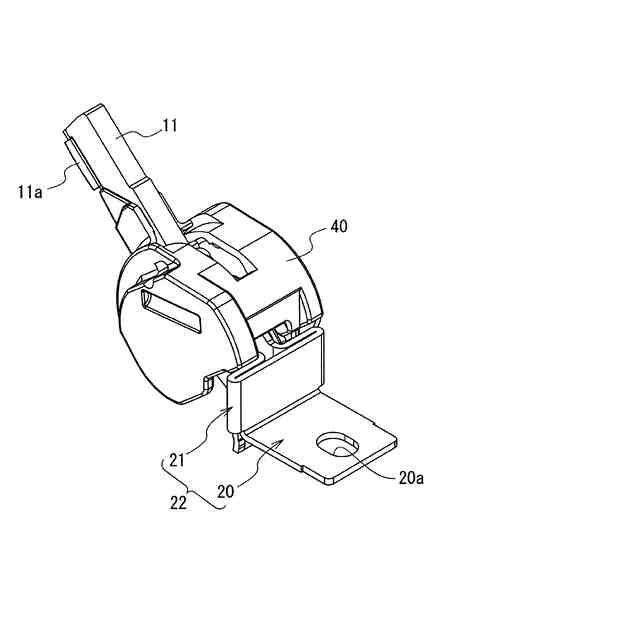
本発明に係る機械式配線用遮断器を示す断面図である。
機械式配線用遮断器を構成するホルダユニットを示す斜視図である。
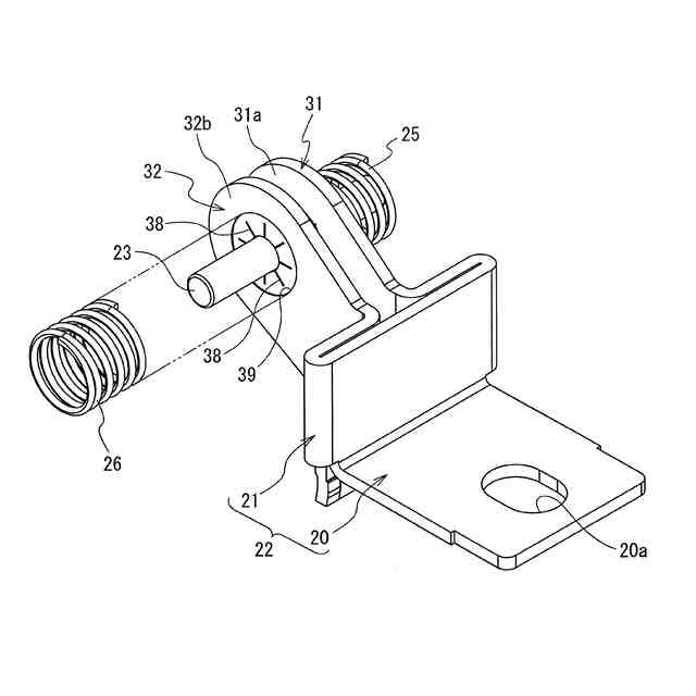
ホルダユニットを構成するホルダケースを示す斜視図である。
ホルダユニットを構成する摺動接触子を示す斜視図である。
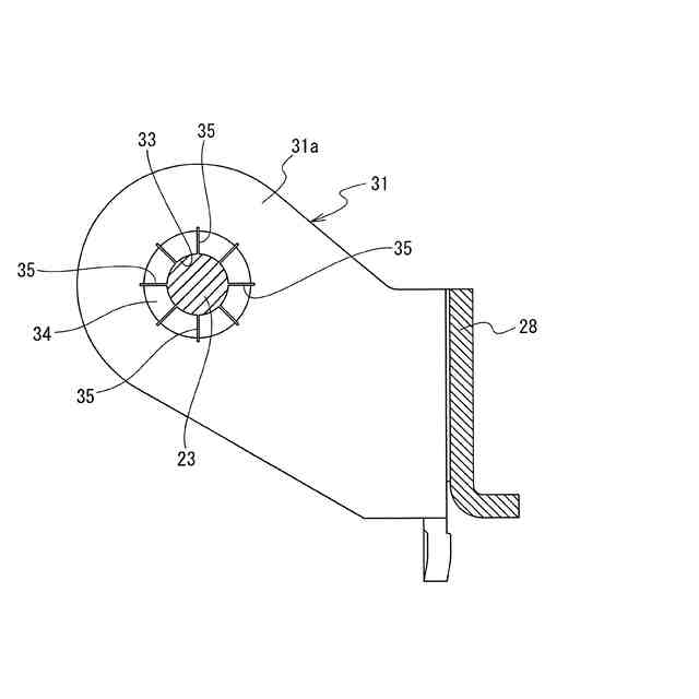
摺動接触子を構成している一方の摺動接触子に形成した摺動通電面を示す図である。
摺動接触子を構成している他方の摺動接触子に形成した摺動通電面を示す図である。
ホルダユニットを構成する一対の摺動接触子接圧バネを示す斜視図である。
摺動接触子の外面に摺動接触子接圧バネを配置した状態を示す図である。
【発明を実施するための形態】
【0010】
次に、図面を参照して、本発明に係る実施形態を説明する。以下の図面の記載において、同一又は類似の部分には同一又は類似の符号を付している。ただし、図面は模式的なものであり、厚みと平面寸法との関係、各層の厚みの比率等は現実のものとは異なることに留意すべきである。したがって、具体的な厚みや寸法は以下の説明を参酌して判断すべきものである。また、図面相互間においても互いの寸法の関係や比率が異なる部分が含まれていることはもちろんである。
(【0011】以降は省略されています)
この特許をJ-PlatPat(特許庁公式サイト)で参照する
関連特許
富士電機株式会社
冷却装置
8日前
富士電機株式会社
溶接装置
5日前
富士電機株式会社
搬送機構
5日前
富士電機株式会社
エンコーダ
2日前
富士電機株式会社
電磁接触器
1日前
富士電機株式会社
電磁接触器
1日前
富士電機株式会社
電磁接触器
1日前
富士電機株式会社
電磁接触器
1日前
富士電機株式会社
半導体装置
24日前
富士電機株式会社
半導体装置
23日前
富士電機株式会社
半導体装置
1日前
富士電機株式会社
半導体装置
5日前
富士電機株式会社
電磁接触器
1日前
富士電機株式会社
回路遮断器
2日前
富士電機株式会社
冷却システム
24日前
富士電機株式会社
電力変換システム
5日前
富士電機株式会社
半導体パッケージ
25日前
富士電機株式会社
チャンネルベース
1日前
富士電機株式会社
電力変換システム
1日前
富士電機株式会社
チャンネルベース
1日前
富士電機株式会社
エレベータ制御装置
3日前
富士電機株式会社
エレベータ制御装置
3日前
富士電機株式会社
自動販売機の保護装置
8日前
富士電機株式会社
冷却器及び半導体装置
1日前
富士電機株式会社
測定方法及び製造方法
8日前
富士電機株式会社
半導体モジュール及び車両
9日前
富士電機株式会社
冷却器及び半導体モジュール
1日前
富士電機株式会社
半導体装置及びその製造方法
1日前
富士電機株式会社
測定装置および冷却システム
3日前
富士電機株式会社
店舗内位置情報取得システム
2日前
富士電機株式会社
店舗用冷却装置制御システム
9日前
富士電機株式会社
冷却装置および電力変換装置
9日前
富士電機株式会社
窒化物半導体装置の製造方法
1日前
富士電機株式会社
炭化珪素半導体装置の製造方法
1日前
富士電機株式会社
最適制御方法、及び最適制御装置
5日前
富士電機株式会社
半導体装置および外部接続主端子
24日前
続きを見る
他の特許を見る