TOP
|
特許
|
意匠
|
商標
特許ウォッチ
Twitter
他の特許を見る
10個以上の画像は省略されています。
公開番号
2025140834
公報種別
公開特許公報(A)
公開日
2025-09-29
出願番号
2024040434
出願日
2024-03-14
発明の名称
搬送機構
出願人
富士電機株式会社
代理人
個人
,
個人
主分類
F16H
25/20 20060101AFI20250919BHJP(機械要素または単位;機械または装置の効果的機能を生じ維持するための一般的手段)
要約
【課題】物品の搬送に係る時間を短縮することが可能な搬送機構を提供する。
【解決手段】この搬送機構100では、送りねじ部材は、回転するとともに、外周に沿って設けられるらせん状溝部と、回転軸線の方向に沿って延びる直線状溝部とを有し、従動部材は、らせん状溝部に沿って移動することにより可動部を第1位置に移動させるとともに、直線状溝部に沿って移動することにより可動部を第2位置に移動させるように構成されている。
【選択図】図2
特許請求の範囲
【請求項1】
第1位置と第2位置との間を往復するとともに、物品を搬送する可動部と、
前記第1位置と前記第2位置との間において前記可動部を往復移動させるとともに、送りねじ部材と従動部材とを含む移動機構と、を備え、
前記送りねじ部材は、回転するとともに、外周に沿って設けられるらせん状溝部と、回転軸線の方向に沿って延びる直線状溝部とを有し、
前記従動部材は、前記送りねじ部材の回転により前記らせん状溝部に沿って、移動することにより前記可動部を前記第1位置に移動させるとともに、前記送りねじ部材が回転しない状態で前記直線状溝部に沿って移動することにより前記可動部を前記第2位置に移動させるように構成されている、搬送機構。
続きを表示(約 1,400 文字)
【請求項2】
前記移動機構は、
前記送りねじ部材を回転させて、前記従動部材を前記らせん状溝部に沿って移動させることにより、前記可動部を前記第1位置に移動させる駆動源と、
前記従動部材を、前記直線状溝部に沿って移動させるように、前記可動部を前記第2位置に移動させるように付勢する付勢部材とを含む、請求項1に記載の搬送機構。
【請求項3】
前記従動部材は、前記らせん状溝部に係合した状態において、前記駆動源の駆動力により前記第1位置に移動するとともに、前記直線状溝部に係合した状態において前記付勢部材の付勢力により前記第2位置に移動するように構成されており、
前記送りねじ部材は、前記らせん状溝部の端部に設けられ、前記らせん状溝部に沿って移動した前記従動部材を回動させて前記従動部材の長手方向が前記直線状溝部の延びる方向に沿うように方向転換させて前記従動部材を前記直線状溝部に係合させる方向転換部を含む、請求項2に記載の搬送機構。
【請求項4】
前記従動部材は、前記らせん状溝部および前記直線状溝部の溝幅よりも小さい短手方向の長さと、前記らせん状溝部および前記直線状溝部の溝幅よりも大きい長手方向の長さとを有する細長形状である、請求項1に記載の搬送機構。
【請求項5】
前記従動部材は、前記らせん状溝部および前記直線状溝部の溝幅よりも小さい短手方向の長さと、前記らせん状溝部および前記直線状溝部の溝幅よりも大きい長手方向の長さとを有する長円形状である、請求項3に記載の搬送機構。
【請求項6】
前記移動機構は、前記可動部の移動をロックするロック部材を含み、
前記ロック部材により前記可動部の移動がロックされた状態において、前記駆動源によって前記送りねじ部材が回転されることにより、前記従動部材が前記方向転換部に沿って回動して方向転換するように構成されている、請求項3に記載の搬送機構。
【請求項7】
前記駆動源は、前記方向転換部によって前記らせん状溝部に沿って移動した前記従動部材が回動して方向転換した状態において、回転力を前記送りねじ部材に伝えずに、前記従動部材の長手方向を前記直線状溝部の延びる方向に沿うように位置させた状態で前記送りねじ部材を停止させるクラッチ部を含む、請求項6に記載の搬送機構。
【請求項8】
前記可動部は、前記ロック部材による前記可動部の移動のロックが解除された状態において、前記付勢部材の付勢力により前記従動部材が前記直線状溝部に沿って前記第2位置に移動することにより、前記第2位置に移動するように構成されている、請求項6に記載の搬送機構。
【請求項9】
前記第1位置は、前記物品としての商品を受取る受取位置であり、
前記第2位置は、前記商品の搬送先である商品搬送位置であり、
前記可動部を前記商品搬送位置から前記受取位置に移動させる際は、前記駆動源により前記送りねじ部材を回転させて、前記従動部材を前記らせん状溝部に沿って移動させることにより、前記可動部を前記受取位置に移動させるように構成されており、
前記可動部を前記受取位置から前記商品搬送位置に移動させる際には、前記付勢部材の付勢力により、前記従動部材を、前記直線状溝部に沿って移動させるように、前記可動部を前記商品搬送位置に移動させるように付勢するように構成されている、請求項2に記載の搬送機構。
発明の詳細な説明
【技術分野】
【0001】
この発明は、搬送機構に関し、特に、送りねじ部材を備える搬送機構に関する。
続きを表示(約 2,100 文字)
【背景技術】
【0002】
従来、送りねじ部材を備える搬送機構が知られている(たとえば、特許文献1参照)。
【0003】
上記特許文献1には、搬送物の搬送方向に沿って配置されたねじ軸と、ねじ軸に沿って移動するナット部材と、ボールとを含むボールねじ(送りねじ部材)と、ナット部材に取り付けられた可動搬送部材とを備える搬送機構が開示されている。特許文献1では、ボールねじを回転させることにより可動搬送部材を直接移動させて、搬送物を搬送している。
【先行技術文献】
【特許文献】
【0004】
特開2008-232253号公報
【発明の概要】
【発明が解決しようとする課題】
【0005】
上記特許文献1には開示されていないが、ボールねじの回転により搬送物を第1位置と第2位置とを往復させる場合、ボールねじは、回転による減速機の作用により減速されて大きな移動力を得るように構成されている。このため、ボールねじを用いた場合、第1位置から第2位置に移動するために要する時間および第2位置から第1位置に移動するために要する時間が長くなるので、物品の搬送に要する時間が長くなる。このため、物品の搬送に係る時間を短縮することが望まれている。
【0006】
この発明は、上記のような課題を解決するためになされたものであり、この発明の1つの目的は、物品の搬送に係る時間を短縮することが可能な搬送機構を提供することである。
【課題を解決するための手段】
【0007】
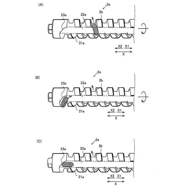
上記目的を達成するために、この発明の一の局面による搬送機構は、第1位置と第2位置との間を往復するとともに、物品を搬送する可動部と、第1位置と第2位置との間において可動部を往復移動させるとともに、送りねじ部材と従動部材とを含む移動機構と、を備え、送りねじ部材は、回転するとともに、外周に沿って設けられるらせん状溝部と、回転軸線の方向に沿って延びる直線状溝部とを有し、従動部材は、送りねじ部材の回転によりらせん状溝部に沿って移動することにより可動部を第1位置に移動させるとともに、送りねじ部材が回転しない状態で直線状溝部に沿って移動することにより可動部を第2位置に移動させるように構成されている。
【0008】
この発明の一の局面による搬送機構は、上記のように、送りねじ部材は、回転するとともに、外周に沿って設けられるらせん状溝部と、回転軸線の方向に沿って延びる直線状溝部とを有し、従動部材は、送りねじ部材の回転によりらせん状溝部に沿って移動することにより可動部を第1位置に移動させるとともに、送りねじ部材が回転しない状態で直線状溝部に沿って移動することにより可動部を第2位置に移動させるように構成されている。これにより、らせん状溝部に沿って移動させる場合よりも直線状溝部に沿って移動させるほうが速度を大きくすることができるため、第1位置から第2位置に移動する速度よりも第2位置から第1位置への移動の速度を大きくすることができる。この結果、物品の搬送に係る時間を短縮することができる。
【0009】
上記一の局面による搬送機構において、好ましくは、移動機構は、送りねじ部材を回転させて、従動部材をらせん状溝部に沿って移動させることにより、可動部を第1位置に移動させる駆動源と、従動部材を、直線状溝部に沿って移動させるように、可動部を第2位置に移動させるように付勢する付勢部材とを含む。このように構成すれば、付勢部材の付勢力によって、従動部材を、直線状溝部に沿って移動させるように、可動部を第1位置から第2位置に移動させるため、らせん状溝部に沿って従動部材を移動させる駆動源に加えて、直線状溝部に沿って従動部材を移動させるためのリニア駆動モータのような駆動源を別途設ける必要がない。この結果、移動機構の装置構成が複雑化することを抑制することができる。
【0010】
この場合、好ましくは、従動部材は、らせん状溝部に係合した状態において、駆動源の駆動力により第1位置に移動するとともに、直線状溝部に係合した状態において付勢部材の付勢力により第2位置に移動するように構成されており、送りねじ部材は、らせん状溝部の端部に設けられ、らせん状溝部に沿って移動した従動部材を回動させて従動部材の長手方向が直線状溝部の延びる方向に沿うように方向転換させて従動部材を直線状溝部に係合させる方向転換部を含む。このように構成すれば、らせん状溝部に設けられた方向転換部によって従動部材の移動方向(長手方向)を直線状溝部に沿った方向に切替えることができるため、従動部材を複数設ける必要がないとともに、従動部材を一方向に移動させることによりらせん状溝部に沿った移動と直線状溝部に沿った移動とを行うことができる。この結果、部品点数の増加を抑制することができるとともに、構造を簡素化することができる。
(【0011】以降は省略されています)
この特許をJ-PlatPat(特許庁公式サイト)で参照する
関連特許
富士電機株式会社
駆動回路
20日前
富士電機株式会社
半導体装置
5日前
富士電機株式会社
半導体装置
1か月前
富士電機株式会社
自動販売機
27日前
富士電機株式会社
硬貨処理装置
20日前
富士電機株式会社
ショーケース
1か月前
富士電機株式会社
自動販売装置
1か月前
富士電機株式会社
学習システム
29日前
富士電機株式会社
金銭処理装置
28日前
富士電機株式会社
飲料抽出装置
22日前
富士電機株式会社
硬貨処理装置
20日前
富士電機株式会社
半導体モジュール
1か月前
富士電機株式会社
半導体モジュール
26日前
富士電機株式会社
ガス処理システム
23日前
富士電機株式会社
半導体モジュール
15日前
富士電機株式会社
制御装置、制御方法
20日前
富士電機株式会社
集積回路、電源回路
1か月前
富士電機株式会社
半導体装置の製造方法
1か月前
富士電機株式会社
店舗情報設定システム
29日前
富士電機株式会社
セーフリスト管理方法
20日前
富士電機株式会社
制御回路および電源装置
15日前
富士電機株式会社
制御回路および電力供給回路
1か月前
富士電機株式会社
冷却器及び半導体モジュール
26日前
富士電機株式会社
換気システムおよび冷却装置
13日前
富士電機株式会社
電力変換装置及びその制御方法
1か月前
富士電機株式会社
スイッチング制御回路、電源回路
13日前
富士電機株式会社
店舗内ショーケース制御システム
27日前
富士電機株式会社
スイッチング制御回路、電源回路
23日前
富士電機株式会社
ガス回収システム及びガス回収方法
22日前
富士電機株式会社
半導体モジュール、及び、半導体装置
14日前
富士電機株式会社
半導体装置の製造方法及び治具セット
22日前
富士電機株式会社
電力変換装置、制御装置及び制御方法
22日前
富士電機株式会社
部分放電測定装置及び部分放電測定方法
1か月前
富士電機株式会社
紙幣処理装置及び新紙幣搬送動作確認方法
28日前
富士電機株式会社
制御支援装置、制御支援方法、及びプログラム
1か月前
富士電機株式会社
監視システム、監視装置、監視方法、プログラム
15日前
続きを見る
他の特許を見る