TOP
|
特許
|
意匠
|
商標
特許ウォッチ
Twitter
他の特許を見る
公開番号
2025147783
公報種別
公開特許公報(A)
公開日
2025-10-07
出願番号
2024048201
出願日
2024-03-25
発明の名称
電力変換装置及びその制御方法
出願人
富士電機株式会社
代理人
個人
,
個人
主分類
H02M
3/28 20060101AFI20250930BHJP(電力の発電,変換,配電)
要約
【課題】簡易な制御による高効率化を実現すること。
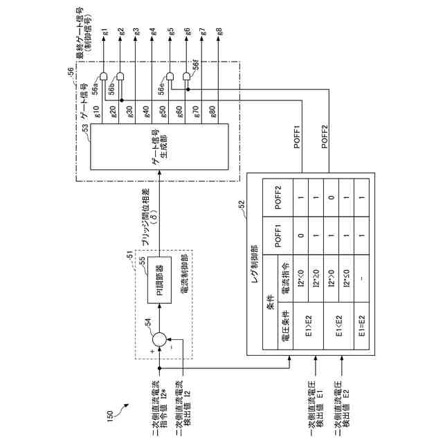
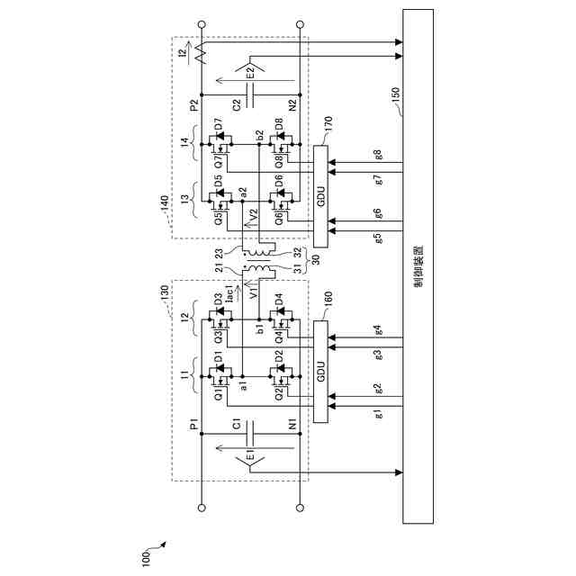
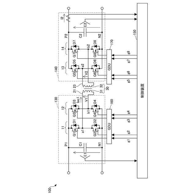
【解決手段】第1レグ11と第2レグ12を有する一次側ブリッジ回路130の直流電圧E1と第3レグ13と第4レグ14を有する二次側ブリッジ回路140の直流電圧E2が相違する条件で、直流電圧の低いブリッジ回路から直流電圧の高いブリッジ回路へ電力を伝送する場合、第1レグから第4レグまでのうち、直流電圧の高いブリッジ回路のいずれか一つのレグの両サイドのアームをオフ状態とし、かつ、残りの各レグの各アームのオン状態とオフ状態を制御する、電力変換装置100。
【選択図】図1
特許請求の範囲
【請求項1】
一次巻線と二次巻線とを有するトランスと、
ハイサイドの第1アームとローサイドの第2アームとが直列に接続された第1レグと、ハイサイドの第3アームとローサイドの第4アームとが直列に接続された第2レグとを有し、前記第1アームと前記第2アームとの接続点と前記第3アームと前記第4アームとの接続点とを接続するブリッジ部分に前記一次巻線が設けられた一次側ブリッジ回路と、
ハイサイドの第5アームとローサイドの第6アームとが直列に接続された第3レグと、ハイサイドの第7アームとローサイドの第8アームとが直列に接続された第4レグとを有し、前記第5アームと前記第6アームとの接続点と前記第7アームと前記第8アームとの接続点とを接続するブリッジ部分に前記二次巻線が設けられた二次側ブリッジ回路と、
前記一次側ブリッジ回路の直流電圧と前記二次側ブリッジ回路の直流電圧が相違する条件で、直流電圧の低いブリッジ回路から直流電圧の高いブリッジ回路へ電力を伝送する場合、前記第1レグから前記第4レグまでのうち、直流電圧の高いブリッジ回路のいずれか一つのレグの両サイドのアームをオフ状態とし、かつ、残りの各レグの各アームのオン状態とオフ状態を制御する制御装置と、を備える、電力変換装置。
続きを表示(約 1,100 文字)
【請求項2】
前記制御装置は、前記一次側ブリッジ回路の直流電圧が前記二次側ブリッジ回路の直流電圧より高い条件で、前記二次側ブリッジ回路から前記一次側ブリッジ回路へ電力を伝送する場合、前記第1アーム及び前記第2アームをオフ状態とし、かつ、前記第3アームをオフとし前記第4アームをオンとする状態と前記第3アームをオンとし前記第4アームをオフとする状態とを繰り返し、かつ、前記第5アーム及び前記第8アームをオンとし前記第6アーム及び前記第7アームをオフとする状態と前記第5アーム及び前記第8アームをオフとし前記第6アーム及び前記第7アームをオンとする状態とを繰り返す、請求項1に記載の電力変換装置。
【請求項3】
前記制御装置は、前記一次側ブリッジ回路の直流電圧が前記二次側ブリッジ回路の直流電圧より低い条件で、前記一次側ブリッジ回路から前記二次側ブリッジ回路へ電力を伝送する場合、前記第5アーム及び前記第6アームをオフ状態とし、かつ、前記第7アームをオフとし前記第8アームをオンとする状態と前記第7アームをオンとし前記第8アームをオフとする状態とを繰り返し、かつ、前記第1アーム及び前記第4アームをオンとし前記第2アーム及び前記第3アームをオフとする状態と前記第1アーム及び前記第4アームをオフとし前記第2アーム及び前記第3アームをオンとする状態とを繰り返す、請求項2に記載の電力変換装置。
【請求項4】
一次巻線と二次巻線とを有するトランスと、
ハイサイドの第1アームとローサイドの第2アームとが直列に接続された第1レグと、ハイサイドの第3アームとローサイドの第4アームとが直列に接続された第2レグとを有し、前記第1アームと前記第2アームとの接続点と前記第3アームと前記第4アームとの接続点とを接続するブリッジ部分に前記一次巻線が設けられた一次側ブリッジ回路と、
ハイサイドの第5アームとローサイドの第6アームとが直列に接続された第3レグと、ハイサイドの第7アームとローサイドの第8アームとが直列に接続された第4レグとを有し、前記第5アームと前記第6アームとの接続点と前記第7アームと前記第8アームとの接続点とを接続するブリッジ部分に前記二次巻線が設けられた二次側ブリッジ回路と、を備える電力変換装置の制御方法であって、
前記一次側ブリッジ回路の直流電圧と前記二次側ブリッジ回路の直流電圧が相違する条件で、直流電圧の低いブリッジ回路から直流電圧の高いブリッジ回路へ電力を伝送する場合、前記第1レグから前記第4レグまでのうち、直流電圧の高いブリッジ回路のいずれか一つのレグの両サイドのアームをオフ状態とし、かつ、残りの各レグの各アームのオン状態とオフ状態を制御する、電力変換装置の制御方法。
発明の詳細な説明
【技術分野】
【0001】
本開示は、電力変換装置及びその制御方法に関する。
続きを表示(約 2,000 文字)
【背景技術】
【0002】
2つの単相ブリッジ回路が高周波絶縁トランスを介して接続されたDAB(Dual Active Bridge)と呼ばれる双方向絶縁型DC/DCコンバータが知られている(例えば、非特許文献1参照)。このコンバータは、ブリッジ間の位相差を調整する電力制御を採用した場合には、スイッチング損失を低減可能なZVS(Zero-Voltage Switching)を適用できるため、大電力用途に適している。
【0003】
また、ブリッジ間の位相差の制御に加えて、片側または両側の交流電圧のデューティ比を制御することで、低損失化を図る電力変換装置が知られている(例えば、特許文献1参照)。
【先行技術文献】
【非特許文献】
【0004】
R.W.A.A. De Doncker, D.M. Divan, and M.H. Kheraluwala,"A Three-Phase Soft-Switched High-Power-Density dc/dc Converter for High-Power Applications", IEEE Transactions on Industry Applications, Volume 27, Issue 1, Pages 63-73, January/February 1991.
【特許文献】
【0005】
特許第6259009号公報
【発明の概要】
【発明が解決しようとする課題】
【0006】
しかしながら、低損失化を図る従来の方法は、複雑で、コンピュータへの実装が難しいという問題がある。
【0007】
本開示は、簡易な制御によって高効率化を実現可能な電力変換装置およびその制御方法を提供する。
【課題を解決するための手段】
【0008】
本開示の第一態様では、
一次巻線と二次巻線とを有するトランスと、
ハイサイドの第1アームとローサイドの第2アームとが直列に接続された第1レグと、ハイサイドの第3アームとローサイドの第4アームとが直列に接続された第2レグとを有し、前記第1アームと前記第2アームとの接続点と前記第3アームと前記第4アームとの接続点とを接続するブリッジ部分に前記一次巻線が設けられた一次側ブリッジ回路と、
ハイサイドの第5アームとローサイドの第6アームとが直列に接続された第3レグと、ハイサイドの第7アームとローサイドの第8アームとが直列に接続された第4レグとを有し、前記第5アームと前記第6アームとの接続点と前記第7アームと前記第8アームとの接続点とを接続するブリッジ部分に前記二次巻線が設けられた二次側ブリッジ回路と、
前記一次側ブリッジ回路の直流電圧と前記二次側ブリッジ回路の直流電圧が相違する条件で、直流電圧の低いブリッジ回路から直流電圧の高いブリッジ回路へ電力を伝送する場合、前記第1レグから前記第4レグまでのうち、直流電圧の高いブリッジ回路のいずれか一つのレグの両サイドのアームをオフ状態とし、かつ、残りの各レグの各アームのオン状態とオフ状態を制御する制御装置と、を備える、電力変換装置が提供される。
【0009】
本開示の第二態様では、
一次巻線と二次巻線とを有するトランスと、
ハイサイドの第1アームとローサイドの第2アームとが直列に接続された第1レグと、ハイサイドの第3アームとローサイドの第4アームとが直列に接続された第2レグとを有し、前記第1アームと前記第2アームとの接続点と前記第3アームと前記第4アームとの接続点とを接続するブリッジ部分に前記一次巻線が設けられた一次側ブリッジ回路と、
ハイサイドの第5アームとローサイドの第6アームとが直列に接続された第3レグと、ハイサイドの第7アームとローサイドの第8アームとが直列に接続された第4レグとを有し、前記第5アームと前記第6アームとの接続点と前記第7アームと前記第8アームとの接続点とを接続するブリッジ部分に前記二次巻線が設けられた二次側ブリッジ回路と、を備える電力変換装置の制御方法であって、
前記一次側ブリッジ回路の直流電圧と前記二次側ブリッジ回路の直流電圧が相違する条件で、直流電圧の低いブリッジ回路から直流電圧の高いブリッジ回路へ電力を伝送する場合、前記第1レグから前記第4レグまでのうち、直流電圧の高いブリッジ回路のいずれか一つのレグの両サイドのアームをオフ状態とし、かつ、残りの各レグの各アームのオン状態とオフ状態を制御する、電力変換装置の制御方法が提供される。
【発明の効果】
【0010】
本開示によれば、簡易な制御によって高効率化を実現できる。
【図面の簡単な説明】
(【0011】以降は省略されています)
この特許をJ-PlatPat(特許庁公式サイト)で参照する
関連特許
富士電機株式会社
駆動回路
1か月前
富士電機株式会社
冷却装置
11日前
富士電機株式会社
集積回路
11日前
富士電機株式会社
電磁接触器
19日前
富士電機株式会社
半導体装置
12日前
富士電機株式会社
パネル構造
11日前
富士電機株式会社
パネル構造
11日前
富士電機株式会社
半導体装置
25日前
富士電機株式会社
自動販売機
12日前
富士電機株式会社
半導体装置
4日前
富士電機株式会社
飲料供給装置
11日前
富士電機株式会社
電力変換装置
4日前
富士電機株式会社
電力変換装置
4日前
富士電機株式会社
紙幣処理装置
4日前
富士電機株式会社
硬貨処理装置
1か月前
富士電機株式会社
飲料抽出装置
1か月前
富士電機株式会社
硬貨処理装置
1か月前
富士電機株式会社
半導体モジュール
1か月前
富士電機株式会社
ガス処理システム
1か月前
富士電機株式会社
半導体モジュール
1か月前
富士電機株式会社
自動販売機システム
12日前
富士電機株式会社
制御装置、制御方法
4日前
富士電機株式会社
エレベータ用制御盤
4日前
富士電機株式会社
制御装置、制御方法
1か月前
富士電機株式会社
自動販売機システム
11日前
富士電機株式会社
セーフリスト管理方法
1か月前
富士電機株式会社
制御回路および電源装置
1か月前
富士電機株式会社
半導体装置及びその製造方法
19日前
富士電機株式会社
窒化物半導体装置の製造方法
6日前
富士電機株式会社
換気システムおよび冷却装置
1か月前
富士電機株式会社
スイッチング制御回路、電源回路
1か月前
富士電機株式会社
スイッチング制御回路、電源回路
1か月前
富士電機株式会社
制御システムおよび電力システム
11日前
富士電機株式会社
鍵管理システムおよび鍵管理方法
6日前
富士電機株式会社
太陽光発電システム及び制御装置
4日前
富士電機株式会社
予測装置、予測方法及びプログラム
11日前
続きを見る
他の特許を見る