TOP
|
特許
|
意匠
|
商標
特許ウォッチ
Twitter
他の特許を見る
10個以上の画像は省略されています。
公開番号
2025159449
公報種別
公開特許公報(A)
公開日
2025-10-21
出願番号
2024062003
出願日
2024-04-08
発明の名称
学習システム
出願人
富士電機株式会社
代理人
インフォート弁理士法人
主分類
G06F
21/57 20130101AFI20251014BHJP(計算;計数)
要約
【課題】セキュリティに係わる知識が少ない初心者であっても、攻撃者の知見を習得できる学習システムを提供する。
【解決手段】学習システムは、教材部、仮想環境部、及び学習部を備える。教材部には、サーバを攻撃するための攻略手順を記述した攻略手順ファイルが保存される。仮想環境部は、予め作成されているイメージファイルに基づいて、サーバおよび攻撃者コンピュータを仮想的に構築する。学習部は、教材部から取得する攻略手順ファイルに基づいて、サーバを攻撃する攻略手順をユーザに提示する。学習部は、ユーザの操作に応じて、攻撃者コンピュータが実行するコマンドを表す攻撃情報を仮想環境部に送信する。仮想環境部は、攻撃情報に従って攻撃者コンピュータにサーバを攻撃させ、その攻撃の結果を学習部に送信する。学習部は、攻撃の結果をユーザに提示する。
【選択図】図1
特許請求の範囲
【請求項1】
サーバを構築するための第1のイメージファイル、前記サーバを攻撃する攻撃者コンピュータを構築するための第2のイメージファイル、および前記サーバを攻撃するための攻略手順を記述した攻略手順ファイルを保存する教材部と、
前記第1のイメージファイルおよび前記第2のイメージファイルに基づいて、前記サーバおよび前記攻撃者コンピュータを仮想的に構築する仮想環境部と、
ユーザインタフェースを提供する学習部と、を備え、
前記学習部は、
前記教材部から前記攻略手順ファイルを取得して前記サーバを攻撃する攻略手順をユーザに提示し、
前記ユーザの操作に応じて、前記攻撃者コンピュータが実行するコマンドまたは前記攻撃者コンピュータが実行する攻撃方法を表す攻撃情報を前記仮想環境部に送信し、
前記仮想環境部は、
前記学習部から受信する前記攻撃情報に従って前記攻撃者コンピュータに前記サーバを攻撃させ、
前記攻撃情報に従った前記サーバへの攻撃の結果を前記学習部に送信し、
前記学習部は、前記仮想環境部から受信する前記攻撃の結果を前記ユーザに提示する
ことを特徴とする学習システム。
続きを表示(約 850 文字)
【請求項2】
前記攻略手順は、少なくとも1つの攻撃ステップを含み、
前記少なくとも1つの攻撃ステップは、選択可能な複数のコマンドを含み、
前記学習部は、
前記選択可能な複数のコマンドを前記ユーザに提示し、
前記ユーザにより選択されたコマンドを表す前記攻撃情報を前記仮想環境部に送信する
ことを特徴とする請求項1に記載の学習システム。
【請求項3】
前記攻撃者コンピュータは、前記攻撃情報が表すコマンドを実行することで前記サーバを攻撃する
ことを特徴とする請求項2に記載の学習システム。
【請求項4】
前記攻略手順は、少なくとも1つの攻撃ステップを含むフローチャートで記述されており、
前記フローチャートにおいて、前記少なくとも1つの攻撃ステップは、前記攻撃者コンピュータが実行可能な複数のコマンドに対応する複数の選択肢を含み、
前記学習部は、前記フローチャートに従って前記攻略手順を前記ユーザに提示し、前記複数の選択肢のうちの1つを前記ユーザに選択させる
ことを特徴とする請求項1に記載の学習システム。
【請求項5】
前記攻略手順に従って前記サーバを攻撃する学習カリキュラムに対して、前記学習カリキュラムに係わる脅威のカテゴリを表す情報が関連付けられており、
前記学習部は、前記ユーザが前記学習カリキュラムを受講する際に、前記脅威のカテゴリを表す情報を前記ユーザに提示する
ことを特徴とする請求項1に記載の学習システム。
【請求項6】
前記攻略手順に従って前記サーバを攻撃する学習カリキュラムに対して、前記学習カリキュラムにより習得する技術の難易度を表す情報が関連付けられており、
前記学習部は、前記ユーザが前記学習カリキュラムを受講する際に、前記難易度を前記ユーザに提示する
ことを特徴とする請求項1に記載の学習システム。
発明の詳細な説明
【技術分野】
【0001】
本発明は、セキュリティ技術に係わる知識を習得するための学習システムに係わる。
続きを表示(約 1,800 文字)
【背景技術】
【0002】
コンピュータシステム、機器、または各種設備のセキュリティ対策を考えるうえで、攻撃者の視点または知識が必要になることがある。このため、攻撃者の知見を得るためのセキュリティ講座が行われている。また、セキュリティ検査の対象システムの機能を実現する仮想マシンを用いて、セキュリティ対策学習システムのための検査手順を実行し、その実行結果を示す情報を出力するセキュリティ検査装置が提案されている(例えば、特許文献1)。
【先行技術文献】
【特許文献】
【0003】
特許第7380877号
【発明の概要】
【発明が解決しようとする課題】
【0004】
上述のように、攻撃者の知見に係わる講習が行われているが、多くの場合、ある程度の知識を持った受講者(例えば、自分で攻撃方法を考えることができる技術者)が対象とされている。すなわち、セキュリティ対策の初心者に適した講習は少ない。また、仮想マシンを使用して攻撃の手順とその結果を示すだけでは、攻撃者の知見を得ることは難しい。
【0005】
本発明の1つの側面に係わる目的は、セキュリティに係わる知識が少ない初心者であっても、攻撃者の知見を習得できる学習システムを提供することである。
【課題を解決するための手段】
【0006】
本発明の1つの態様に係わる学習システムは、サーバを構築するための第1のイメージファイル、前記サーバを攻撃する攻撃者コンピュータを構築するための第2のイメージファイル、および前記サーバを攻撃するための攻略手順を記述した攻略手順ファイルを保存する教材部と、前記第1のイメージファイルおよび前記第2のイメージファイルに基づいて、前記サーバおよび前記攻撃者コンピュータを仮想的に構築する仮想環境部と、ユーザインタフェースを提供する学習部と、を備える。前記学習部は、前記教材部から前記攻略手順ファイルを取得して前記サーバを攻撃する攻略手順をユーザに提示し、前記ユーザの操作に応じて、前記攻撃者コンピュータが実行するコマンドまたは前記攻撃者コンピュータが実行する攻撃方法を表す攻撃情報を前記仮想環境部に送信する。前記仮想環境部は、前記学習部から受信する前記攻撃情報に従って前記攻撃者コンピュータに前記サーバを攻撃させ、前記攻撃情報に従った前記サーバへの攻撃の結果を前記学習部に送信する。前記学習部は、前記仮想環境部から受信する前記攻撃の結果を前記ユーザに提示する。
【発明の効果】
【0007】
上述の態様によれば、セキュリティに係わる知識が少ない初心者であっても、攻撃者の知見を習得できる。
【図面の簡単な説明】
【0008】
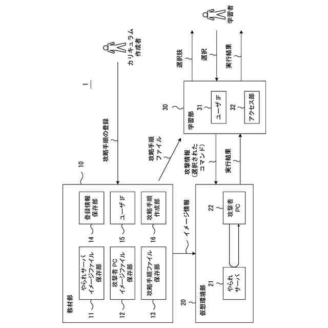
本発明の実施形態に係わる学習システムの一例を示す図である。
カリキュラム作成者が使用する登録画面の一例を示す図である。
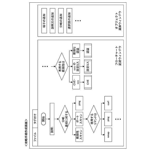
カリキュラム作成者が使用する攻略手順作成画面の一例を示す図である。
タグ付け画面の一例を示す図である。
教材部が管理する登録情報の一例を示す図である。
OWASP Top10に係わる情報を管理するリストの一例を示す図である。
学習カリキュラムにOWASP Top10のカテゴリを対応づける処理の一例を示すフローチャートである。
学習者に提示される学習初期画面の一例を示す図である。
学習者に提示される学習画面の一例を示す図である。
学習システムのハードウェア構成の一例を示す図である。
【発明を実施するための形態】
【0009】
図1は、本発明の実施形態に係わる学習システムの一例を示す。本発明の実施形態に係わる学習システム1は、コンピュータシステム、機器、または各種設備のセキュリティ対策を実施するユーザが、ペネトレーションテストに関連して、攻撃者の視点を理解するための学習カリキュラムを提供する。すなわち、ユーザは、学習システム1を利用して、攻撃者の知見を習得できる。
【0010】
学習システム1は、図1に示すように、教材部10、仮想環境部20、および学習部30を備える。なお、学習システム1は、図1に示していない他の機能をさらに備えてもよい。
(【0011】以降は省略されています)
この特許をJ-PlatPat(特許庁公式サイト)で参照する
関連特許
富士電機株式会社
駆動回路
2日前
富士電機株式会社
自動販売機
9日前
富士電機株式会社
半導体装置
15日前
富士電機株式会社
自動販売装置
16日前
富士電機株式会社
硬貨処理装置
2日前
富士電機株式会社
硬貨処理装置
2日前
富士電機株式会社
ショーケース
25日前
富士電機株式会社
学習システム
11日前
富士電機株式会社
飲料抽出装置
4日前
富士電機株式会社
金銭処理装置
10日前
富士電機株式会社
半導体モジュール
18日前
富士電機株式会社
ガス処理システム
5日前
富士電機株式会社
半導体モジュール
8日前
富士電機株式会社
制御装置、制御方法
2日前
富士電機株式会社
集積回路、電源回路
15日前
富士電機株式会社
セーフリスト管理方法
2日前
富士電機株式会社
半導体装置の製造方法
17日前
富士電機株式会社
店舗情報設定システム
11日前
富士電機株式会社
冷却器及び半導体モジュール
8日前
富士電機株式会社
制御回路および電力供給回路
16日前
富士電機株式会社
電力変換装置及びその制御方法
25日前
富士電機株式会社
スイッチング制御回路、電源回路
5日前
富士電機株式会社
店舗内ショーケース制御システム
9日前
富士電機株式会社
ガス回収システム及びガス回収方法
4日前
富士電機株式会社
半導体装置の製造方法及び治具セット
4日前
富士電機株式会社
電力変換装置、制御装置及び制御方法
4日前
富士電機株式会社
部分放電測定装置及び部分放電測定方法
15日前
富士電機株式会社
紙幣処理装置及び新紙幣搬送動作確認方法
10日前
富士電機株式会社
制御支援装置、制御支援方法、及びプログラム
15日前
富士電機株式会社
半導体モジュールおよび半導体モジュールの製造方法
16日前
富士電機株式会社
管理システム、発電システムおよび太陽光パネルの管理方法
2日前
富士電機株式会社
半導体装置
10日前
富士電機株式会社
セキュリティテスト実施装置およびセキュリティテスト実施方法
17日前
富士電機株式会社
セキュリティ監視装置、セキュリティ監視方法、及びプログラム
3日前
富士電機株式会社
リアルタイムシミュレーター及びリアルタイムシミュレーション方法
3日前
富士電機株式会社
診断装置、診断システム、診断方法、プログラム
15日前
続きを見る
他の特許を見る