TOP
|
特許
|
意匠
|
商標
特許ウォッチ
Twitter
他の特許を見る
公開番号
2025145988
公報種別
公開特許公報(A)
公開日
2025-10-03
出願番号
2024046536
出願日
2024-03-22
発明の名称
電磁接触器
出願人
富士電機株式会社
代理人
個人
,
個人
主分類
H01H
50/54 20060101AFI20250926BHJP(基本的電気素子)
要約
【課題】アークの熱で樹脂製の消弧壁が損傷するのを防止し、消弧壁にアークの通電経路が生成されるのを抑制することで消弧性能の低下を防止する電磁接触器を提供する。
【解決手段】樹脂製の消弧部(消弧ケース40,41)の内部の第1アークA1,A2が引き延ばされる方向を囲むように配置され、第1アークで発生した熱を吸収する第1冷却部材44、45と、消弧部の内部の第2アークA3,A4が引き延ばされる方向を囲むように配置され、第2アークで発生した熱を吸収する第2冷却部材48,49とを備えている。
【選択図】図5
特許請求の範囲
【請求項1】
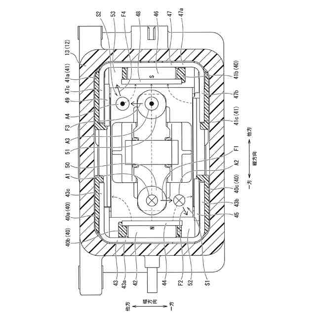
第1及び第2固定接点を有する一対の固定接触子と、前記第1及び第2固定接点に接離可能な第1及び第2可動接点を長手方向の両端に設けた可動接触子と、前記可動接触子を駆動する電磁石ユニットと、前記一対の固定接触子、前記可動接触子及び前記電磁石ユニットを収納する筐体と、を備えた電磁接触器において、
前記筐体の内部に配置され、前記一対の固定接触子及び可動接触子を収納している樹脂製の消弧部と、
前記消弧部に囲まれた空間であり、前記可動接触子の長手方向の一方側及び他方側に設けた第1及び第2アーク消弧空間と、
前記第1固定接点及び前記第1可動接点の間に発生した第1アークを前記第1アーク消弧空間に引き延ばし、前記第2固定接点及び前記第2可動接点の間に発生した第2アークを前記第2アーク消弧空間に引き延ばす、互いに対向配置された第1及び第2アーク消弧用永久磁石と、
前記消弧部の内部の前記第1アークが引き延ばされる方向を囲むように配置され、前記第1アークで発生した熱を吸収する第1冷却部材と、
前記消弧部の内部の前記第2アークが引き延ばされる方向を囲むように配置され、前記第2アークで発生した熱を吸収する第2冷却部材と、を備えていることを特徴とする電磁接触器。
続きを表示(約 770 文字)
【請求項2】
前記消弧部は、前記第1固定接点及び前記第1可動接点を囲み、前記可動接触子の長手方向の一方側に配置されたコ字形状の側壁を有する第1消弧ケースと、前記第2固定接点及び前記第2可動接点を囲み、前記可動接触子の長手方向の他方側に配置されたコ字形状の側壁を有する第2消弧ケースと、を備えており、
前記第1アークは前記第1消弧ケースの角部に向って引き延ばされ、前記第2アークは前記第2消弧ケースの角部に向って引き延ばされていることを特徴とする請求項1記載の電磁接触器。
【請求項3】
前記第1消弧ケース及び前記第2消弧ケースの前記角部は、前記電磁石ユニットを収納している前記筐体の内部空間と連通していることを特徴とする請求項2記載の電磁接触器。
【請求項4】
前記第1冷却部材及び前記第2冷却部材は、前記消弧部より熱伝導率が高い絶縁部材であり、
前記第1冷却部材は、前記第1消弧ケースに装着した前記第1アーク消弧用永久磁石が前記第1アークに接触しないように覆った状態で配置され、
前記第2冷却部材は、前記第2消弧ケースに装着した前記第2アーク消弧用永久磁石が前記第2アークに接触しないように覆った状態で配置されていることを特徴とする請求項2又は3記載の電磁接触器。
【請求項5】
前記第1冷却部材は、前記第1消弧ケースが前記第1アークに接触しないように覆った状態で配置され、
前記第2冷却部材は、前記第2消弧ケースが前記第2アークに接触しないように覆った状態で配置されていることを特徴とする請求項4記載の電磁接触器。
【請求項6】
前記筐体に、アーク消弧用ガスが封入されていることを特徴とする請求項1から3の何れか1項に記載の電磁接触器。
発明の詳細な説明
【技術分野】
【0001】
本発明は、電磁接触器に関する。
続きを表示(約 1,800 文字)
【背景技術】
【0002】
特許文献1に記載された密閉型電磁接触器は、一対の固定接触子と可動接触子の間で発生するアークを消弧するため、一対の固定接触子及び可動接触子と可動接触子を駆動する電磁石ユニットを収納する密閉容器に消弧ガスを封入することで消弧スペースを拡大して遮断性能を高めている。
【先行技術文献】
【特許文献】
【0003】
特開2022-112550号公報
【発明の概要】
【発明が解決しようとする課題】
【0004】
ところで、特許文献1は、一対の固定接触子及び可動接触子を収納する消弧壁は樹脂製なので、アークで発生する熱によって消弧壁が損傷されるおそれがある。そして、損傷した消弧壁に固定接点及び可動接点の溶融によって発生した金属蒸気が付着してアークの通電経路が生成され、消弧性能が低下するおそれがある。
【0005】
本発明は、アークで発生する熱による樹脂製の消弧壁の損傷を防止し、消弧壁にアークの通電経路が生成されるのを抑制することで消弧性能の低下を防止する電磁接触器を提供することを目的としている。
【課題を解決するための手段】
【0006】
上記目的を達成するために、本発明に係る電磁接触器は、第1及び第2固定接点を有する一対の固定接触子と、第1及び第2固定接点に接離可能な第1及び第2可動接点を長手方向の両端に設けた可動接触子と、可動接触子を駆動する電磁石ユニットと、一対の固定接触子、可動接触子及び前記電磁石ユニットを収納する筐体と、を備えた電磁接触器において、筐体の内部に配置され、一対の固定接触子及び可動接触子を収納している樹脂製の消弧部と、消弧部に囲まれた空間であり、可動接触子の長手方向の一方側及び他方側に設けた第1及び第2アーク消弧空間と、第1固定接点及び第1可動接点の間に発生した第1アークを第1アーク消弧空間に引き延ばし、第2固定接点及び第2可動接点の間に発生した第2アークを第2アーク消弧空間に引き延ばす、互いに対向配置された第1及び第2アーク消弧用永久磁石と、消弧部の内部の第1アークが引き延ばされる方向を囲むように配置され、第1アークで発生した熱を吸収する第1冷却部材と、消弧部の内部の第2アークが引き延ばされる方向を囲むように配置され、第2アークで発生した熱を吸収する第2冷却部材と、を備えている。
【発明の効果】
【0007】
本発明の電磁接触器によれば、第1及び第2アークで発生する熱による樹脂製の消弧壁の損傷を防止し、消弧壁にアークの通電経路が生成されるのを抑制することで消弧性能の低下を防止することができる。
【図面の簡単な説明】
【0008】
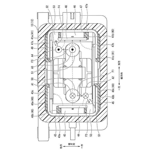
本発明に係る電磁接触器を示す斜視図である。
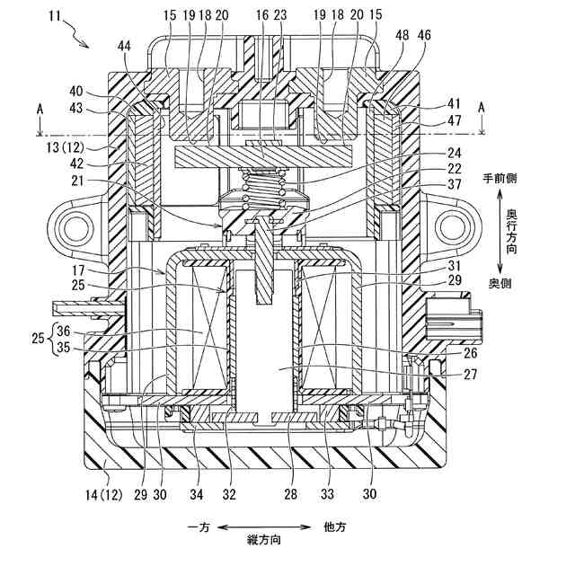
本発明に係る電磁接触器の内部構造を示す断面図である。
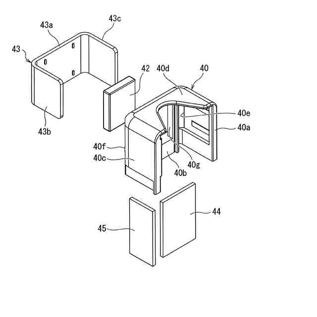
本発明に係る電磁接触器を構成する一方の消弧ケース及び消弧ケースに装着される構成部品を示す斜視図である。
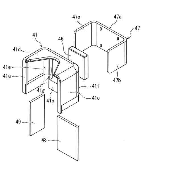
本発明に係る電磁接触器を構成する他方の消弧ケース及び消弧ケースに装着される構成部品を示す斜視図である。
図2におけるA-A線矢視図である。
【発明を実施するための形態】
【0009】
次に、図面を参照して、本発明に係る実施形態を説明する。以下の図面の記載において、同一又は類似の部分には同一又は類似の符号を付している。ただし、図面は模式的なものであり、厚みと平面寸法との関係、各層の厚みの比率等は現実のものとは異なることに留意すべきである。したがって、具体的な厚みや寸法は以下の説明を参酌して判断すべきものである。また、図面相互間においても互いの寸法の関係や比率が異なる部分が含まれていることはもちろんである。
【0010】
また、以下に示す実施形態は、本発明の技術的思想を具体化するための装置や方法を例示するものであって、本発明の技術的思想は、構成部品の材質、形状、構造、配置等を下記のものに特定するものでない。本発明の技術的思想は、特許請求の範囲に記載された請求項が規定する技術的範囲内において、種々の変更を加えることができる。
(【0011】以降は省略されています)
この特許をJ-PlatPat(特許庁公式サイト)で参照する
関連特許
富士電機株式会社
駆動回路
2日前
富士電機株式会社
自動販売機
9日前
富士電機株式会社
半導体装置
15日前
富士電機株式会社
自動販売装置
16日前
富士電機株式会社
硬貨処理装置
2日前
富士電機株式会社
硬貨処理装置
2日前
富士電機株式会社
商品収納装置
25日前
富士電機株式会社
学習システム
11日前
富士電機株式会社
飲料抽出装置
4日前
富士電機株式会社
金銭処理装置
10日前
富士電機株式会社
ショーケース
25日前
富士電機株式会社
半導体モジュール
8日前
富士電機株式会社
半導体モジュール
18日前
富士電機株式会社
ガス処理システム
5日前
富士電機株式会社
集積回路、電源回路
15日前
富士電機株式会社
制御装置、制御方法
2日前
富士電機株式会社
半導体装置の製造方法
17日前
富士電機株式会社
店舗情報設定システム
11日前
富士電機株式会社
セーフリスト管理方法
2日前
富士電機株式会社
冷却器及び半導体モジュール
8日前
富士電機株式会社
制御回路および電力供給回路
16日前
富士電機株式会社
電力変換装置及びその制御方法
25日前
富士電機株式会社
店舗内ショーケース制御システム
9日前
富士電機株式会社
スイッチング制御回路、電源回路
5日前
富士電機株式会社
ガス回収システム及びガス回収方法
4日前
富士電機株式会社
半導体装置の製造方法及び治具セット
4日前
富士電機株式会社
電力変換装置、制御装置及び制御方法
4日前
富士電機株式会社
部分放電測定装置及び部分放電測定方法
15日前
富士電機株式会社
紙幣処理装置及び新紙幣搬送動作確認方法
10日前
富士電機株式会社
制御支援装置、制御支援方法、及びプログラム
15日前
富士電機株式会社
半導体モジュールおよび半導体モジュールの製造方法
16日前
富士電機株式会社
異常種類提示装置、異常種類提示方法及びプログラム
29日前
富士電機株式会社
管理システム、発電システムおよび太陽光パネルの管理方法
2日前
富士電機株式会社
半導体装置
10日前
富士電機株式会社
セキュリティテスト実施装置およびセキュリティテスト実施方法
17日前
富士電機株式会社
セキュリティ監視装置、セキュリティ監視方法、及びプログラム
3日前
続きを見る
他の特許を見る