TOP
|
特許
|
意匠
|
商標
特許ウォッチ
Twitter
他の特許を見る
10個以上の画像は省略されています。
公開番号
2025158003
公報種別
公開特許公報(A)
公開日
2025-10-16
出願番号
2024060419
出願日
2024-04-03
発明の名称
半導体モジュールおよび半導体モジュールの製造方法
出願人
富士電機株式会社
代理人
個人
主分類
H01L
23/28 20060101AFI20251008BHJP(基本的電気素子)
要約
【課題】熱膨張/収縮によって繰り返し生じる応力を緩和し、樹脂クラックを抑え、信頼性を向上できる半導体モジュールおよび半導体モジュールの製造方法を提供する。
【解決手段】半導体モジュール50は、接合層25を介して半導体素子1を搭載した積層基板5と、半導体素子1と接合層25と積層基板5とを含む被封止部材を封止する封止樹脂8と、半導体素子1の上方の封止樹脂8の表面に設けられる、封止樹脂8より弾性率の低い低弾性率領域30と、を備る。封止樹脂8の貯蔵弾性率を100%としたときの低弾性率領域30の貯蔵弾性率を比弾性率とすると、比弾性率は0.83%以上100%未満である。
【選択図】図1
特許請求の範囲
【請求項1】
接合層を介して半導体素子を搭載した積層基板と、
前記半導体素子と前記接合層と前記積層基板とを含む被封止部材を封止する封止樹脂と、
前記半導体素子の上方の前記封止樹脂の表面に設けられる、前記封止樹脂より弾性率の低い低弾性率領域と、
を備え、
前記封止樹脂の貯蔵弾性率を100%としたときの前記低弾性率領域の貯蔵弾性率を比弾性率とすると、前記比弾性率は0.83%以上100%未満であることを特徴とする半導体モジュール。
続きを表示(約 930 文字)
【請求項2】
前記比弾性率は8%以上75%以下であることを特徴とする請求項1に記載の半導体モジュール。
【請求項3】
前記比弾性率は25%以上50%以下であることを特徴とする請求項1に記載の半導体モジュール。
【請求項4】
前記低弾性率領域は、ストライプ形状で、前記パワー半導体モジュールの短手方向と平行に設けられていることを特徴とする請求項1に記載の半導体モジュール。
【請求項5】
前記低弾性率領域は、ストライプ形状で、前記パワー半導体モジュールの短手方向と平行および前記パワー半導体モジュールの長手方向と平行に設けられていることを特徴とする請求項1に記載の半導体モジュール。
【請求項6】
前記低弾性率領域は、前記半導体素子の直上に設けられていることを特徴とする請求項1に記載の半導体モジュール。
【請求項7】
前記低弾性率領域は、前記半導体素子側の底部先端部は尖っていないことを特徴とする請求項1に記載の半導体モジュール。
【請求項8】
前記底部先端部の曲率Rは、0.5mm以上であることを特徴とする請求項7に記載の半導体モジュール。
【請求項9】
積層基板に接合層を介して半導体素子を搭載する第1工程と、
熱硬化性樹脂組成物で前記半導体素子と前記接合層と前記積層基板とを含む被封止部材を封止する第2工程と、
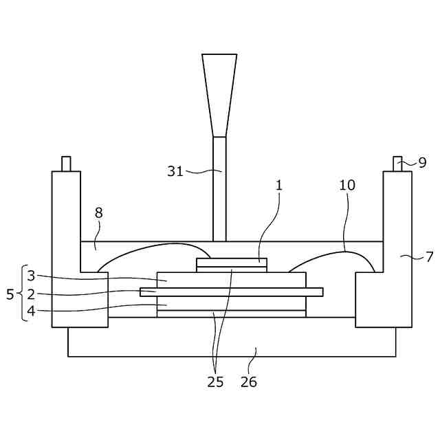
前記半導体素子の上方の前記熱硬化性樹脂組成物の表面に、前記熱硬化性樹脂組成物より弾性率の低い低弾性樹脂を注入する第3工程と、
前記熱硬化性樹脂組成物および前記低弾性樹脂を加熱硬化し、封止樹脂および低弾性率領域を形成する第4工程と、
を含み、
前記低弾性率領域は前記封止樹脂より弾性率が低いことを特徴とする半導体モジュールの製造方法。
【請求項10】
前記熱硬化性樹脂組成物の粘度を1としたときの前記熱硬化性樹脂組成物と前記低弾性樹脂の粘度比が1:1~1:0.35であることを特徴とする請求項9に記載の半導体モジュールの製造方法。
(【請求項11】以降は省略されています)
発明の詳細な説明
【技術分野】
【0001】
この開示は、半導体モジュールおよび半導体モジュールの製造方法に関する。
続きを表示(約 2,000 文字)
【背景技術】
【0002】
従来、ケースの封止材と対向する表面において、無機充填材がマトリックスから露出していることで、ポリフェニレンサルファイドと無機充填材を含むケースと封止材との間の剥離を抑制可能な半導体装置が提案されている(例えば、下記特許文献1参照)。
【先行技術文献】
【特許文献】
【0003】
特開2024-000325号公報
【発明の概要】
【発明が解決しようとする課題】
【0004】
しかしながら、従来の半導体装置では、熱膨張/収縮によって繰り返し生じる熱応力が封止材(封止樹脂)に負荷を与え、チップ直上の樹脂部にクラックが生じ、モジュール破壊へ至ることがあるという課題がある。
【0005】
本開示は、上述した従来技術による問題点を解消するため、熱膨張/収縮によって繰り返し生じる応力を緩和し、樹脂クラックを抑え、信頼性を向上できる半導体モジュールおよび半導体モジュールの製造方法を提供することを目的とする。
【課題を解決するための手段】
【0006】
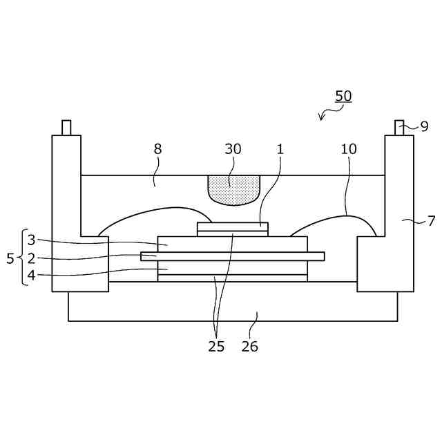
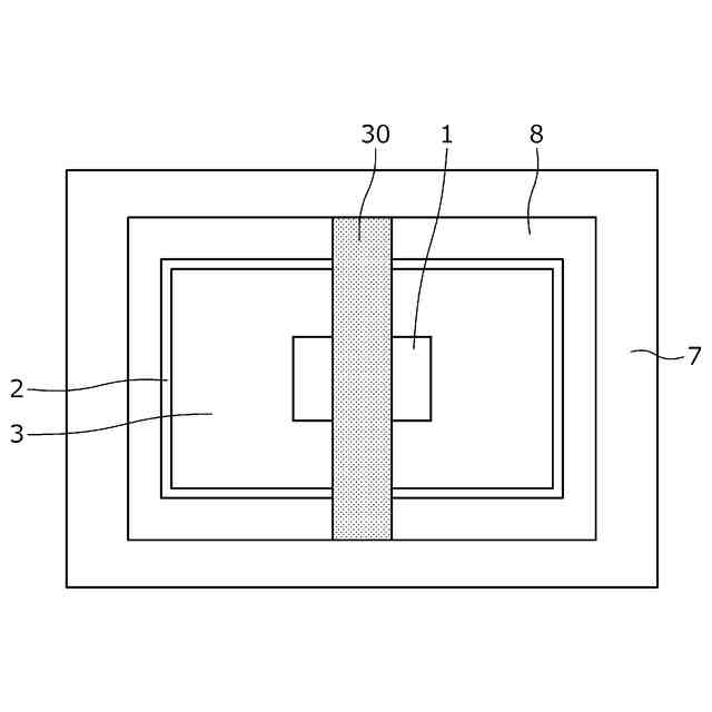
上述した課題を解決し、本開示の目的を達成するため、本開示にかかる半導体モジュールは、次の特徴を有する。接合層を介して半導体素子を搭載した積層基板と、前記半導体素子と前記接合層と前記積層基板とを含む被封止部材を封止する封止樹脂と、前記半導体素子の上方の前記封止樹脂の表面に設けられる、前記封止樹脂より弾性率の低い低弾性率領域と、を備える。前記封止樹脂の貯蔵弾性率を100%としたときの前記低弾性率領域の貯蔵弾性率を比弾性率とすると、前記比弾性率は0.83%以上100%未満である。
【0007】
上述した開示によれば、封止樹脂の最表面に弾性率の低い低弾性率領域を応力が集中しやすいパワー半導体チップ直上に設置することで、応力を緩和し、樹脂クラックを抑えることができる。
【発明の効果】
【0008】
本開示にかかる半導体モジュールおよび半導体モジュールの製造方法によれば、熱膨張/収縮によって繰り返し生じる応力を緩和し、樹脂クラックを抑え、信頼性を向上できるという効果を奏する。
【図面の簡単な説明】
【0009】
実施の形態にかかるパワー半導体モジュールの構造を示す断面図である。
実施の形態にかかるパワー半導体モジュールの構造を示す上面図である。
実施の形態にかかるパワー半導体モジュールの第1製法による製造途中の状態を模式的に示す断面図である(その1)。
実施の形態にかかるパワー半導体モジュールの第1製法による製造途中の状態を模式的に示す断面図である(その2)。
実施の形態にかかるパワー半導体モジュールの第1製法による製造途中の状態を模式的に示す断面図である(その3)。
実施の形態にかかるパワー半導体モジュールの第2製法による製造途中の状態を模式的に示す断面図である。
実施の形態にかかるパワー半導体モジュールの実施例12の構造を示す上面図である。
実施の形態にかかるパワー半導体モジュールの実施例13の構造を示す上面図である。
実施の形態にかかるパワー半導体モジュールの実施例14の構造を示す上面図である。
実施の形態にかかるパワー半導体モジュールに対する比較例7の構造を示す上面図である。
実施の形態にかかるパワー半導体モジュールに対する比較例8の構造を示す上面図である。
実施の形態にかかるパワー半導体モジュールの実施例15の構造を示す上面図である。
実施の形態にかかるパワー半導体モジュールの実施例16の構造を示す上面図である。
実施の形態にかかるパワー半導体モジュールの実施例17の構造を示す上面図である。
従来のパワー半導体モジュールの構造を示す断面図である。
従来のパワー半導体モジュールの構造における課題を示す断面図である。
従来のパワー半導体モジュールの構造における課題を示す上面図である。
【発明を実施するための形態】
【0010】
<本開示の実施形態の概要>
上述した課題を解決し、本開示の目的を達成するため、本開示にかかる半導体モジュールは、次の特徴を有する。接合層を介して半導体素子を搭載した積層基板と、前記半導体素子と前記接合層と前記積層基板とを含む被封止部材を封止する封止樹脂と、前記半導体素子の上方の前記封止樹脂の表面に設けられる、前記封止樹脂より弾性率の低い低弾性率領域と、を備える。前記封止樹脂の貯蔵弾性率を100%としたときの前記低弾性率領域の貯蔵弾性率を比弾性率とすると、前記比弾性率は0.83%以上100%未満である。
(【0011】以降は省略されています)
この特許をJ-PlatPat(特許庁公式サイト)で参照する
関連特許
富士電機株式会社
冷却装置
1か月前
富士電機株式会社
溶接装置
19日前
富士電機株式会社
冷却装置
1か月前
富士電機株式会社
搬送機構
19日前
富士電機株式会社
冷却装置
22日前
富士電機株式会社
電磁接触器
15日前
富士電機株式会社
半導体装置
19日前
富士電機株式会社
半導体装置
1日前
富士電機株式会社
半導体装置
15日前
富士電機株式会社
半導体装置
1か月前
富士電機株式会社
半導体装置
1か月前
富士電機株式会社
電磁接触器
15日前
富士電機株式会社
電磁接触器
15日前
富士電機株式会社
電磁接触器
15日前
富士電機株式会社
回路遮断器
16日前
富士電機株式会社
電磁接触器
15日前
富士電機株式会社
エンコーダ
16日前
富士電機株式会社
自動販売機
1か月前
富士電機株式会社
半導体装置
1か月前
富士電機株式会社
商品収納装置
11日前
富士電機株式会社
ショーケース
11日前
富士電機株式会社
分析システム
1か月前
富士電機株式会社
ショーケース
1か月前
富士電機株式会社
自動販売装置
2日前
富士電機株式会社
電力変換装置
1か月前
富士電機株式会社
冷却システム
1か月前
富士電機株式会社
半導体パッケージ
1か月前
富士電機株式会社
電力変換システム
1か月前
富士電機株式会社
半導体モジュール
1か月前
富士電機株式会社
電力変換システム
19日前
富士電機株式会社
チャンネルベース
15日前
富士電機株式会社
チャンネルベース
15日前
富士電機株式会社
電力変換システム
15日前
富士電機株式会社
半導体モジュール
4日前
富士電機株式会社
エレベータ制御装置
17日前
富士電機株式会社
エレベータ制御装置
17日前
続きを見る
他の特許を見る