TOP
|
特許
|
意匠
|
商標
特許ウォッチ
Twitter
他の特許を見る
10個以上の画像は省略されています。
公開番号
2025132913
公報種別
公開特許公報(A)
公開日
2025-09-10
出願番号
2024030805
出願日
2024-02-29
発明の名称
半導体装置
出願人
富士電機株式会社
代理人
弁理士法人RYUKA国際特許事務所
主分類
H10D
84/80 20250101AFI20250903BHJP()
要約
【課題】温度センスダイオードに接続されたダイオード配線をノイズから保護するとともに、ダイオード配線の下方の強度を向上させる。
【解決手段】半導体基板を備える半導体装置であって、前記半導体基板は、前記半導体基板の上面の上方に設けられた温度センスダイオードと前記半導体基板の上面の上方に設けられ、前記温度センスダイオードに接続されたダイオード配線と、前記ダイオード配線と前記半導体基板の上面との間の少なくとも一部に設けられた金属層と、前記金属層と前記半導体基板の上面との間に設けられた第1層間絶縁膜と、前記ダイオード配線と前記金属層との間に設けられた第2層間絶縁膜とを有する半導体装置を提供する。
【選択図】図2
特許請求の範囲
【請求項1】
半導体基板を備える半導体装置であって、
前記半導体基板は、
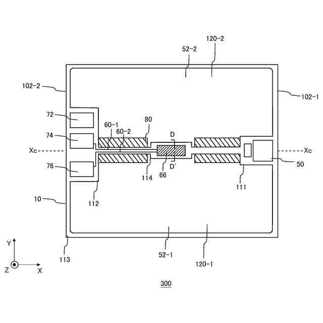
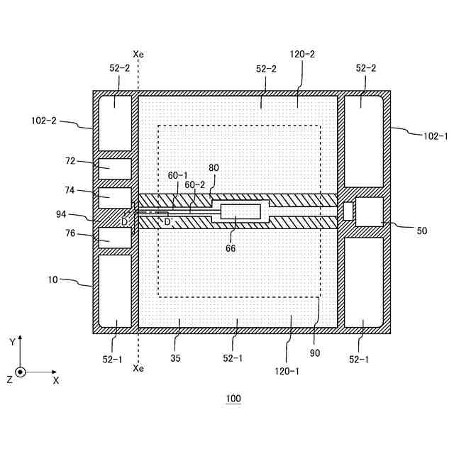
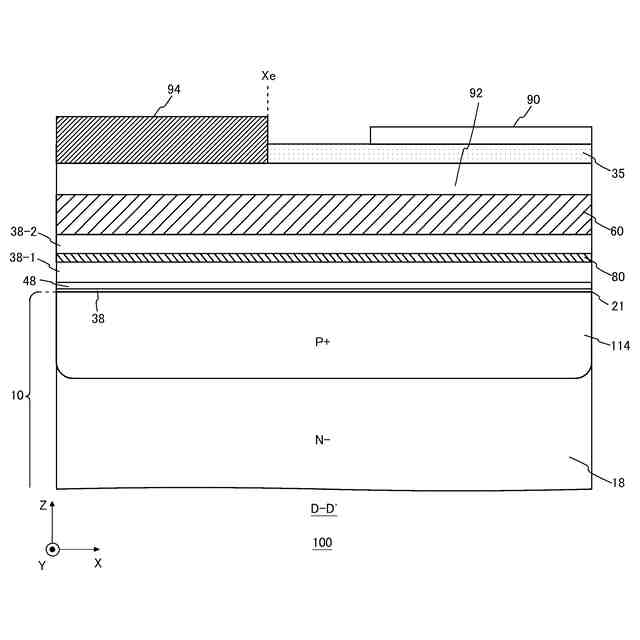
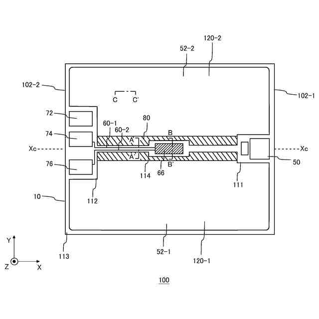
前記半導体基板の上面の上方に設けられた温度センスダイオードと
前記半導体基板の上面の上方に設けられ、前記温度センスダイオードに接続されたダイオード配線と、
前記ダイオード配線と前記半導体基板の上面との間の少なくとも一部に設けられた金属層と、
前記金属層と前記半導体基板の上面との間に設けられた第1層間絶縁膜と、
前記ダイオード配線と前記金属層との間に設けられた第2層間絶縁膜と
を有する半導体装置。
続きを表示(約 760 文字)
【請求項2】
前記金属層は、前記温度センスダイオードと前記半導体基板の上面との間の少なくとも一部にも設けられている
請求項1に記載の半導体装置。
【請求項3】
前記金属層は、アルミニウムよりも硬い金属を含む
請求項1に記載の半導体装置。
【請求項4】
前記金属層は、タングステン、チタンまたはタンタルの少なくとも1種類を含む
請求項3に記載の半導体装置。
【請求項5】
前記半導体基板の上面の上方に設けられ、前記半導体基板の上面の一部の領域に接触する上面電極を更に備え、
前記上面電極は、前記金属層に接続されている
請求項1から4のいずれか一項に記載の半導体装置。
【請求項6】
前記上面電極は、上面視において、前記ダイオード配線と重ならない
請求項5に記載の半導体装置。
【請求項7】
前記金属層は、前記上面電極よりも硬い金属を含む
請求項6に記載の半導体装置。
【請求項8】
前記金属層は、前記ダイオード配線および前記温度センスダイオードと重ならない領域で、前記半導体基板の上面に接する
請求項6に記載の半導体装置。
【請求項9】
前記第2層間絶縁膜の側面は、前記上面電極に接している
請求項6に記載の半導体装置。
【請求項10】
前記上面電極は、上面視において前記ダイオード配線をはさむ第1部分および第2部分を含み、
前記金属層は、前記第1部分から、前記ダイオード配線の下方を通過して、前記第2部分まで設けられている
請求項6に記載の半導体装置。
(【請求項11】以降は省略されています)
発明の詳細な説明
【技術分野】
【0001】
本発明は、半導体装置に関する。
続きを表示(約 1,200 文字)
【背景技術】
【0002】
従来、感熱素子下の半導体層の拡散構造に制限されることがなく、感熱素子を半導体基板と電気的に分離して配置できる半導体装置が知られている(例えば、特許文献1参照)。また、チップ面積の増大を抑えながら、温度検出精度が安定した温度センス部を備える半導体装置が知られている。(例えば、特許文献2参照)。
[先行技術文献]
[特許文献]
[特許文献1] 特開2005-26279号公報
[特許文献2] 特許第6872933号公報
【発明の概要】
【発明が解決しようとする課題】
【0003】
温度センスダイオードに接続されたダイオード配線をノイズから保護するとともに、ダイオード配線の下方の強度を向上させる。
【課題を解決するための手段】
【0004】
上記課題を解決するために、本発明の第1の態様においては、半導体基板を備える半導体装置を提供する。上記半導体装置において、前記半導体基板は、前記半導体基板の上面の上方に設けられた温度センスダイオードを有してよい。上記いずれかの半導体装置において、前記半導体基板は、前記半導体基板の上面の上方に設けられ、前記温度センスダイオードに接続されたダイオード配線を有してよい。上記半導体装置において、前記半導体基板は、前記ダイオード配線と前記半導体基板の上面との間の少なくとも一部に設けられた金属層を有してよい。上記半導体装置において、前記半導体基板は、前記金属層と前記半導体基板の上面との間に設けられた第1層間絶縁膜を有してよい。上記半導体装置において、前記半導体基板は、前記ダイオード配線と前記金属層との間に設けられた第2層間絶縁膜を有してよい。
【0005】
上記いずれかの半導体装置において、前記金属層は、前記温度センスダイオードと前記半導体基板の上面との間の少なくとも一部にも設けられてよい。
【0006】
上記いずれかの半導体装置において、前記金属層は、アルミニウムよりも硬い金属を含んでよい。
【0007】
上記いずれかの半導体装置において、前記金属層は、タングステン、チタンまたはタンタルの少なくとも1種類を含んでよい。
【0008】
上記いずれかの半導体装置は、前記半導体基板の上面の上方に設けられ、前記半導体基板の上面の一部の領域に接触する上面電極を更に備えてよい。上記いずれかの半導体装置において、前記上面電極は、前記金属層に接続されてよい。
【0009】
上記いずれかの半導体装置において、前記上面電極は、上面視において、前記ダイオード配線と重ならなくてよい。
【0010】
上記いずれかの半導体装置において、前記金属層は、前記上面電極よりも硬い金属を含んでよい。
(【0011】以降は省略されています)
この特許をJ-PlatPat(特許庁公式サイト)で参照する
関連特許
富士電機株式会社
溶接装置
11日前
富士電機株式会社
搬送機構
11日前
富士電機株式会社
冷却装置
14日前
富士電機株式会社
半導体装置
7日前
富士電機株式会社
回路遮断器
8日前
富士電機株式会社
エンコーダ
8日前
富士電機株式会社
自動販売機
1か月前
富士電機株式会社
半導体装置
29日前
富士電機株式会社
半導体装置
11日前
富士電機株式会社
半導体装置
1か月前
富士電機株式会社
半導体装置
1か月前
富士電機株式会社
電磁接触器
7日前
富士電機株式会社
電磁接触器
7日前
富士電機株式会社
電磁接触器
7日前
富士電機株式会社
電磁接触器
7日前
富士電機株式会社
電磁接触器
7日前
富士電機株式会社
ショーケース
3日前
富士電機株式会社
商品収納装置
3日前
富士電機株式会社
冷却システム
1か月前
富士電機株式会社
分析システム
1か月前
富士電機株式会社
ショーケース
1か月前
富士電機株式会社
半導体パッケージ
1か月前
富士電機株式会社
電力変換システム
11日前
富士電機株式会社
チャンネルベース
7日前
富士電機株式会社
チャンネルベース
7日前
富士電機株式会社
電力変換システム
7日前
富士電機株式会社
電力変換システム
1か月前
富士電機株式会社
エレベータ制御装置
1か月前
富士電機株式会社
エレベータ制御装置
9日前
富士電機株式会社
エレベータ制御装置
9日前
富士電機株式会社
冷却器及び半導体装置
7日前
富士電機株式会社
自動販売機の保護装置
14日前
富士電機株式会社
測定方法及び製造方法
14日前
富士電機株式会社
ブレード部品の固定機構
1か月前
富士電機株式会社
半導体モジュール及び車両
15日前
富士電機株式会社
店舗内位置情報取得システム
8日前
続きを見る
他の特許を見る