TOP
|
特許
|
意匠
|
商標
特許ウォッチ
Twitter
他の特許を見る
公開番号
2025140642
公報種別
公開特許公報(A)
公開日
2025-09-29
出願番号
2024040171
出願日
2024-03-14
発明の名称
電力変換システム
出願人
富士電機株式会社
代理人
個人
,
個人
主分類
H02M
7/48 20070101AFI20250919BHJP(電力の発電,変換,配電)
要約
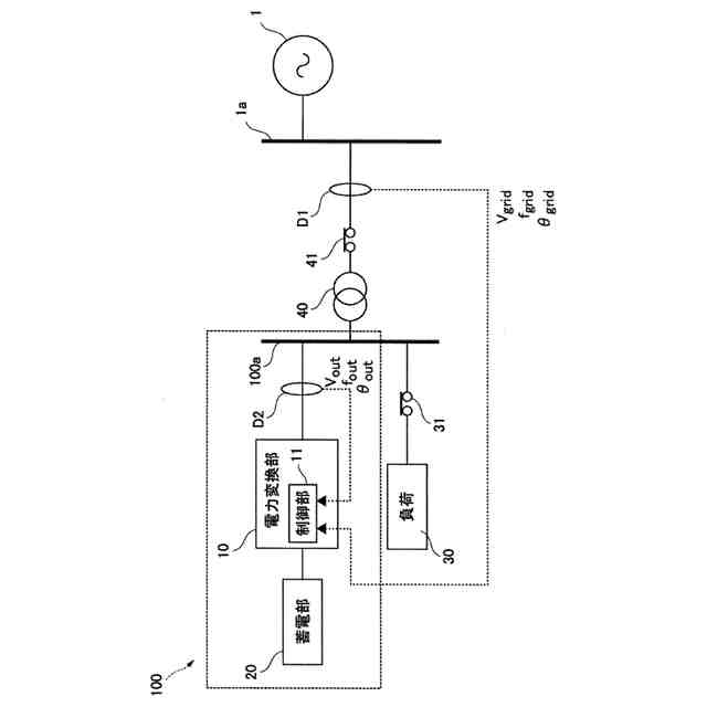
【課題】自立運転状態から系統連系運転状態へ安定して移行するように、電力変換部と電力系統とを同期させることが可能な電力変換システムを提供する。
【解決手段】制御部11は、自立運転状態から系統連系運転状態に切り替わる遷移期間において、出力検出部D2によって検出される出力電圧の振幅値V
out
、周波数f
out
および位相θ
out
の値と、電力系統1と電力変換部10とが接続される連系点において連系点検出部D1によって検出される連系点電圧の振幅値V
grid
、周波数f
grid
および位相θ
grid
の値とに基づいて、出力電圧の振幅値V
out
、周波数f
out
および位相θ
out
の各々に対応する値と、連系点の電圧の振幅値V
grid
、周波数f
grid
、および位相θ
grid
の各々に対応する値との差を、所定の連系しきい値以下にする制御を行うように構成されている。
【選択図】図2
特許請求の範囲
【請求項1】
直流電力を蓄電および放電する蓄電部と、
電力系統から交流電力が供給される系統連系運転状態において、前記電力系統から供給される交流電力を直流電力に変換して前記蓄電部に出力し、前記電力系統から供給される交流電力が遮断されている自立運転状態において前記蓄電部から供給される直流電力を交流電力に変換して負荷に出力する電力変換部と、
制御部とを備え、
前記制御部は、前記自立運転状態から前記系統連系運転状態に切り替わる遷移期間において、前記蓄電部から供給されて前記電力変換部によって出力されるとともに出力検出部によって検出される出力電圧の振幅、周波数、および位相の値と、前記電力系統と前記電力変換部とが接続される連系点において連系点検出部によって検出される連系点電圧の振幅、周波数、および位相の値とに基づいて、前記出力電圧の振幅、周波数、および位相の各々に対応する値と、前記連系点の電圧の振幅、周波数、および位相の各々に対応する値との差を、所定の連系しきい値以下にする制御を行うように構成されている、電力変換システム。
続きを表示(約 1,700 文字)
【請求項2】
前記制御部は、前記遷移期間における前記出力電圧の振幅、周波数、および位相の各々の目標値の生成の際に、前記連系点における電圧の振幅、周波数、および位相の各々に基づいて生成される遷移用入力値に基づいて制御係数を生成し、前記制御係数に基づいて、前記出力電圧の振幅、周波数、および位相の各々に対応する値と、前記連系点の電圧の振幅、周波数、および位相の各々に対応する値との差を、前記所定の連系しきい値以下にする制御を行うように構成されている、請求項1に記載の電力変換システム。
【請求項3】
前記制御部は、前記遷移期間において、前記自立運転状態における前記目標値を切り替えずに、前記遷移用入力値を追加して入力することにより、前記制御係数を生成するように構成されている、請求項2に記載の電力変換システム。
【請求項4】
前記制御部は、前記遷移期間において、前記連系点の電圧の位相に対応する値と、生成された前記出力電圧に対する位相目標値とに基づいて生成されている前記遷移用入力値に基づいて、前記制御係数を取得するように構成されている、請求項3に記載の電力変換システム。
【請求項5】
前記制御部は、前記遷移期間において、前記出力電圧に対する周波数目標値を生成するために用いる有効電力目標値に対して、前記遷移用入力値のうちの周波数に対応する値を入力することによって補正有効電力目標値を生成し、前記補正有効電力目標値に基づいて、前記出力電圧の周波数に対応する値と、前記電力系統の電圧の周波数に対応する値との差を、前記所定の連系しきい値としての周波数しきい値以下にする制御を行うように構成されている、請求項3に記載の電力変換システム。
【請求項6】
前記制御部は、前記遷移期間において、前記出力電圧に対する位相目標値を生成するために用いる有効電力目標値に対して、前記遷移用入力値のうちの位相に対応する値を入力することによって位相補正値を生成し、前記位相補正値に基づいて、前記出力電圧の位相に対応する値と、前記電力系統の電圧の位相に対応する値との差を、前記所定の連系しきい値としての位相しきい値以下にする制御を行うように構成されている、請求項3に記載の電力変換システム。
【請求項7】
前記制御部は、前記電力変換部の動作に仮想的な慣性力を持たせるような仮想同期発電機機能を持たせる制御を行い、前記遷移用入力値のうちの位相に対応する値を、前記慣性力を発生させるための制御項である慣性項に組み込むことにより、前記出力電圧の位相に対応する値と、前記電力系統の電圧の位相に対応する値との差を、前記位相しきい値以下にする制御を行う、請求項6に記載の電力変換システム。
【請求項8】
前記制御部は、前記遷移期間において、前記連系点の電圧の振幅、周波数、および位相に対応する各々の値と、前記出力電圧を変圧器によって昇圧した昇圧出力電圧の振幅、周波数、および位相の各々に対応する値とに基づいて生成されている前記遷移用入力値に基づいて、前記制御係数を生成するように構成されている、請求項2に記載の電力変換システム。
【請求項9】
前記制御部は、前記自立運転状態において、前記出力電圧の振幅、周波数、および位相の各々に対応する値と、前記連系点の電圧の振幅、周波数、および位相の各々に対応する値との差が、前記所定の連系しきい値より大きい所定の遷移用運転しきい値以下となった場合に、前記遷移用入力値の取得を開始するように構成されている、請求項2に記載の電力変換システム。
【請求項10】
前記制御部は、前記遷移期間において、前記出力電圧の振幅、周波数、および位相に対応する各々の値と、前記電力系統の電圧の振幅、周波数、および位相に対応する各々の値との差が前記所定の連系しきい値以下になった場合に、連系運転状態用の制御を開始するように構成されている、請求項1に記載の電力変換システム。
(【請求項11】以降は省略されています)
発明の詳細な説明
【技術分野】
【0001】
この発明は、電力変換システムに関し、特に、自立運転と系統連系運転とを切り替えて負荷に電力を供給する電力変換システムに関する。
続きを表示(約 2,800 文字)
【背景技術】
【0002】
従来、自立運転と系統連系運転とを切り替えて負荷に電力を供給する電力変換システムが知られている(たとえば、特許文献1参照)。
【0003】
上記特許文献1には、太陽電池および蓄電部を含む分散型電源と系統電源とを連系して、負荷としての家庭内の機器に電力を供給する分散型電源システム(電力変換システム)が開示されている。また、この上記特許文献1の電力変換システムは、分散型電源と系統電源との電力の譲受を行うパワーコンディショナを備えており、系統電源との連系運転を行っている。また、上記特許文献1の電力変換システムは、系統電源の異常を検出する検出手段を備え、検出手段の出力に基づいて、負荷と系統電源との間の開閉手段の開閉を制御している。これにより、上記特許文献1の電力変換システムは、系統電源の異常発生時には、負荷と系統電源との間の開閉手段を開くことにより、分散型電源を用いた自立運転に切り替えて負荷へ電力を供給している。また、上記特許文献1の電力変換システムは、自立運転中に、系統電源の復旧を検知した際には、負荷と系統電源との間の開閉手段を閉じて、系統連系運転に切り替えることにより、負荷へ電力を供給している。
【先行技術文献】
【特許文献】
【0004】
特開平10-23673号公報
【発明の概要】
【発明が解決しようとする課題】
【0005】
上記の通り、上記特許文献1には、自立運転中に、系統電源の復旧を検知した際には、負荷と系統電源との間の開閉手段を閉じて、系統連系運転に切り替える構成が開示されている。しかしながら、上記特許文献1には、自立運転から系統連系運転に切り替える詳細な制御構成が開示されていないため、局所系統内および電力系統の各々における電圧の振幅、周波数、および位相のうち、少なくとも1つの同期が取れていない場合には、連系運転を開始した際に、負荷に供給する電圧が不安定となり、負荷が停止してしまう場合があると考えられる。そのため、自立運転状態から系統連系運転状態へ安定して移行するように、電力変換部と電力系統とを同期させることが可能な電力変換システムが望まれている。
【0006】
この発明は、上記のような課題を解決するためになされたものであり、この発明の1つの目的は、自立運転状態から系統連系運転状態へ安定して移行するように、電力変換部と電力系統とを同期させることが可能な電力変換システムを提供することである。
【課題を解決するための手段】
【0007】
上記目的を達成するために、この発明の一の局面による電力変換システムは、電力系統から交流電力が供給される系統連系運転状態において、電力系統から供給される直流電力を蓄電する蓄電部と、系統連系運転状態において電力系統から供給される交流電力を直流電力に変換し、電力系統から供給される交流電力が遮断されている自立運転状態において蓄電部から供給される直流電力を交流電力に変換して負荷に出力する電力変換部と、制御部とを備え、制御部は、自立運転状態から系統連系運転状態に切り替わる遷移期間において、蓄電部から供給されて電力変換部によって出力されるとともに出力検出部によって検出される出力電圧の振幅、周波数、および位相の値と、電力系統と電力変換部とが接続される連系点において連系点検出部によって検出される連系点電圧の振幅、周波数、および位相の値とに基づいて、出力電圧の振幅、周波数、および位相の各々に対応する値と、連系点の電圧の振幅、周波数、および位相の各々に対応する値との差を、所定の連系しきい値以下にする制御を行うように構成されている。
【0008】
この発明の一の局面による電力変換システムは、上記のように、制御部は、自立運転状態から系統連系運転状態に切り替わる遷移期間において、蓄電部から供給されて電力変換部によって出力されるとともに出力検出部によって検出される出力電圧の振幅、周波数、および位相の値と、電力系統と電力変換部とが接続される連系点において連系点検出部によって検出される連系点電圧の振幅、周波数、および位相の値とに基づいて、出力電圧の振幅、周波数、および位相の各々に対応する値と、連系点の電圧の振幅、周波数、および位相の各々に対応する値との差を、所定の連系しきい値以下にする制御を行うように構成されている。これにより、自立運転状態から系統連系運転状態に切り替わる遷移期間において、電力変換部から出力される出力電圧と、電力系統に接続された連系点の電圧との各々における振幅、周波数、および位相の全てを検出して比較して同期を行うことができるため、局所系統と電力系統とを接続しても電圧が不安定にならないような制御を行うことができる。その結果、自立運転状態から系統連系運転状態へ安定して移行するように、電力変換部と電力系統とを同期させることができる。
【0009】
上記一の局面による電力変換システムにおいて、好ましくは、制御部は、遷移期間における出力電圧の振幅、周波数、および位相の各々の目標値の生成の際に、連系点における電圧の振幅、周波数、および位相の各々に基づいて生成される遷移用入力値に基づいて制御係数を生成し、制御係数に基づいて、出力電圧の振幅、周波数、および位相の各々に対応する値と、連系点の電圧の振幅、周波数、および位相の各々に対応する値との差を、所定の連系しきい値以下にする制御を行うように構成されている。このように構成すれば、遷移期間において使用する遷移用入力値に基づいて、目標値を補正するような制御係数を用いるため、電力変換部から出力される出力電圧と、電力系統に接続された連系点の電圧とを容易に同期させることができる。
【0010】
この場合、好ましくは、制御部は、遷移期間において、自立運転状態における目標値を切り替えずに、遷移用入力値を追加して入力することにより、制御係数を生成するように構成されている。ここで、たとえば、自立運転状態における目標値と遷移期間における補正目標値とを、切り替え機などを用いて切り替えるように構成する場合、制御が不連続となる時間が生じ、電力供給が停止される時間において負荷を停止させてしまう場合がある。これに対して、上記のように構成すれば、自立運転状態における目標値と遷移期間における補正目標値とを連続的に変更するため、系統連系運転状態への遷移動作を行う際にも、電力供給の途切れをなくして負荷への電力供給を行うことができる。
(【0011】以降は省略されています)
この特許をJ-PlatPat(特許庁公式サイト)で参照する
関連特許
富士電機株式会社
回路遮断器
20日前
富士電機株式会社
半導体装置
19日前
富士電機株式会社
エンコーダ
20日前
富士電機株式会社
半導体装置
5日前
富士電機株式会社
電磁接触器
19日前
富士電機株式会社
電磁接触器
19日前
富士電機株式会社
電磁接触器
19日前
富士電機株式会社
電磁接触器
19日前
富士電機株式会社
電磁接触器
19日前
富士電機株式会社
ショーケース
15日前
富士電機株式会社
金銭処理装置
今日
富士電機株式会社
学習システム
1日前
富士電機株式会社
自動販売装置
6日前
富士電機株式会社
商品収納装置
15日前
富士電機株式会社
チャンネルベース
19日前
富士電機株式会社
チャンネルベース
19日前
富士電機株式会社
電力変換システム
19日前
富士電機株式会社
半導体モジュール
8日前
富士電機株式会社
集積回路、電源回路
5日前
富士電機株式会社
店舗情報設定システム
1日前
富士電機株式会社
半導体装置の製造方法
7日前
富士電機株式会社
冷却器及び半導体装置
19日前
富士電機株式会社
窒化物半導体装置の製造方法
19日前
富士電機株式会社
冷却器及び半導体モジュール
19日前
富士電機株式会社
店舗内位置情報取得システム
20日前
富士電機株式会社
制御回路および電力供給回路
6日前
富士電機株式会社
半導体装置及びその製造方法
19日前
富士電機株式会社
炭化珪素半導体装置の製造方法
19日前
富士電機株式会社
電力変換装置及びその制御方法
15日前
富士電機株式会社
半導体装置及び半導体装置の製造方法
19日前
富士電機株式会社
部分放電測定装置及び部分放電測定方法
5日前
富士電機株式会社
紙幣処理装置及び新紙幣搬送動作確認方法
今日
富士電機株式会社
トリミングシステムおよび半導体モジュール
20日前
富士電機株式会社
制御支援装置、制御支援方法、及びプログラム
5日前
富士電機株式会社
異常種類提示装置、異常種類提示方法及びプログラム
19日前
富士電機株式会社
半導体モジュールおよび半導体モジュールの製造方法
6日前
続きを見る
他の特許を見る