TOP
|
特許
|
意匠
|
商標
特許ウォッチ
Twitter
他の特許を見る
10個以上の画像は省略されています。
公開番号
2025145596
公報種別
公開特許公報(A)
公開日
2025-10-03
出願番号
2024045867
出願日
2024-03-22
発明の名称
冷却器及び半導体装置
出願人
富士電機株式会社
代理人
インフォート弁理士法人
主分類
H01L
23/473 20060101AFI20250926BHJP(基本的電気素子)
要約
【課題】半導体装置に適用される冷却器の冷却性能を向上させる。
【解決手段】冷却器(2)は、冷媒の流路(250)における平坦な第1の面(201)を形成する天板(200)と、冷媒の流路における第1の面と対向する第2の面(261)を形成する底板(220)と、底板の第2の面から第1の面に向かって立設された複数の突起部(262)と、を備え、複数の突起部は、冷媒の流路における上流から下流に向かう第2の方向と実質的に平行な第1の方向に第1の距離(P2)だけ、及び前記第1の方向と直交する方向に第2の距離(P1/2)だけ並進した位置に別の突起部が配置されるように設けられており、底板の第2の面は、第1の方向に凸部の頂点(263)と凹部の頂点(264)が交互に現れ、凸部の頂点の各々と凹部の頂点の各々が第2の方向に延伸する波形に形成される。
【選択図】図5
特許請求の範囲
【請求項1】
冷媒の流路における平坦な第1の面を形成する天板と、
前記冷媒の流路における前記第1の面と対向する第2の面を形成する底板と、
前記底板の前記第2の面から前記第1の面に向かって立設された複数の突起部と、を備え、
前記複数の突起部は、前記冷媒の流路における上流から下流に向かう方向と実質的に平行な第1の方向に第1の距離だけ、及び前記第1の方向と直交する第2の方向に第2の距離だけ並進した位置に別の突起部が配置されるように設けられており、前記底板の前記第2の面は、前記第1の方向に凸部の頂点と凹部の頂点が交互に現れ、前記凸部の頂点の各々と前記凹部の頂点の各々が前記第2の方向に延伸する波形に形成される
ことを特徴とする冷却器。
続きを表示(約 1,200 文字)
【請求項2】
前記凸部の頂点は、前記第1の方向における第1の突起部の中心と前記第1の突起部の一つ上流側の第2の突起部の下流端との間に位置し、前記凹部の頂点は、前記第1の方向における前記第1の突起部の前記上流端と前記第2の突起部の中心との間に位置することを特徴とする請求項1に記載の冷却器。
【請求項3】
前記第1の方向における前記凹部の頂点から下流側の凸部の頂点までの距離が、前記凹部の頂点から上流側の凸部の頂点までの距離よりも短いことを特徴とする請求項1に記載の冷却器。
【請求項4】
前記天板における前記第1の面の裏面に配線板及び半導体素子を搭載可能であり、前記波形底面の凸部の頂点のうちの、前記天板の前記第1の面の平面視における前記半導体素子が搭載される領域の中心に近い凸部の頂点から前記天板の前記第1の面までの距離が、他の凸部の頂点から前記第1の面までの距離よりも短いことを特徴とする請求項1に記載の冷却器。
【請求項5】
前記波形底面の凸部の頂点のうちの、前記第1の方向における最下流に位置する凸部の頂点から前記天板の前記第1の面までの距離が、他の凸部の頂点から前記第1の面までの距離よりも長いことを特徴とする請求項1に記載の冷却器。
【請求項6】
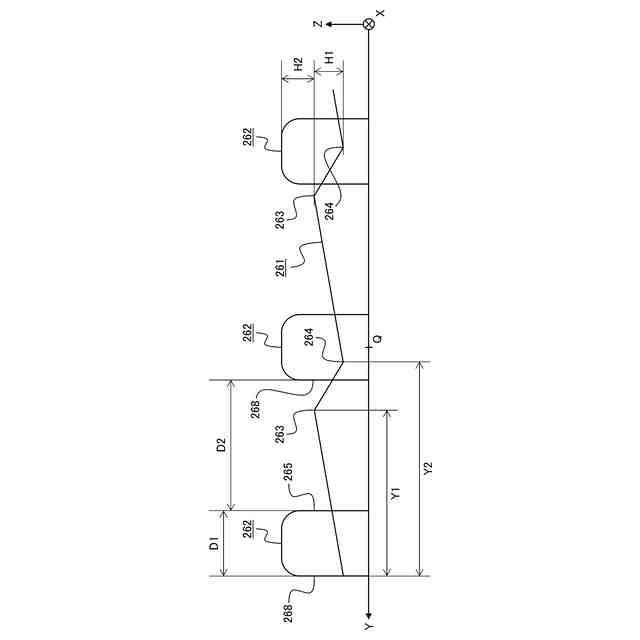
前記波形底面における凸部の頂点から凹部の頂点までの距離H1と、前記凸部の頂点から前記突起部の上端までの距離H2との比H1/H2が、1.4≧H1/H2≧0.2の範囲内であることを特徴とする請求項1に記載の冷却器。
【請求項7】
前記第1の方向における前記第1の突起部の下流端から前記凸部の頂点までの距離Y1と、前記第1の突起部の下流端から前記第2の突起部の下流端までの距離D1+D2との比Y1/(D1+D2)が、1.0≧Y1/(D1+D2)≧0.5の範囲内であることを特徴とする請求項2に記載の冷却器。
【請求項8】
前記第1の方向における前記第1の突起部の下流端から前記凹部の頂点までの距離Y2と、前記第1の突起部の下流端から前記第2の突起部の下流端までの距離D1+D2との比Y2/(D1+D2)が、1.26≧Y2/(D1+D2)≧0.74の範囲内であることを特徴とする請求項2に記載の冷却器。
【請求項9】
前記天板における前記第1の面の裏面に、前記第1の方向に沿って、配線板及び半導体素子の組を複数組搭載可能であり、前記波形底面は、平面視で前記配線板と重なる領域のそれぞれにおける波形が同一であることを特徴とする請求項1に記載の冷却器。
【請求項10】
請求項1~9のいずれかに記載の冷却器と、前記冷却器における前記天板の前記第1の面の裏面に搭載された配線板及び半導体素子と、を備える
ことを特徴とする半導体装置。
発明の詳細な説明
【技術分野】
【0001】
本発明は、冷却器及び半導体装置に関する。
続きを表示(約 2,200 文字)
【背景技術】
【0002】
インバータ装置等の電力変換装置に用いられる半導体装置には、半導体素子が発した熱を放熱するための冷媒を循環させる冷却器を備えたものがある。この種の冷却器は、冷媒を循環させる流路に複数のフィンが設けられている(例えば、特許文献1~3)。
【先行技術文献】
【特許文献】
【0003】
特開2006-100293号公報
特開2011-165939号公報
特開2014-82466号公報
【発明の概要】
【発明が解決しようとする課題】
【0004】
上述した半導体装置では、冷却器の冷却性能の向上が望まれている。
【0005】
本発明は、かかる点に鑑みてなされたものであり、半導体装置に適用される冷却器の冷却性能を向上させることを一つの目的とする。
【課題を解決するための手段】
【0006】
本発明の一態様の冷却器は、冷媒の流路における平坦な第1の面を形成する天板と、前記冷媒の流路における前記第1の面と対向する第2の面を形成する底板と、前記底板の前記第2の面から前記第1の面に向かって立設された複数の突起部と、を備え、前記複数の突起部は、前記冷媒の流路における上流から下流に向かう方向と実質的に平行な第1の方向に第1の距離だけ、及び前記第1の方向と直交する第2の方向に第2の距離だけ並進した位置に別の突起部が配置されるように設けられており、前記底板の前記第2の面は、前記第1の方向に凸部の頂点と凹部の頂点が交互に現れ、前記凸部の頂点の各々と前記凹部の頂点の各々が前記第2の方向に延伸する波形に形成される。
【発明の効果】
【0007】
本発明によれば、半導体装置に適用される冷却器の冷却性能を向上させることができる。
【図面の簡単な説明】
【0008】
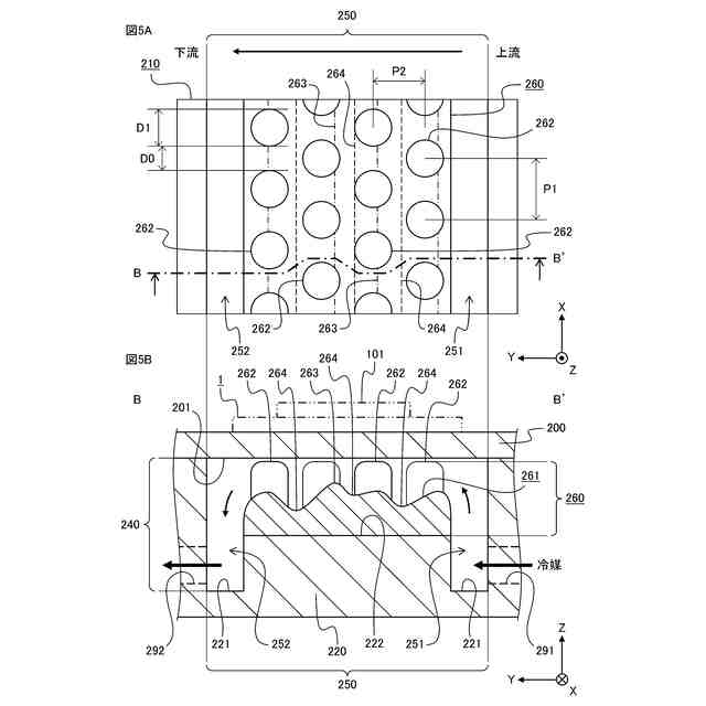
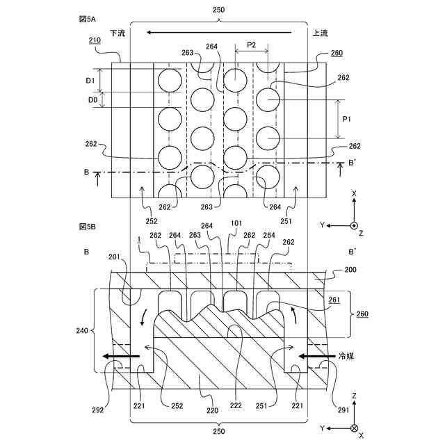
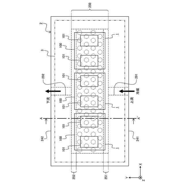
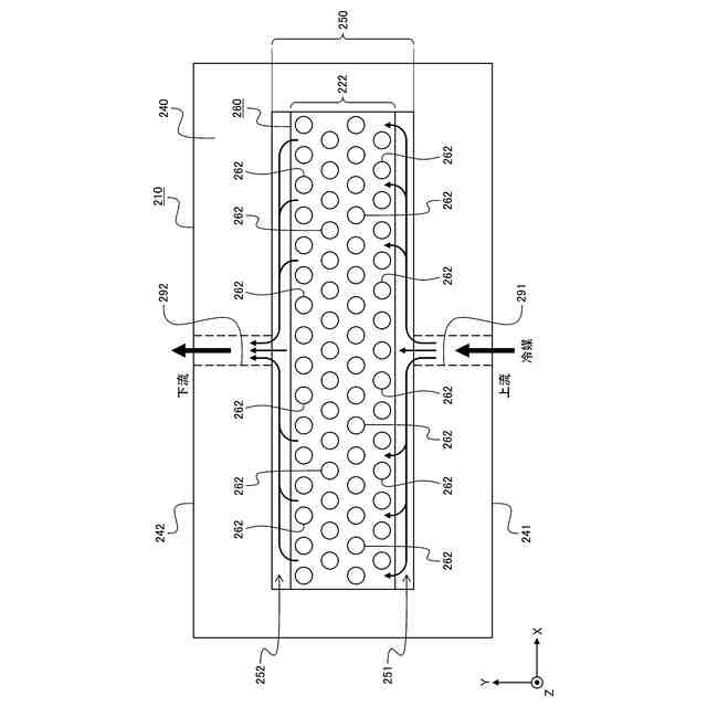
一実施の形態に係る冷却器の構成例を示す平面図である。
図1の冷却器における冷媒の流路を例示する平面図である。
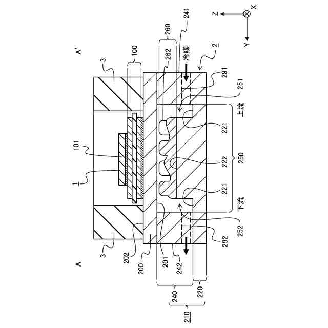
図1のA-A’線で切断した冷却器の構成例を示す断面側面図である。
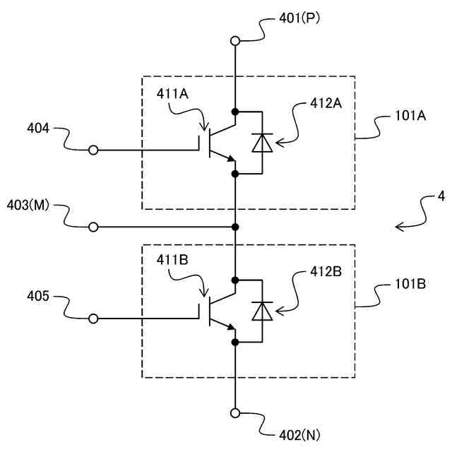
冷却の対象となる半導体素子を含む電子回路の例を示す等価回路図である。
一実施の形態に係る冷却器の乱流発生部材の構成例を説明する部分拡大平面図(図5A)及び断面側面図(図5B)である。
一実施の形態に係る冷却器内での冷媒の流れを説明する断面側面図である。
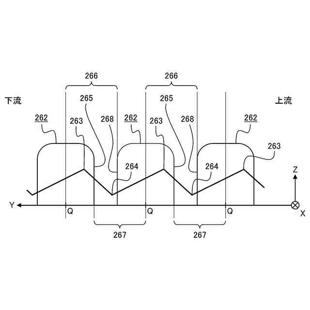
乱流発生部材の波形底面における凸部の頂点と凹部の頂点の位置関係を説明する図である。
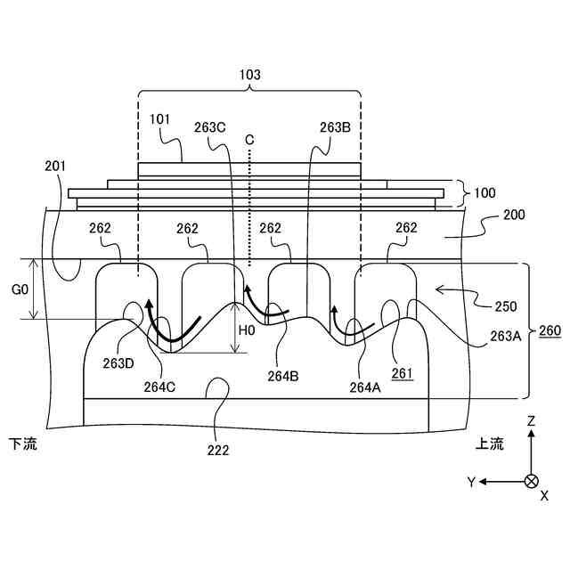
乱流発生部材における各部の形状の定義を説明する図である。
一実施の形態に係る冷却器における突起部列の配置の変形例を説明する平面図である。
図9の冷却器における乱流発生部材の波形底面の形状の例を説明する断面側面図である。
図11A及び図11Bは、冷却器の構成の変形例を説明する断面側面図である。
冷却器の構成の更に別の変形例を説明する断面側面図である。
【発明を実施するための形態】
【0009】
以下、図面を参照しながら、本発明の実施の形態を詳細に説明する。なお、参照する各図におけるX軸、Y軸、及びZ軸は、例示する半導体装置や冷却器等における平面や方向を定義する目的で示されている。X軸、Y軸、及びZ軸は互いに直交し、右手系を成している。以下の説明では、X軸に平行な方向をX方向と呼び、Y軸に平行な方向をY方向と呼び、Z軸に平行な方向をZ方向と呼ぶ。また、X方向、Y方向、及びZ方向の各方向は、図示されるX軸、Y軸、及びZ軸の矢印(正負)の方向と関連付ける場合には、「正側」又は「負側」が付される。なお、「-X方向」とはマイナスX方向であり、X方向負側(X軸の矢印の方向とは反対の方向)を示す。
【0010】
本明細書では、Z方向を上下方向と呼ぶことがある。本明細書において、「上」や「上方」は、基準となる面、部材、位置等よりもZ方向正側であることを意図し、「下」や「下方」は、基準となる面、部材、位置等よりもZ方向負側であることを意図する。例えば、「部材Aの上に部材Bが配置される」と記載されるとき、部材Bは、部材AからみてZ方向正側に配置される。また、「部材Aの上面」と記載されるとき、その面は、部材AにおけるZ方向正側の端に位置し、Z方向正側を向いた面である。これらの方向や面は、説明の便宜上用いる文言であり、半導体装置の取付姿勢等によっては、X軸、Y軸、及びZ軸の方向のそれぞれとの対応関係が変わることがある。例えば、冷却器における配線板及び半導体素子が配置される面は、本明細書では冷却器の上面と呼ぶが、これに限らず、冷却器の下面、側面等と呼ばれてもよい。また、各図における縦横比や各部材同士の大小関係は、あくまで模式的に表されており、実際に製造される半導体装置や冷却器等における関係とは必ずしも一致しない。説明の便宜上、各部材同士の大小関係を誇張して表現している場合も想定される。また、各図における符号のうちのいくつかの符号は、その符号により参照される構成要素の一部分が別の符号により参照される場合に構成要素の全体を参照する符号であることを示すために、下線が引かれている。
(【0011】以降は省略されています)
この特許をJ-PlatPat(特許庁公式サイト)で参照する
関連特許
富士電機株式会社
電磁接触器
25日前
富士電機株式会社
電磁接触器
25日前
富士電機株式会社
電磁接触器
25日前
富士電機株式会社
自動販売機
5日前
富士電機株式会社
電磁接触器
25日前
富士電機株式会社
電磁接触器
25日前
富士電機株式会社
半導体装置
11日前
富士電機株式会社
半導体装置
25日前
富士電機株式会社
自動販売装置
12日前
富士電機株式会社
金銭処理装置
6日前
富士電機株式会社
商品収納装置
21日前
富士電機株式会社
学習システム
7日前
富士電機株式会社
ショーケース
21日前
富士電機株式会社
チャンネルベース
25日前
富士電機株式会社
ガス処理システム
1日前
富士電機株式会社
半導体モジュール
14日前
富士電機株式会社
チャンネルベース
25日前
富士電機株式会社
電力変換システム
25日前
富士電機株式会社
半導体モジュール
4日前
富士電機株式会社
集積回路、電源回路
11日前
富士電機株式会社
半導体装置の製造方法
13日前
富士電機株式会社
冷却器及び半導体装置
25日前
富士電機株式会社
店舗情報設定システム
7日前
富士電機株式会社
半導体装置及びその製造方法
25日前
富士電機株式会社
制御回路および電力供給回路
12日前
富士電機株式会社
冷却器及び半導体モジュール
25日前
富士電機株式会社
窒化物半導体装置の製造方法
25日前
富士電機株式会社
店舗内位置情報取得システム
26日前
富士電機株式会社
冷却器及び半導体モジュール
4日前
富士電機株式会社
炭化珪素半導体装置の製造方法
25日前
富士電機株式会社
電力変換装置及びその制御方法
21日前
富士電機株式会社
スイッチング制御回路、電源回路
1日前
富士電機株式会社
店舗内ショーケース制御システム
5日前
富士電機株式会社
半導体装置及び半導体装置の製造方法
25日前
富士電機株式会社
部分放電測定装置及び部分放電測定方法
11日前
富士電機株式会社
紙幣処理装置及び新紙幣搬送動作確認方法
6日前
続きを見る
他の特許を見る