TOP
|
特許
|
意匠
|
商標
特許ウォッチ
Twitter
他の特許を見る
公開番号
2025160019
公報種別
公開特許公報(A)
公開日
2025-10-22
出願番号
2024062962
出願日
2024-04-09
発明の名称
紙幣処理装置及び新紙幣搬送動作確認方法
出願人
富士電機株式会社
代理人
弁理士法人酒井国際特許事務所
主分類
G07D
11/50 20190101AFI20251015BHJP(チェック装置)
要約
【課題】所定金種の新紙幣の鑑別結果に対応する収納庫に新紙幣が搬送されているか否かを新紙幣改刷前に新紙幣を用いずに確認することができる紙幣処理装置及び新紙幣搬送動作確認方法を提供する。
【解決手段】制御部2は、新紙幣の金種ごとの新紙幣シミュレーションモードが設定可能であり、所定金種の新紙幣シミュレーションモードが設定された場合、所定金種の新紙幣に対応するダミー紙幣あるいは所定金種の旧紙幣に対する鑑別情報を所定金種の新紙幣の鑑別情報に置き換え、該置き換えた鑑別情報をもとに所定金種のダミー紙幣あるいは所定金種の旧紙幣に対して紙幣搬送部の搬送制御を行う。
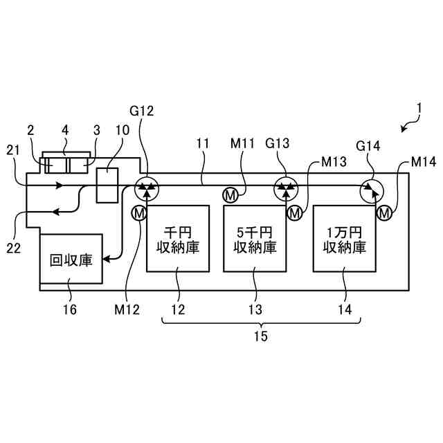
【選択図】図1
特許請求の範囲
【請求項1】
入金された新紙幣改刷前の旧紙幣及び新紙幣改刷後の新紙幣を含む紙幣を鑑別する鑑別部と、
前記鑑別部の識別情報に対応して前記紙幣が収納される1又は複数の収納庫と、
少なくとも前記鑑別部と前記収納庫との間における紙幣の搬送処理を行う紙幣搬送部と、
少なくとも前記鑑別部の鑑別情報をもとに、前記紙幣搬送部の搬送制御を行う制御部と、
を備えた紙幣処理装置であって、
前記制御部は、前記新紙幣の金種ごとの新紙幣シミュレーションモードが設定可能であり、所定金種の前記新紙幣シミュレーションモードが設定された場合、前記所定金種の新紙幣に対応するダミー紙幣あるいは前記所定金種の旧紙幣に対する鑑別情報を前記所定金種の新紙幣の鑑別情報に置き換え、該置き換えた鑑別情報をもとに前記所定金種のダミー紙幣あるいは前記所定金種の旧紙幣に対して前記紙幣搬送部の搬送制御を行うことを特徴とする紙幣処理装置。
続きを表示(約 760 文字)
【請求項2】
前記所定金種のダミー紙幣は、少なくとも前記所定金種の新紙幣のサイズと同じであり、前記鑑別部の鑑別処理が可能であり前記所定金種を視認できる記号あるいは模様が付されていることを特徴とする請求項1に記載の紙幣処理装置。
【請求項3】
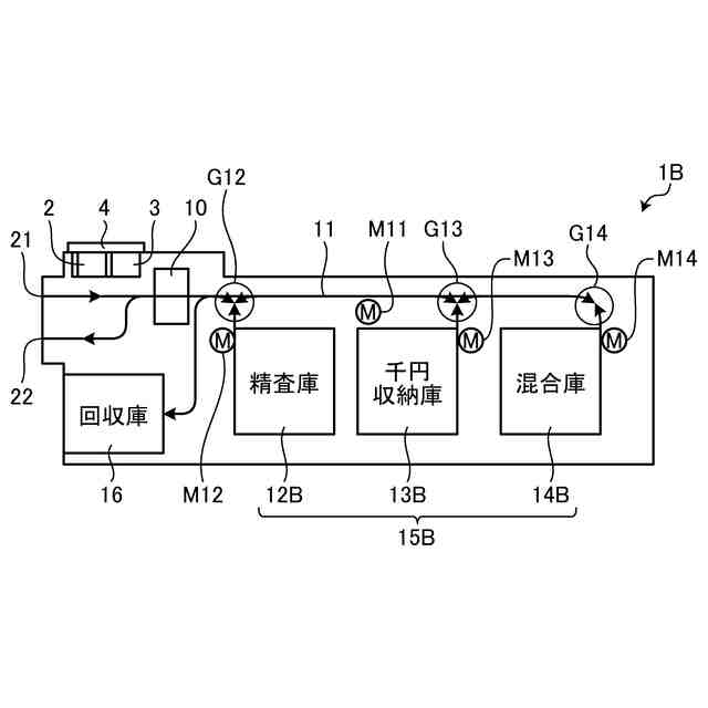
前記制御部は、前記収納庫に収納した紙幣が新紙幣か旧紙幣かを金種毎に記録することを特徴とする請求項1に記載の紙幣処理装置。
【請求項4】
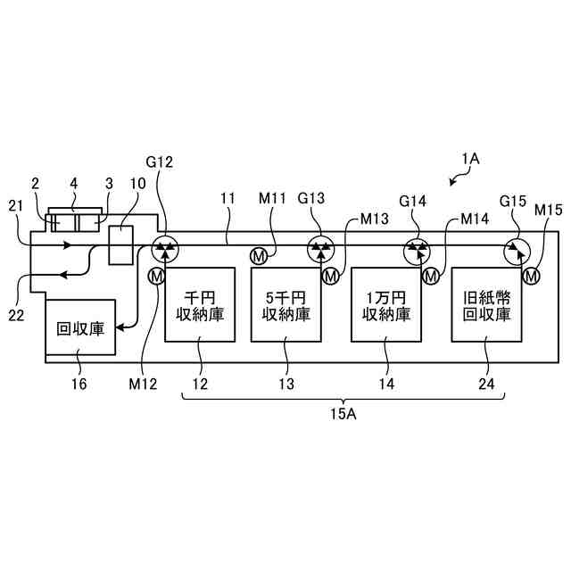
前記収納庫は、新紙幣を収納する1又は複数の収納庫と旧紙幣を収納する収納庫とを有することを特徴とする請求項1に記載の紙幣処理装置。
【請求項5】
前記制御部は、新紙幣の改刷後に新紙幣が入金された場合、あるいは新紙幣の改刷時点後、所定時間経過した場合、前記新紙幣シミュレーションモードの設定を無効にすることを特徴とする請求項1~4のいずれか一つに記載の紙幣処理装置。
【請求項6】
入金された新紙幣改刷前の旧紙幣及び新紙幣改刷後の新紙幣を含む紙幣を鑑別させ、鑑別情報をもとに、該鑑別情報に対応した収納庫に紙幣を搬送させる制御部を有した紙幣処理装置に対し、前記新紙幣改刷前に前記新紙幣の前記収納庫への搬送動作を確認する新紙幣搬送動作確認方法であって、
前記制御部は、前記新紙幣の金種ごとの新紙幣シミュレーションモードが設定可能であり、所定金種の前記新紙幣シミュレーションモードが設定された場合、前記所定金種の新紙幣に対応するダミー紙幣あるいは前記所定金種の旧紙幣に対する鑑別情報を前記所定金種の新紙幣の鑑別情報に置き換え、前記所定金種のダミー紙幣あるいは前記所定金種の旧紙幣を該置き換えた鑑別情報に対応する収納庫に搬送制御を行うことを特徴とする新紙幣搬送動作確認方法。
発明の詳細な説明
【技術分野】
【0001】
本発明は、所定金種の新紙幣の鑑別結果に対応する収納庫に新紙幣が搬送されているか否かを新紙幣改刷前に新紙幣を用いずに確認することができる紙幣処理装置及び新紙幣搬送動作確認方法に関する。
続きを表示(約 1,700 文字)
【背景技術】
【0002】
従来、例えばスーパーマーケットやコンビニエンスストア等の店舗には、自動釣銭機として金銭処理装置が設置されている。この金銭処理装置は、通常、POSレジスタ装置等の上位装置に接続されており、上位装置からの指示に応じて硬貨や紙幣等の金銭の入出金動作を行うものである(特許文献1参照)。
【先行技術文献】
【特許文献】
【0003】
特開2021-120819号公報
【発明の概要】
【発明が解決しようとする課題】
【0004】
ところで、日本銀行券(以下紙幣)は概ね20年ごとにデザインを一新したものが発行される(改刷と呼ぶ)。近年では自動販売機をはじめ、スーパーマーケットなどでも自動決済機器が普及しており、これらの機器において、改刷が行われると利用者の利便性を考慮して即日にも新紙幣への対応が必要となる。改刷が行われる場合、当局(財務省、日本銀行、国立印刷局など)により「閲覧会」と呼ばれる新札を確認する機会が事前に与えられ、決済機器メーカーはこの閲覧会に参加して新札を受け入れるように開発を行う。
【0005】
ここで、この閲覧会は限られた回数・日数で行われ、2024年7月に発行される新紙幣の場合、発行の1年以上前に全ての閲覧会が終了している。飲料メーカーが展開する自動販売機や、スーパーマーケットが展開する店舗の自動釣銭機は大量にあり、これらの機器の新札対応を行うには、プログラム更新や部品の交換などが必要であるため相応の期間を要する。新札発行の1年前から順次機器の更新を行うとすると、更新を開始するタイミングではすでに閲覧会は終了しており、新札の受入を確認する手段がない。機器を製造するメーカーでは、開発した新札対応の機器を閲覧会にて機能確認し、その結果に応じて間違いなく新札を受け入れるよう製造して提供するが、購入する側は新札発行時まで動作確認することができない。
【0006】
本発明は、上記に実情に鑑みてなされたものであり、所定金種の新紙幣の鑑別結果に対応する収納庫に新紙幣が搬送されているか否かを新紙幣改刷前に新紙幣を用いずに確認することができる紙幣処理装置及び新紙幣搬送動作確認方法を提供することを目的とする。
【課題を解決するための手段】
【0007】
上記目的を達成するために、本発明に係る紙幣処理装置は、入金された新紙幣改刷前の旧紙幣及び新紙幣改刷後の新紙幣を含む紙幣を鑑別する鑑別部と、前記鑑別部の識別情報に対応して前記紙幣が収納される1又は複数の収納庫と、少なくとも前記鑑別部と各収納庫との間における紙幣の搬送処理を行う紙幣搬送部と、少なくとも前記鑑別部の鑑別情報をもとに、前記紙幣搬送部の搬送制御を行う制御部と、を備えた紙幣処理装置であって、前記制御部は、前記新紙幣の金種ごとの新紙幣シミュレーションモードが設定可能であり、所定金種の前記新紙幣シミュレーションモードが設定された場合、前記所定金種の新紙幣に対応するダミー紙幣あるいは前記所定金種の旧紙幣に対する鑑別情報を前記所定金種の新紙幣の鑑別情報に置き換え、該置き換えた鑑別情報をもとに前記所定金種のダミー紙幣あるいは前記所定金種の旧紙幣に対して前記紙幣搬送部の搬送制御を行うことを特徴とする。
【0008】
また、本発明は、上記の紙幣処理装置において、前記所定金種のダミー紙幣は、少なくとも前記所定金種の新紙幣のサイズと同じであり、前記鑑別部の鑑別処理が可能であり前記所定金種を視認できる記号あるいは模様が付されていることを特徴とする。
【0009】
また、本発明は、上記の紙幣処理装置において、前記制御部は、前記収納庫に収納した紙幣が新紙幣か旧紙幣かを金種毎に記録することを特徴とする。
【0010】
また、本発明は、上記の紙幣処理装置において、前記収納庫は、新紙幣を収納する1又は複数の収納庫と旧紙幣を収納する収納庫とを有することを特徴とする。
(【0011】以降は省略されています)
この特許をJ-PlatPat(特許庁公式サイト)で参照する
関連特許
個人
自動販売機
11日前
株式会社イシダ
商品処理装置
2か月前
株式会社タムラ製作所
自動販売機
26日前
沖電気工業株式会社
媒体処理装置
3か月前
沖電気工業株式会社
施錠開閉装置
2か月前
沖電気工業株式会社
媒体処理装置
5日前
沖電気工業株式会社
媒体処理装置
5日前
沖電気工業株式会社
媒体処理装置
5日前
沖電気工業株式会社
媒体処理装置
5日前
アサヒ飲料株式会社
遠隔決済方法
1か月前
株式会社デンソー
車載器
2か月前
グローリー株式会社
貨幣処理装置
1か月前
グローリー株式会社
物品投出装置
3か月前
株式会社寺岡精工
商品登録システム
1か月前
アサヒ飲料株式会社
自動販売機の決済方法
1か月前
日本金銭機械株式会社
硬貨処理装置
2か月前
日本金銭機械株式会社
硬貨処理装置
2か月前
株式会社寺岡精工
販売データ処理装置
1か月前
株式会社知財事業研究所
特殊駐車場システム
20日前
沖電気工業株式会社
現金処理装置及び印字装置
2か月前
沖電気工業株式会社
棒金収納装置
2か月前
沖電気工業株式会社
媒体処理装置
3か月前
株式会社アスタリスク
生体認証システム
3日前
旭精工株式会社
紙葉類処理装置および紙葉類処理方法
2か月前
株式会社バンダイ
物品供給装置、及び物品供給装置セット
2か月前
グローリー株式会社
取引システム及び取引方法
1か月前
沖電気工業株式会社
紙葉類取扱装置及び現金処理装置
1か月前
株式会社タムラ製作所
選択装置及びこれを備えた自動販売機
26日前
三菱電機株式会社
人流情報取得システム
1か月前
富士電機株式会社
自動販売機
11日前
グローリー株式会社
確認システムおよび確認装置
3日前
東芝テック株式会社
会計装置
2か月前
富士電機株式会社
硬貨処理装置
1か月前
富士電機株式会社
硬貨処理装置
1か月前
富士電機株式会社
紙幣処理装置
3日前
富士電機株式会社
自動販売装置
1か月前
続きを見る
他の特許を見る