TOP
|
特許
|
意匠
|
商標
特許ウォッチ
Twitter
他の特許を見る
公開番号
2025147280
公報種別
公開特許公報(A)
公開日
2025-10-07
出願番号
2024047483
出願日
2024-03-25
発明の名称
会計装置
出願人
東芝テック株式会社
代理人
弁理士法人酒井国際特許事務所
主分類
G07G
1/00 20060101AFI20250930BHJP(チェック装置)
要約
【課題】本発明が解決しようとする課題は、専用面積を大きくすることなく荷置台を備えた会計装置を提供することである。
【解決手段】実施形態の会計装置は、登録装置で商品登録処理した商品に係る会計処理を行う会計装置であって、筐体と、前記筐体の前面に、前記前面に収納される収納位置から前記前面から前方に突出した荷物を載置可能な突出位置に出没可能な荷置台と、を備える。
【選択図】図2
特許請求の範囲
【請求項1】
登録装置で商品登録処理した商品に係る会計処理を行う会計装置であって、
筐体と、
前記筐体の前面に、前記前面に収納される収納位置から前記前面から前方に突出した荷物を載置可能な突出位置に出没可能な荷置台と、
を備えた会計装置。
続きを表示(約 470 文字)
【請求項2】
前記荷置台は、下辺を支軸として、前記収納位置と前記突出位置との間で回動可能である、
請求項1に記載の会計装置。
【請求項3】
前記荷置台は、前記突出位置において載置された荷物を取り除くと、前記収納位置まで自動で回動して収納される、
請求項2に記載の会計装置。
【請求項4】
前記筐体の前記前面の左右方向の一側に、前記会計処理に伴う釣銭を払い出す払出口、
を備え、
前記荷置台は、前記払出口の他側に、前記払出口と略同一高さに設けられた、
請求項1乃至3のいずれか一に記載の会計装置。
【請求項5】
前記払出口は、紙幣を払い出す紙幣払出口と、硬貨を払い出す硬貨払出口とを有し、
前記荷置台は、前記硬貨払出口と略同一高さに設けられた、
請求項4に記載の会計装置。
【請求項6】
前記筐体の上面に、紙幣を投入する紙幣投入口と、硬貨を投入する硬貨投入口とを備えた、
請求項5に記載の会計装置。
発明の詳細な説明
【技術分野】
【0001】
本発明の実施形態は、会計装置に関する。
続きを表示(約 2,200 文字)
【背景技術】
【0002】
近年、顧客が購入する商品の登録操作を行う登録装置と会計操作を行う会計装置とを備え、顧客自身が登録操作および会計操作を行うセルフチェックアウト装置が存在する。また、店員が登録装置の登録操作をし、顧客自身が会計装置の会計操作を行うセミセルフチェックアウト装置が存在する。これらのセルフチェックアウト装置やセミセルフチェックアウト装置に係る会計装置は、顧客が操作を行う際に手持ちの荷物が邪魔になることがあった。例えば、現金で会計を行う場合、バッグから財布を取り出し、財布から現金を取り出す場合に、バッグが邪魔になる。また、クレジットカード等のカードを財布から取り出す場合もバッグが邪魔になる。
【0003】
そのため、会計装置の上面に荷物を載置するスペースが設けられ、会計装置の専有面積が大きくなっていた。
【発明の概要】
【発明が解決しようとする課題】
【0004】
本発明が解決しようとする課題は、専用面積を大きくすることなく荷置台を備えた会計装置を提供することである。
【課題を解決するための手段】
【0005】
実施形態の会計装置は、登録装置で商品登録処理した商品に係る会計処理を行う会計装置であって、筐体と、前記筐体の前面に、前記前面に収納される収納位置から前記前面から前方に突出した荷物を載置可能な突出位置に出没可能な荷置台と、を備える。
【図面の簡単な説明】
【0006】
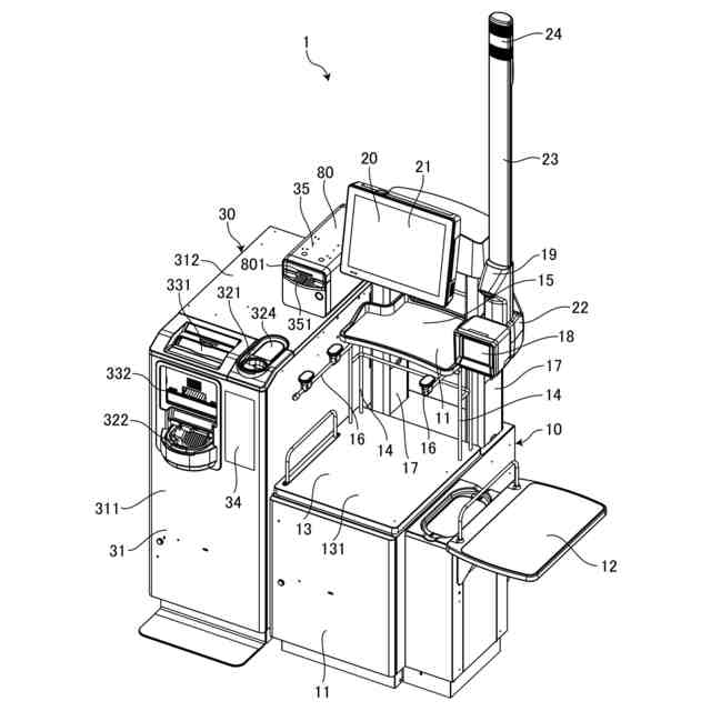
図1は、実施形態に係る登録装置と会計装置の接続関係を示す説明図である。
図2は、セルフチェックアウト装置の外観を説明するための斜視図である。
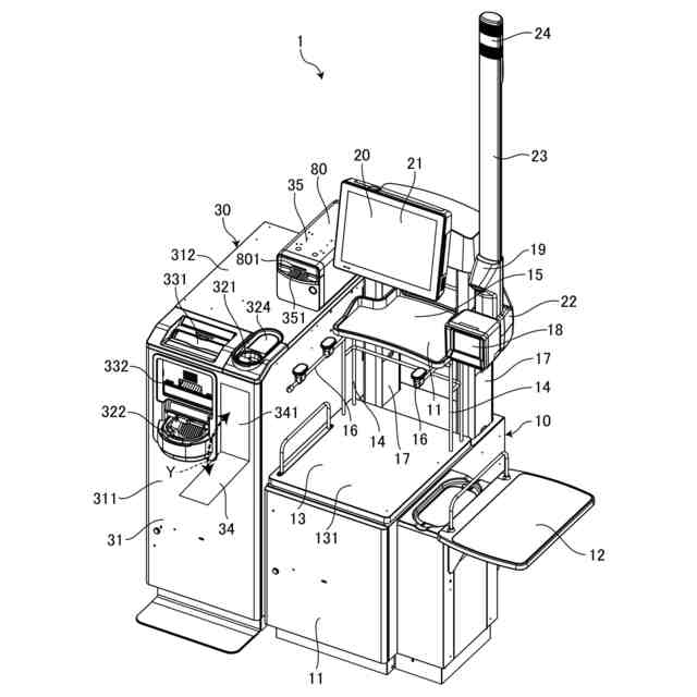
図3は、セルフチェックアウト装置の外観を説明するための斜視図である。
図4は、荷置台を収納位置に収納した荷受台付近の構造を説明するための説明図である。
図5は、荷置台を突出位置に突出させた荷受台付近の構造を説明するための説明図である。
図6は、荷受台の位置を示す会計装置を正面から見た説明図である。
図7は、登録装置のハードウェア構成を示すブロック図である。
図8は、会計装置のハードウェア構成を示すブロック図である。
図9は、他の実施形態の会計装置の外観を説明するための斜視図である。
図10は、他の実施形態の会計装置の外観を説明するための斜視図である。
【発明を実施するための形態】
【0007】
以下、図を参照して、実施形態について説明する。以下の実施形態では、登録装置と会計装置を有するセルフチェックアウト装置における会計装置として説明する。なお、この実施形態により発明が限定されるものではない。
【0008】
セルフチェックアウト装置は、店舗内の精算エリアに1台または複数台設置された、店舗において顧客が購入する商品の商品登録を行う商品登録処理機能と、会計を行う会計処理機能を備えた装置である。商品登録処理とは、登録装置において、商品に付されたバーコート等のコードシンボルまたは無線タグ等(実施形態ではコードシンボル)から、当該商品を特定する商品特定情報を読出して、商品情報部に記憶するとともに、当該商品の商品情報(商品名、商品の価格、等)を表示する処理をいう。また会計処理とは、会計装置において、商品登録処理した商品の合計金額を算出して、当該合計金額について、顧客が選択したメディア(現金あるいはクレジットカード等の非現金メディア)を使用して、当該合計金額に係る決済処理を行い、決済した商品に係る商品情報や決済情報を印字したレシート(紙媒体に印字しない電子レシートを含む)を発行する処理をいう。また、現金による会計処理では、投入された現金(代金)に対して釣銭がある場合には、釣銭額分の釣銭を払い出す処理を含む。
【0009】
セルフチェックアウト装置1では、顧客自身が、商品登録処理を行うための商品登録操作と、会計処理を行う会計操作を行う。以降、実施形態では、顧客の商品登録操作に伴い商品登録処理を行う構成と機能を登録装置といい、顧客の会計操作に伴い会計処理を行う構成と機能を会計装置という。登録装置と会計装置は、それぞれ別の筐体で構成されていてもよいが、セルフチェックアウト装置1としての一つの筐体の中に商品登録処理を行う構成と機能と会計処理を行う構成と機能を有する装置であってもよい。この場合には、商品登録処理を行う構成と機能を登録装置といい、会計処理を行う構成と機能を会計装置という。実施形態では、登録装置と会計装置はそれぞれ別の筐体を有するものとして説明する。
【0010】
図1は、実施形態に係る、登録装置10と会計装置30を備えたセルフチェックアウト装置1を示す。図1に示すように、登録装置10と会計装置30は相互に通信可能な接続線Lで接続される。登録装置10は、顧客が商品登録操作を行う装置であり、顧客の商品登録操作に伴い登録装置10は商品登録処理を実行する。また会計装置30は、顧客が会計操作を行う装置である。顧客の会計操作に伴い会計装置30は会計処理を実行する。
(【0011】以降は省略されています)
この特許をJ-PlatPat(特許庁公式サイト)で参照する
関連特許
東芝テック株式会社
プリンタ
6日前
東芝テック株式会社
プリンタ
1日前
東芝テック株式会社
プリンタ
1日前
東芝テック株式会社
会計装置
2日前
東芝テック株式会社
プリンタ装置
1日前
東芝テック株式会社
プリンタ装置
1日前
東芝テック株式会社
プリンタ装置
6日前
東芝テック株式会社
プリンタ装置
6日前
東芝テック株式会社
プリンタ及びプログラム
今日
東芝テック株式会社
チェックアウトシステム
1日前
東芝テック株式会社
販売時点における行動検出
1日前
東芝テック株式会社
プリンタ装置及びプログラム
1日前
東芝テック株式会社
情報処理装置及びプログラム
6日前
東芝テック株式会社
取引処理装置及びプログラム
2日前
東芝テック株式会社
取引処理装置及びプログラム
2日前
東芝テック株式会社
販売時点における物体分類および識別
1日前
東芝テック株式会社
収納代行処理装置及びそのプログラム
2日前
東芝テック株式会社
商品登録機器及び情報処理プログラム
1日前
東芝テック株式会社
商品登録装置、及び情報処理プログラム
6日前
東芝テック株式会社
販売時点情報管理アイテム予測及び検証
2日前
東芝テック株式会社
レシート管理サーバ及びレシート管理システム
今日
東芝テック株式会社
レシート管理サーバ及びレシート管理システム
今日
東芝テック株式会社
取引処理システム、取引処理装置及びそのプログラム
1日前
東芝テック株式会社
情報処理装置、情報処理プログラム及び情報処理システム
6日前
東芝テック株式会社
ゲート装置、情報処理プログラム及びチェックアウトシステム
1日前
東芝テック株式会社
プリンタおよびプログラム
6日前
東芝テック株式会社
トナーカートリッジ梱包用ブランク
3日前
東芝テック株式会社
データ処理装置及びデータ処理方法
2日前
株式会社イシダ
商品処理装置
8日前
株式会社バンダイ
物品供給装置
3か月前
株式会社バンダイ
物品供給装置
3か月前
株式会社バンダイ
物品供給装置
3か月前
株式会社バンダイ
物品供給装置
3か月前
富士電機株式会社
通貨識別装置
2か月前
沖電気工業株式会社
施錠開閉装置
1日前
沖電気工業株式会社
媒体処理装置
1か月前
続きを見る
他の特許を見る