TOP
|
特許
|
意匠
|
商標
特許ウォッチ
Twitter
他の特許を見る
10個以上の画像は省略されています。
公開番号
2025149199
公報種別
公開特許公報(A)
公開日
2025-10-08
出願番号
2024049687
出願日
2024-03-26
発明の名称
施錠開閉装置
出願人
沖電気工業株式会社
代理人
個人
主分類
G07D
11/40 20190101AFI20251001BHJP(チェック装置)
要約
【課題】開閉する箇所の施錠及び解錠を円滑に行いながら損傷を防止し得るようにする。
【解決手段】現金自動預払機1は、筐体2のフロントパネル12が開放された状態において、回動制限部22を制限状態とし、錠24が解錠角度から回動された際に制限アーム75を制限箇所45に当接させて回動範囲を制限する。これにより現金自動預払機1は、フロントパネル12が後方向へ変位され、キャビネット11に近接される際に、ロックレバー25のロックアーム74とロックシャフト16との衝突を回避でき、損傷を未然に防止できる。さらに現金自動預払機1は、フロントパネル12が閉塞されると、後端部46をキャビネット11の端面11Fに当接させることにより回動制限部22を許容状態に遷移させ、ロックレバー25を回動させて錠24を施錠させることができる。
【選択図】図10
特許請求の範囲
【請求項1】
本体と、
前記本体に対し開放又は閉塞が可能な開閉体と、
前記開閉体に設けられ、適合する鍵を用いて施錠された施錠角度又は解錠された解錠角度に回動される錠と、
前記錠と一体に回動する係合体と、
前記本体に設けられ、前記開閉体が閉塞されており前記錠が前記施錠角度であるときに、前記係合体と係合して当該開閉体の開放を規制し、前記錠が前記施錠角度から回動されると、前記係合体との係合を解除して当該開閉体の開放を許容する被係合体と、
前記開閉体に設けられ、前記錠及び前記係合体の前記施錠角度への回動を許容する許容状態、又は当該回動を制限する制限状態に遷移する回動制限部と、
前記開閉体が閉塞されているときには前記回動制限部を前記許容状態に遷移させ、前記開閉体が開放されているときには前記回動制限部を前記制限状態に遷移させる制限遷移部と
を具えることを特徴とする施錠開閉装置。
続きを表示(約 1,000 文字)
【請求項2】
前記回動制限部は、前記制限状態において、前記錠及び前記係合体の回動可能な範囲を、前記解錠角度及び前記施錠角度の間である制限角度と当該解錠角度との範囲内に制限し、
前記係合体は、前記制限角度において、前記開閉体が閉塞された場合にも前記被係合体と干渉しない位置にある
ことを特徴とする請求項1に記載の施錠開閉装置。
【請求項3】
前記回動制限部は、前記制限状態において前記係合体と当接する制限箇所を有し、
前記制限遷移部は、前記制限状態と前記許容状態との間で前記制限箇所を変位させる
ことを特徴とする請求項1に記載の施錠開閉装置。
【請求項4】
前記制限遷移部は、前記制限状態と前記許容状態との間で前記制限箇所を変位させる方向を、前記係合体から前記制限箇所に対し力を加える方向と相違させる
ことを特徴とする請求項3に記載の施錠開閉装置。
【請求項5】
前記制限遷移部は、前記本体に対する前記開閉体の開閉に応じて弾性変形する弾性部材を有し、当該弾性部材の当該弾性変形を利用して前記回動制限部を前記許容状態又は前記制限状態に遷移させる
ことを特徴とする請求項1に記載の施錠開閉装置。
【請求項6】
前記制限遷移部は、前記開閉体が閉塞されているときに、前記本体に設けられた被当接部に当接して前記弾性部材を自然状態から弾性変形させ、前記開閉体が開放されると、前記被当接部から離脱して前記弾性部材を前記自然状態とする
ことを特徴とする請求項5に記載の施錠開閉装置。
【請求項7】
前記係合体は、前記制限状態である前記回動制限部と当接する係合体当接部を有し、且つ当該係合体当接部に前記回動制限部と当接した状態を維持するための当接維持部が設けられている
ことを特徴とする請求項1に記載の施錠開閉装置。
【請求項8】
前記係合体及び前記錠を前記解錠角度に維持する解錠角度維持部
をさらに具えることを特徴とする請求項1に記載の施錠開閉装置。
【請求項9】
前記錠は、前記施錠角度及び前記解錠角度それぞれにおいて前記鍵の抜き差しが可能であり、前記施錠角度又は前記解錠角度において前記鍵が引き抜かれると、引き抜かれたときの角度を維持する
ことを特徴とする請求項1に記載の施錠開閉装置。
発明の詳細な説明
【技術分野】
【0001】
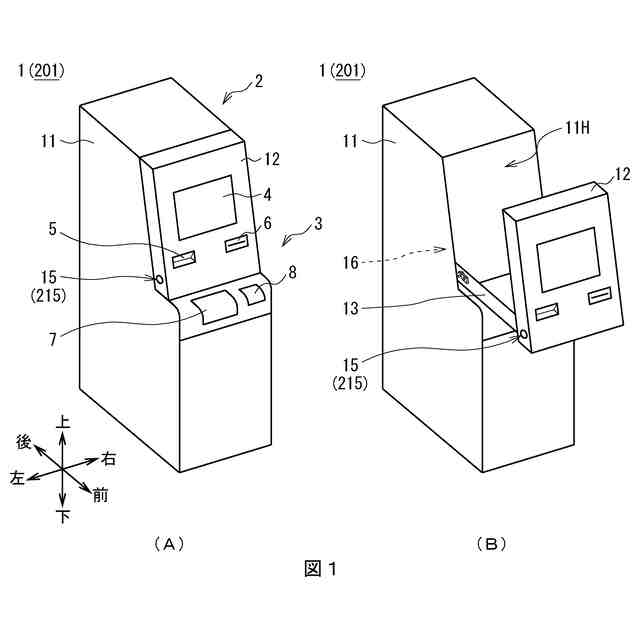
本発明は施錠開閉装置に関し、例えば顧客に紙幣や硬貨を投入させて所望の取引を行う現金自動預払機(ATM:Automatic Teller Machine)に適用して好適なものである。
続きを表示(約 2,100 文字)
【背景技術】
【0002】
従来、金融機関等で使用される現金自動預払機等においては、顧客との取引内容に応じて、例えば顧客に紙幣や硬貨等の現金を入金させ、また顧客へ現金を出金するものが広く普及している。この現金自動預払機では、一般に、内部に収納される紙幣や硬貨の保護等を目的として、筐体を比較的強固な構成とし、また開閉可能なパネルや扉等を比較的少なくするよう構成されている。さらに現金自動預払機として、スライドレールを利用してパネル等をスライドさせることにより、着脱の容易化や保守作業の効率化等を図ったものも提案されている(例えば、特許文献1参照)。
【先行技術文献】
【特許文献】
【0003】
国際公開WO2017/094325(図4等)
【発明の概要】
【発明が解決しようとする課題】
【0004】
ところで、かかる構成の現金自動預払機では、一般に、内部に収納される紙幣や硬貨を保護する観点から、開閉可能なパネル等に錠を設けて施錠しておき、解錠された場合にのみ開閉し得るようになっている。具体的には、例えば開閉可能なパネル等にシリンダー錠のような回動式の錠を設け、この錠のうち解錠時に回動する部分に所定の係合部品を取り付けると共に、本体側の対応する箇所に当該係合部品と係合する被係合部品を取り付ける、といった構成がある。
【0005】
しかし現金自動預払機では、錠自体もしくは錠と関係する部品における構造上の問題や、保守作業者等の不注意などにより、パネル等を開放したまま錠が施錠された状態となる場合がある。このような場合、現金自動預払機では、開放されていたパネル等を閉塞させた際に、施錠されている錠の係合部品が被係合部品と衝突し、錠そのものやその周囲の部品を損傷させる恐れがある、という問題があった。
【0006】
本発明は以上の点を考慮してなされたもので、開閉する箇所の施錠及び解錠を円滑に行いながら損傷を防止し得る施錠開閉装置を提案しようとするものである。
【課題を解決するための手段】
【0007】
かかる課題を解決するため本発明の施錠開閉装置においては、本体と、本体に対し開放又は閉塞が可能な開閉体と、開閉体に設けられ、適合する鍵を用いて施錠された施錠角度又は解錠された解錠角度に回動される錠と、錠と一体に回動する係合体と、本体に設けられ、開閉体が閉塞されており錠が施錠角度であるときに、係合体と係合して当該開閉体の開放を規制し、錠が施錠角度から回動されると、係合体との係合を解除して当該開閉体の開放を許容する被係合体と、開閉体に設けられ、錠及び係合体の施錠角度への回動を許容する許容状態、又は当該回動を制限する制限状態に遷移する回動制限部と、開閉体が閉塞されているときには回動制限部を許容状態に遷移させ、開閉体が開放されているときには回動制限部を制限状態に遷移させる制限遷移部とを設けるようにした。
【0008】
本発明は、開閉体が本体から開放されると回動制限部が制限状態に遷移し、該開閉体が本体に閉塞されると該回動制限部が許容状態に遷移する。このため本発明は、開閉体が開放された状態で錠が解錠角度から回動されたとしても、制限状態である回動制限部により係合体の施錠状態への回動を制限できる。これにより本発明は、開閉体が閉塞される際に、係合体と被係合体との衝突による損傷を未然に防止できる。その一方で本発明は、開閉体が閉塞された場合には、回動制限部を許容状態に遷移させるため、錠を施錠角度に回動させて係合体を被係合体と適切に係合させることができる。
【発明の効果】
【0009】
本発明によれば、開閉する箇所の施錠及び解錠を円滑に行いながら損傷を防止し得る施錠開閉装置を実現できる。
【図面の簡単な説明】
【0010】
現金自動預払機の構成を示す略線的斜視図である。
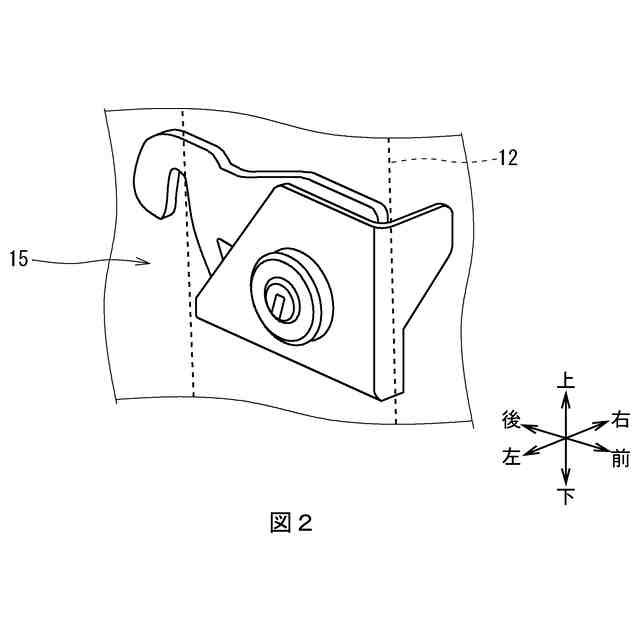
フロントパネルの一部分を拡大した略線的斜視図である。
キャビネットの一部分を拡大した略線的斜視図である。
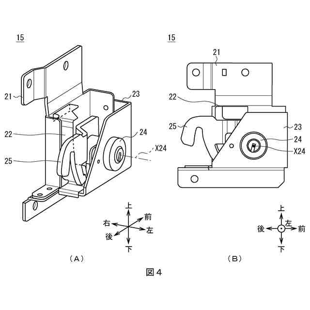
第1の実施の形態による錠モジュールの構成を示す略線図である。
錠モジュールの各構成部品を示す略線的斜視図である。
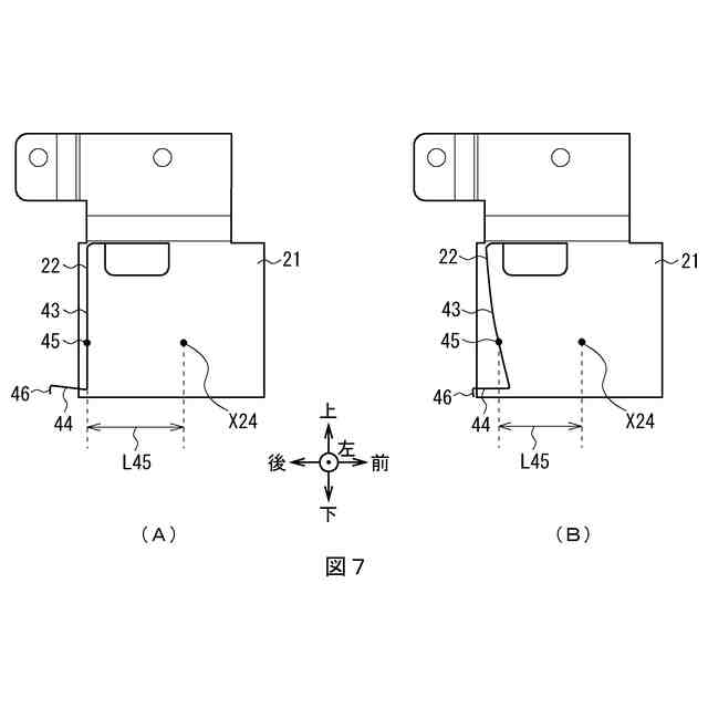
回動制限部の構成を示す略線図である。
回動制限部における中央板の弾性変形の様子を示す略線図である。
ロックレバーの構成を示す略線図である。
錠モジュールの回動角度及び回動制限部の状態(1)を示す略線図である。
錠モジュールの回動角度及び回動制限部の状態(2)を示す略線図である。
錠モジュールの回動角度及び回動制限部の状態(3)を示す略線図である。
仮想的な錠モジュールの構成を示す略線図である。
第2の実施の形態による錠モジュールの構成を示す略線図である。
【発明を実施するための形態】
(【0011】以降は省略されています)
この特許をJ-PlatPat(特許庁公式サイト)で参照する
関連特許
沖電気工業株式会社
印刷装置
5日前
沖電気工業株式会社
画像形成装置
9日前
沖電気工業株式会社
施錠開閉装置
今日
沖電気工業株式会社
画像形成装置
9日前
沖電気工業株式会社
画像形成装置
1日前
沖電気工業株式会社
情報処理装置
6日前
沖電気工業株式会社
棒金収納装置
6日前
沖電気工業株式会社
半導体デバイス
今日
沖電気工業株式会社
発光装置及び表示装置
今日
沖電気工業株式会社
現金処理装置及び印字装置
19日前
沖電気工業株式会社
紙葉類取扱装置及び現金処理装置
13日前
沖電気工業株式会社
プリンタドライバ及び画像形成装置
1日前
沖電気工業株式会社
直流電源装置および二次電池充電方法
9日前
沖電気工業株式会社
部品管理装置、プログラムおよび方法
9日前
沖電気工業株式会社
媒体取扱ユニット、及び、媒体取扱装置
1日前
沖電気工業株式会社
現像剤収容体、画像形成ユニット、及び画像形成装置
5日前
沖電気工業株式会社
情報処理装置、情報処理プログラム、及び情報処理方法
今日
沖電気工業株式会社
精算システム、精算装置、情報処理方法、及びプログラム
今日
沖電気工業株式会社
駆動制御装置、駆動制御システム、駆動制御方法及び貨幣処理装置
5日前
沖電気工業株式会社
情報処理装置、情報処理システム、情報処理方法、およびプログラム
28日前
沖電気工業株式会社
ナビゲーションシステム
8日前
沖電気工業株式会社
伝送装置のための制御装置、パス設定方法、およびプログラム並びに伝送システム
5日前
沖電気工業株式会社
表示装置、プログラム及び表示方法
5日前
株式会社イシダ
商品処理装置
7日前
沖電気工業株式会社
媒体処理装置
1か月前
沖電気工業株式会社
媒体処理装置
1か月前
沖電気工業株式会社
媒体処理装置
1か月前
沖電気工業株式会社
紙幣処理装置
1か月前
沖電気工業株式会社
施錠開閉装置
今日
株式会社ライト
情報処理装置
1か月前
富士電機株式会社
自動販売機
1か月前
株式会社ライト
情報処理装置
1か月前
株式会社デンソー
車載器
5日前
グローリー株式会社
物品投出装置
29日前
日本金銭機械株式会社
硬貨処理装置
9日前
日本金銭機械株式会社
硬貨処理装置
9日前
続きを見る
他の特許を見る