TOP
|
特許
|
意匠
|
商標
特許ウォッチ
Twitter
他の特許を見る
10個以上の画像は省略されています。
公開番号
2025158672
公報種別
公開特許公報(A)
公開日
2025-10-17
出願番号
2024061450
出願日
2024-04-05
発明の名称
画像形成装置
出願人
沖電気工業株式会社
代理人
個人
主分類
G03G
15/00 20060101AFI20251009BHJP(写真;映画;光波以外の波を使用する類似技術;電子写真;ホログラフイ)
要約
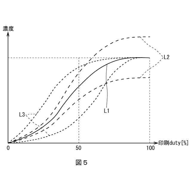
【課題】印刷に要する時間の長時間化を抑止しつつ画像の濃度に応じた印刷を行う。
【解決手段】画像形成装置1は、印刷データの濃度を解析する画像密度算出部58及び画像密度判定部59と、黒色で濃度に関する第1の設定値としての現像電圧値62又はLED光量値63の少なくとも何れか一方に基づき画像形成を行う第1の画像形成ユニット10と、黒色で第1の設定値とは異なる濃度に関する第2の設定値としての現像電圧値62又はLED光量値63の少なくとも何れか一方に基づき画像形成を行う第2の画像形成ユニット10と、画像密度算出部58及び画像密度判定部59の解析結果に基づいて、第1の画像形成ユニット10又は第2の画像形成ユニット10の何れか一方を選択して画像形成を行わせる使用画像形成ユニット決定部51とを設ける。
【選択図】図9
特許請求の範囲
【請求項1】
印刷データの濃度を解析する解析部と、
第1の色で濃度に関する第1の設定値に基づき画像形成を行う第1の画像形成部と、
前記第1の色で前記第1の設定値とは異なる濃度に関する第2の設定値に基づき画像形成を行う第2の画像形成部と、
前記解析部の解析結果に基づいて、前記第1の画像形成部又は前記第2の画像形成部の何れか一方を選択して画像形成を行わせる制御部と
を有することを特徴とする画像形成装置。
続きを表示(約 980 文字)
【請求項2】
前記第1の画像形成部は、
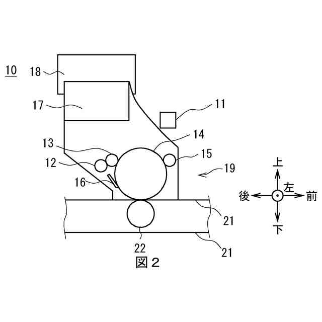
静電潜像が形成された第1の感光ドラムと、該第1の感光ドラムを前記第1の色の現像剤を用いて現像する第1の現像部とを有し、前記第1の設定値に基づき前記第1の感光ドラムと前記第1の現像部との第1のバイアス差で画像形成を行い、
前記第2の画像形成部は、
静電潜像が形成された第2の感光ドラムと、該第2の感光ドラムを前記第1の色の現像剤を用いて現像する第2の現像部とを有し、前記第2の設定値に基づき前記第1のバイアス差とは異なる前記第2の感光ドラムと前記第2の現像部との第2のバイアス差で画像形成を行う
ことを特徴とする請求項1に記載の画像形成装置。
【請求項3】
前記第1の画像形成部は、
第1の感光ドラムに静電潜像を形成する第1の露光部を有し、前記第1の設定値に基づき前記第1の感光ドラムに対する前記第1の露光部からの第1の露光量で静電潜像を形成して前記第1の色で画像形成を行い、
前記第2の画像形成部は、
第2の感光ドラムに静電潜像を形成する第2の露光部を有し、前記第2の設定値に基づき前記第2の感光ドラムに対する前記第2の露光部からの前記第1の露光量とは異なる第2の露光量で静電潜像を形成して前記第1の色で画像形成を行う
ことを特徴とする請求項1に記載の画像形成装置。
【請求項4】
前記制御部は、
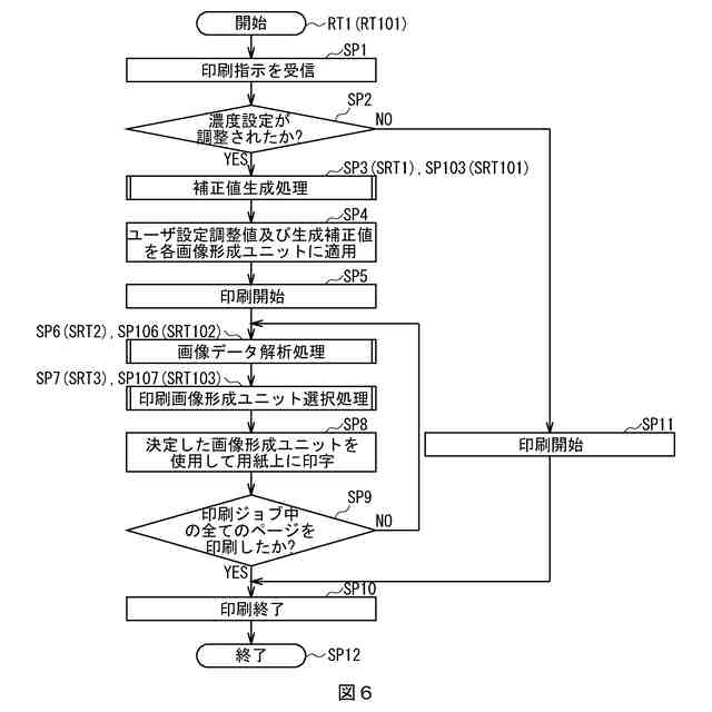
前記印刷データのページ内を分割した領域毎に画像の濃度に応じて前記第1の画像形成部又は前記第2の画像形成部を選択して画像形成を行わせる
ことを特徴とする請求項1に記載の画像形成装置。
【請求項5】
前記制御部は、
前記印刷データのページ毎に画像の濃度に応じて前記第1の画像形成部又は前記第2の画像形成部を選択して画像形成を行わせる
ことを特徴とする請求項1に記載の画像形成装置。
【請求項6】
前記第1の設定値に基づき形成された画像よりも前記第2の設定値に基づき形成された画像の方が濃度が濃く、
前記第2の画像形成部は、前記第1の画像形成部よりも、画像形成が行われる媒体の搬送方向の下流側に設けられる
ことを特徴とする請求項1に記載の画像形成装置。
発明の詳細な説明
【技術分野】
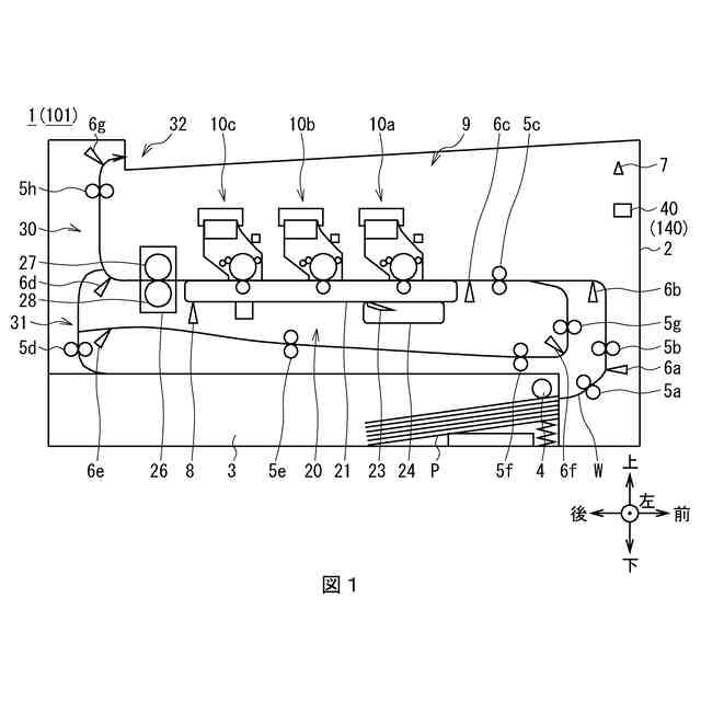
【0001】
本発明は画像形成装置に関し、記録媒体に現像剤画像を転写して画像を形成する画像形成装置に適用して好適なものである。
続きを表示(約 1,400 文字)
【背景技術】
【0002】
従来、画像形成装置(プリンタとも呼ばれる)として、コンピュータ装置等から供給される画像に基づき、トナー(現像剤とも呼ばれる)を用いて画像形成ユニットにより現像剤画像を形成して紙等の媒体に転写し、定着ユニットにおいてこれに熱及び圧力を加えて定着させることにより、印刷処理を行うものが広く普及している。
【0003】
また画像形成ユニットは、露光用の光を発光する露光部から感光ドラムの表面に光を照射して感光ドラムの表面に静電潜像を形成し、感光ドラムに帯電電圧を印加すると共に現像ローラに現像電圧を印加し、帯電電圧と現像電圧との電位差(バイアス差とも呼ばれる)により、供給ローラから感光ドラム上の静電潜像にトナーを付着させてトナー画像を現像することにより、画像の印刷を行う。
【0004】
そのような画像形成装置としては、印刷中に現像電圧を切り替えることにより、印刷すべき画像に応じて適切な濃度で印刷を行うものが提案されている(例えば、特許文献1参照)。
【先行技術文献】
【特許文献】
【0005】
特開2009-37217号公報
【発明の概要】
【発明が解決しようとする課題】
【0006】
しかしながら、画像形成装置においては、印刷中に現像電圧を切り替えた後に、現像ローラの電位が切り替わってから安定するまでの待機時間が必要となるため、印刷完了までに時間を要してしまっていた。
【0007】
本発明は以上の点を考慮してなされたもので、印刷に要する時間の長時間化を抑止しつつ画像の濃度に応じた印刷を行い得る画像形成装置を提案しようとするものである。
【課題を解決するための手段】
【0008】
かかる課題を解決するため本発明の画像形成装置においては、印刷データの濃度を解析する解析部と、第1の色で濃度に関する第1の設定値に基づき画像形成を行う第1の画像形成部と、第1の色で第1の設定値とは異なる濃度に関する第2の設定値に基づき画像形成を行う第2の画像形成部と、解析部の解析結果に基づいて、第1の画像形成部又は第2の画像形成部の何れか一方を選択して画像形成を行わせる制御部とを設けるようにした。
【0009】
これにより本発明は、画像形成中に濃度に関する設定値を切り替えることなく、互いに異なる濃度に関する設定値が予め設定された複数の画像形成部を印刷データの濃度に応じて選択して画像形成を行うことにより、濃度に関する設定値を切り替えた後の待機時間が生じることを防止しつつ、画像形成を行うことができる。
【発明の効果】
【0010】
本発明によれば、画像形成中に濃度に関する設定値を切り替えることなく、互いに異なる濃度に関する設定値が予め設定された複数の画像形成部を印刷データの濃度に応じて選択して画像形成を行うことにより、濃度に関する設定値を切り替えた後の待機時間が生じることを防止しつつ、画像形成を行うことができ、かくして印刷に要する時間の長時間化を抑止しつつ画像の濃度に応じた印刷を行い得る画像形成装置を実現できる。
【図面の簡単な説明】
(【0011】以降は省略されています)
この特許をJ-PlatPat(特許庁公式サイト)で参照する
関連特許
沖電気工業株式会社
印刷装置
16日前
沖電気工業株式会社
画像形成装置
2日前
沖電気工業株式会社
画像形成装置
12日前
沖電気工業株式会社
情報処理装置
17日前
沖電気工業株式会社
棒金収納装置
17日前
沖電気工業株式会社
施錠開閉装置
11日前
沖電気工業株式会社
半導体デバイス
11日前
沖電気工業株式会社
発光装置及び表示装置
11日前
沖電気工業株式会社
電源制御装置及び画像形成装置
10日前
沖電気工業株式会社
プリンタドライバ及び画像形成装置
12日前
沖電気工業株式会社
部品管理装置、プログラムおよび方法
20日前
沖電気工業株式会社
媒体取扱ユニット、及び、媒体取扱装置
12日前
沖電気工業株式会社
情報処理装置、情報処理方法、およびプログラム
10日前
沖電気工業株式会社
現像剤収容体、画像形成ユニット、及び画像形成装置
16日前
沖電気工業株式会社
情報処理装置、情報処理プログラム、及び情報処理方法
11日前
沖電気工業株式会社
精算システム、精算装置、情報処理方法、及びプログラム
11日前
沖電気工業株式会社
駆動制御装置、駆動制御システム、駆動制御方法及び貨幣処理装置
16日前
沖電気工業株式会社
経路設定装置、経路設定方法、プログラムおよび経路設定システム
10日前
沖電気工業株式会社
ナビゲーションシステム
19日前
沖電気工業株式会社
伝送装置のための制御装置、パス設定方法、およびプログラム並びに伝送システム
16日前
沖電気工業株式会社
表示装置、プログラム及び表示方法
16日前
個人
表示装置
4日前
個人
雨用レンズカバー
2日前
株式会社シグマ
絞りユニット
1か月前
キヤノン株式会社
撮像装置
24日前
日本精機株式会社
車両用投射装置
10日前
キヤノン株式会社
撮像装置
1か月前
キヤノン株式会社
撮像装置
1か月前
平和精機工業株式会社
雲台
1か月前
株式会社リコー
画像形成装置
2か月前
株式会社リコー
画像形成装置
3か月前
株式会社リコー
画像形成装置
1か月前
株式会社リコー
画像形成装置
1か月前
株式会社リコー
画像形成装置
2か月前
株式会社リコー
画像形成装置
2か月前
株式会社リコー
画像形成装置
3か月前
続きを見る
他の特許を見る