TOP
|
特許
|
意匠
|
商標
特許ウォッチ
Twitter
他の特許を見る
10個以上の画像は省略されています。
公開番号
2025144669
公報種別
公開特許公報(A)
公開日
2025-10-03
出願番号
2024044457
出願日
2024-03-21
発明の名称
現像剤収容体、画像形成ユニット、及び画像形成装置
出願人
沖電気工業株式会社
代理人
個人
,
個人
,
個人
主分類
G03G
15/08 20060101AFI20250926BHJP(写真;映画;光波以外の波を使用する類似技術;電子写真;ホログラフイ)
要約
【課題】現像剤収容体の収容器の内部から排出されない現像剤を減らす。
【解決手段】現像剤収容体(20)は、現像剤を収容し、現像剤を排出可能な排出口(211)を有する収容器(21)と、収容器(21)の内部に、排出口(211)を開放する開位置及び排出口(211)を閉止する閉位置に移動可能に設けられたシャッタ部材(22)と、収容器(21)に備えられ、シャッタ部材(22)を排出口(211)に向けて押す押付け部(212)と、を有し、シャッタ部材(22)は、開閉の際の移動方向(R)に対して交差する第1方向に延在する第1の補強部(222)を有し、シャッタ部材(22)が開位置にあるときに第1の補強部(222)と押付け部(212)とが当接する。
【選択図】図7
特許請求の範囲
【請求項1】
現像剤を収容し、前記現像剤を排出可能な排出口を有する収容器と、
前記収容器の内部に、前記排出口を開放する開位置及び前記排出口を閉止する閉位置に移動可能に設けられたシャッタ部材と、
前記収容器に備えられ、前記シャッタ部材を前記排出口に向けて押す押付け部と、
を有し、
前記シャッタ部材は、前記排出口を開閉する際の前記シャッタ部材の移動方向に対して交差する第1方向に延在する第1の補強部を有し、
前記シャッタ部材が前記開位置にあるときに前記第1の補強部と前記押付け部とが当接する
ことを特徴とする現像剤収容体。
続きを表示(約 1,100 文字)
【請求項2】
前記押付け部の幅は、前記第1の補強部の幅より大きく、
前記シャッタ部材が前記開位置にあるときに、前記押付け部は、前記第1の補強部の表面を前記排出口に向けて押す
ことを特徴とする請求項1に記載の現像剤収容体。
【請求項3】
前記シャッタ部材の内部において回転軸を中心に回転自在に設けられた攪拌部材をさらに有し、
前記シャッタ部材は、前記移動方向に延在する複数の第2の補強部を有し、
前記複数の第2の補強部は、前記第1方向に間隔を開けて配置され、
前記攪拌部材は、複数のスリットと、前記複数のスリットによって部分的に区分された複数のフィルム状片とを有し、
前記複数のフィルム状片は、前記複数の第2の補強部に対応する位置に設けられた複数の第1の短冊部と、前記複数の第1の短冊部に隣接する第2の短冊部とを有し
前記第1方向において、前記複数の第1の短冊部の各々の幅は、前記第2の短冊部の幅よりも短い
ことを特徴とする請求項1に記載の現像剤収容体。
【請求項4】
前記攪拌部材は、
前記シャッタ部材の前記第1方向の内側に位置する第1の部分と、
前記シャッタ部材の前記第1方向の外側に延在する第2の部分と、
を有し、
前記回転軸から前記第2の部分の先端までの自由長は、前記回転軸から前記第1の部分の先端までの自由長より長い
ことを特徴とする請求項3に記載の現像剤収容体。
【請求項5】
前記現像剤を前記排出口から排出するときに、前記押付け部の前記移動方向の上流側の側面の水平方向に対する角度が90度以下である
ことを特徴とする請求項3に記載の現像剤収容体。
【請求項6】
前記第2の補強部に対応する前記第1の短冊部において、前記第2の補強部に最も近いスリットから前記第2の補強部の辺までの間隔が、1.5mmから2.5mmまでの範囲内である
ことを特徴とする請求項3に記載の現像剤収容体。
【請求項7】
前記第1の短冊部を区分する第1のスリットから第2の補強部までの間隔は、前記第1の短冊部を区分し前記第1のスリットより前記排出口から遠い第2のスリットから前記第2の補強部までの間隔より短い
ことを特徴とする請求項3に記載の現像剤収容体。
【請求項8】
請求項1から7のいずれか1項に記載の現像剤収容体を有することを特徴とする画像形成ユニット。
【請求項9】
請求項1から7のいずれか1項に記載の現像剤収容体を有することを特徴とする画像形成装置。
発明の詳細な説明
【技術分野】
【0001】
本開示は、現像剤収容体、画像形成ユニット、及び画像形成装置に関するものである。
続きを表示(約 2,000 文字)
【背景技術】
【0002】
従来、電子写真プロセスにより画像を形成する画像形成装置に現像剤を補給するために、現像剤収容体(「トナーカートリッジ」ともいう。)が使用されている。通常、現像剤収容体は、現像剤を収容する収容器と、収容器の内部において回転可能に設けられ、収容器の排出口を開放又は閉止するシャッタ部材と、収容器の内部において現像剤を攪拌する攪拌部材とを有している。
【先行技術文献】
【特許文献】
【0003】
特開2011-227168号公報
【発明の概要】
【発明が解決しようとする課題】
【0004】
しかしながら、上記従来の現像剤収容体では、シャッタ部材の一部を構成する補強リブの上に現像剤が残留するので、収容器の内部から排出口を通して排出されない現像剤が存在するという問題があった。
【0005】
本開示は、収容器の内部から排出されない現像剤を減らすことができる現像剤収容体、画像形成ユニット、及び画像形成装置を提供することを目的とする。
【課題を解決するための手段】
【0006】
本開示の現像剤収容体は、現像剤を収容し、前記現像剤を排出可能な排出口を有する収容器と、前記収容器の内部に、前記排出口を開放する開位置及び前記排出口を閉止する閉位置に移動可能に設けられたシャッタ部材と、前記収容器に備えられ、前記シャッタ部材を前記排出口に向けて押す押付け部と、を有し、前記シャッタ部材は、前記排出口を開閉する際の前記シャッタ部材の移動方向に対して交差する第1方向に延在する第1の補強部を有し、前記シャッタ部材が前記開位置にあるときに前記第1の補強部と前記押付け部とが当接することを特徴とする。
【発明の効果】
【0007】
本開示によれば、収容器の内部から排出されない現像剤を減らすことができる。
【図面の簡単な説明】
【0008】
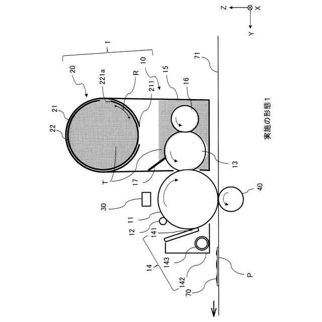
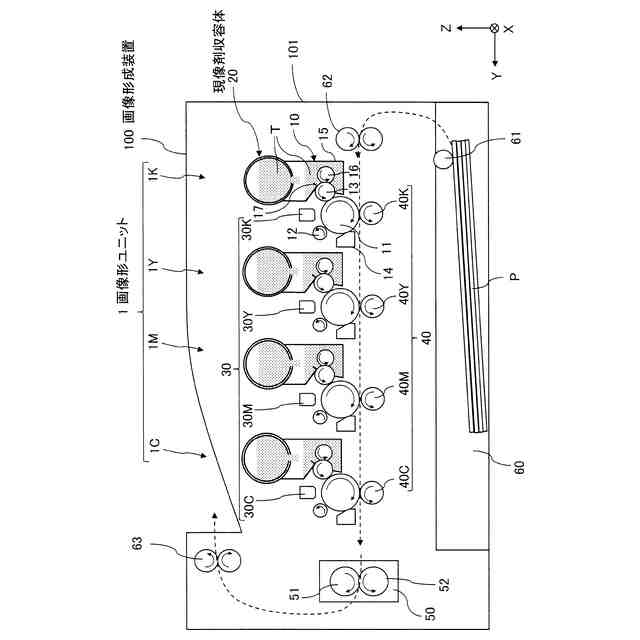
実施の形態1の画像形成装置の構成を示す概略断面図である。
実施の形態1の画像形成ユニットを示す外観斜視図である。
実施の形態1の画像形成ユニット(現像剤収容体が取り外されたとき)を示す外観斜視図である。
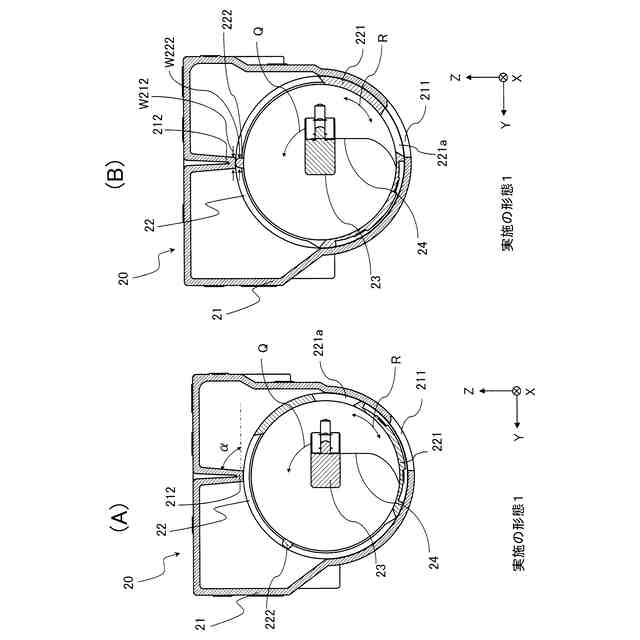
実施の形態1の画像形成ユニット(シャッタ部材が閉位置にあるとき)の構成を示す概略断面図である。
実施の形態1の画像形成ユニット(シャッタ部材が開位置にあるとき)の構成を示す概略断面図である。
実施の形態1の現像剤収容体のシャッタ部材を示す概略斜視図である。
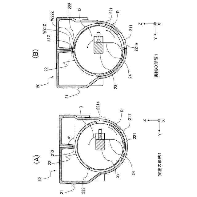
(A)及び(B)は、実施の形態1の現像剤収容体のシャッタ部材の断面(シャッタ部材が閉位置にあるとき及び開位置にあるとき)を示す概略断面図である。
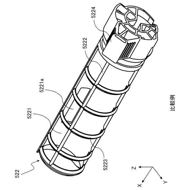
比較例の現像剤収容体のシャッタ部材を示す概略斜視図である。
(A)及び(B)は、比較例の現像剤収容体のシャッタ部材の断面(シャッタ部材が閉位置にあるとき及び開位置にあるとき)を示す概略断面図である。
実施の形態2の現像剤収容体の攪拌フィルムを示す概略斜視図である。
(A)は、実施の形態2の現像剤収容体のシャッタ部材及び攪拌フィルムを示す概略断面図であり、(B)は、図11(A)の要部を示す拡大図である。
(A)は、実施の形態2の現像剤収容体を示す概略断面図であり、(B)は、図12(A)の要部を示す拡大図である。
(A)及び(B)は、実施の形態2の現像剤収容体の攪拌フィルムの動作を示す概略断面図である。
比較例の現像剤収容体の攪拌フィルムを示す概略斜視図である。
(A)及び(B)は、比較例の現像剤収容体の攪拌フィルムの動作を示す概略断面図である。
実施の形態3の現像剤収容体のシャッタ部材及び攪拌フィルムを示す概略断面図である。
【発明を実施するための形態】
【0009】
以下に、本開示の実施の形態の画像形成装置、画像形成装置に着脱自在な画像形成ユニット、及び、画像形成装置又は画像形成ユニットに着脱自在な現像剤収容体を、図面を参照しながら説明する。以下の実施の形態では、感光体ドラム上に形成された現像剤像を記録媒体に直接転写する方式を採用する画像形成装置を説明する。しかし、画像形成装置は、感光体ドラム上に形成された現像剤像を中間転写ベルトに1次転写し、その後中間転写ベルトから記録媒体に2次転写する方式を採用するものであってもよい。
【0010】
また、図には、図相互の関係を理解し易くするために、XYZ直交座標系の座標軸が示されている。X方向は、現像剤収容体の長手方向であり、Y方向は、X方向に直交する水平方向であり、Z方向は、X及びY方向に直交する高さ方向である。
(【0011】以降は省略されています)
この特許をJ-PlatPat(特許庁公式サイト)で参照する
関連特許
沖電気工業株式会社
画像形成装置
4日前
沖電気工業株式会社
処理システム
3日前
沖電気工業株式会社
媒体処理装置
3日前
沖電気工業株式会社
画像形成装置
3日前
沖電気工業株式会社
画像形成装置
5日前
沖電気工業株式会社
画像形成装置
16日前
沖電気工業株式会社
定着装置及び画像形成装置
3日前
沖電気工業株式会社
定着装置及び画像形成装置
6日前
沖電気工業株式会社
電源制御装置及び画像形成装置
24日前
沖電気工業株式会社
紙葉類取扱装置及び現金処理装置
9日前
沖電気工業株式会社
通信装置、通信方法、及び通信プログラム
4日前
沖電気工業株式会社
情報処理装置、情報処理方法、およびプログラム
24日前
沖電気工業株式会社
情報処理装置、情報処理方法、及び情報処理システム
3日前
沖電気工業株式会社
現像剤収容体、画像形成ユニットおよび画像形成装置
3日前
沖電気工業株式会社
精算システム、精算装置、情報処理方法、及びプログラム
25日前
沖電気工業株式会社
経路設定装置、経路設定方法、プログラムおよび経路設定システム
24日前
沖電気工業株式会社
画像形成装置、画像形成システム、状態提示方法、及び状態提示プログラム
3日前
個人
表示装置
18日前
個人
雨用レンズカバー
16日前
株式会社シグマ
絞りユニット
1か月前
キヤノン株式会社
撮像装置
1か月前
日本精機株式会社
車両用投射装置
24日前
キヤノン株式会社
撮像装置
9日前
キヤノン株式会社
撮像装置
9日前
キヤノン株式会社
撮像装置
1か月前
キヤノン株式会社
撮像装置
9日前
キヤノン株式会社
撮像装置
1か月前
株式会社リコー
画像形成装置
1か月前
株式会社リコー
画像形成装置
6日前
株式会社リコー
画像形成装置
2か月前
株式会社リコー
画像形成装置
3日前
株式会社リコー
画像形成装置
1か月前
株式会社リコー
画像形成装置
3日前
キヤノン株式会社
画像形成装置
19日前
キヤノン株式会社
トナー
1か月前
キヤノン株式会社
画像形成装置
5日前
続きを見る
他の特許を見る