TOP
|
特許
|
意匠
|
商標
特許ウォッチ
Twitter
他の特許を見る
10個以上の画像は省略されています。
公開番号
2025146151
公報種別
公開特許公報(A)
公開日
2025-10-03
出願番号
2024046781
出願日
2024-03-22
発明の名称
駆動制御装置、駆動制御システム、駆動制御方法及び貨幣処理装置
出願人
沖電気工業株式会社
代理人
個人
,
個人
主分類
H02P
5/46 20060101AFI20250926BHJP(電力の発電,変換,配電)
要約
【課題】仕様が異なるモータが混在する場合に、モータ種類を判別して、適切な駆動制御を行なうことができるようにする。
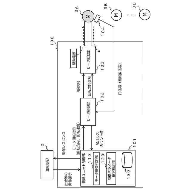
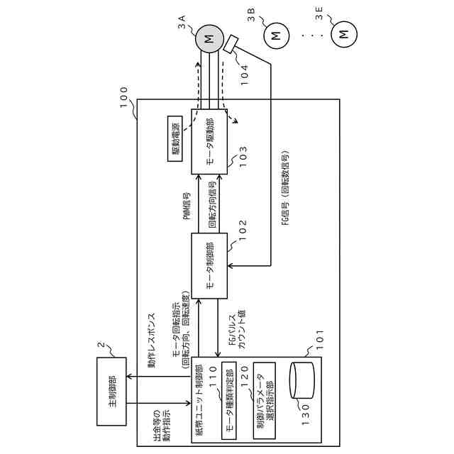
【解決手段】本発明の駆動制御装置は、複数のモータと、それぞれのモータに対して、所定のデューティ比を示す固定値に基づく電流値の駆動電流を供給させるモータ制御手段と、駆動電流が供給されたモータの回転速度に係るパルス間隔時間を導出し、導出した回転速度に係る信号パルス間隔時間と、モータ種類毎に事前設定したモータ種類判別閾値範囲とを比較して、モータのモータ種類を判定するモータ種類判定手段と、判定されたモータ種類に基づいて、対応する制御パラメータを用いてモータの動作指示をする制御パラメータ選択指示手段とを備える。
【選択図】 図1
特許請求の範囲
【請求項1】
複数のモータと、
それぞれの前記モータに対して、所定のデューティ比を示す固定値に基づく電流値の駆動電流を供給させるモータ制御手段と、
前記駆動電流が供給された前記モータの回転速度に係るパルス間隔時間を導出し、導出した回転速度に係る信号パルス間隔時間と、モータ種類毎に事前設定したモータ種類判別閾値範囲とを比較して、前記モータのモータ種類を判定するモータ種類判定手段と、
判定されたモータ種類に基づいて、対応する制御パラメータを用いて前記モータの動作指示をする制御パラメータ選択指示手段と
を備えることを特徴とする駆動制御装置。
続きを表示(約 1,400 文字)
【請求項2】
前記モータ判別閾値範囲は、モータ種類毎に、モータ特性による回転速度のばらつきを許容した、第1閾値と第2閾値とによる回転速度に係るパルス間隔時間の範囲を示すものであり、
前記モータ種類判定手段が、前記導出した回転速度に係る信号パルス間隔時間が、モータ種類毎の前記モータ種類判別閾値範囲内にあるか否かを判定する
ことを特徴とする請求項1に記載の駆動制御装置。
【請求項3】
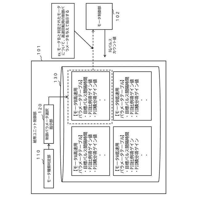
モータ種類毎に、異なる回転速度のモータ制御パラメータテーブルを複数備え、
前記制御パラメータ選択指示手段が、判定されたモータ種類に基づいて、対応するモータ種類の前記モータ制御パラメータテーブルを選択し、選択された前記モータ制御パラメータテーブルの制御パラメータを前記モータ制御手段に設定させる
ことを特徴とする請求項1に記載の駆動制御装置。
【請求項4】
複数のモータを搭載する機器と、サーバとを有する駆動制御システムにおいて、
前記機器は、
それぞれの前記モータに対して、所定のデューティ比を示す固定値に基づく電流値の駆動電流を供給させるモータ制御手段と、
前記駆動電流が供給された前記モータの回転速度に係るパルス間隔時間を導出するパルス間隔時間導出手段と、
導出された前記モータの回転速度に係るパルス間隔時間を含む信号を前記サーバに与える第1通信手段と
を有し、
前記サーバは、
前記機器からの受信信号に含まれる前記回転速度に係るパルス間隔時間と、モータ種類毎に事前設定したモータ種類判別閾値範囲とを比較して、前記モータのモータ種類を判定するモータ種類判定手段と、
判定されたモータ種類に基づいて、対応する制御パラメータを選択する制御パラメータ選択指示手段と
前記対応する制御パラメータを前記機器に与える第2通信手段と
を有する
ことを特徴とする駆動制御システム。
【請求項5】
複数のモータのモータ種類を判定して駆動制御する駆動制御方法において、
モータ制御手段が、それぞれの前記モータに対して、所定のデューティ比を示す固定値に基づく電流値の駆動電流を供給させ、
モータ種類判定手段が、前記駆動電流が供給された前記モータの回転速度に係るパルス間隔時間を導出し、導出した回転速度に係る信号パルス間隔時間と、モータ種類毎に事前設定したモータ種類判別閾値範囲とを比較して、前記モータのモータ種類を判定し、
制御パラメータ選択指示手段が、判定されたモータ種類に基づいて、対応する制御パラメータを用いて前記モータの動作指示をする
ことを特徴とする駆動制御方法。
【請求項6】
請求項1に記載の駆動制御装置を有し、
ユーザによって投入されまたは当該ユーザに引渡す貨幣を処理する、前記モータを備える貨幣処理手段をさらに備え、
前記モータ種類判定手段は、前記貨幣処理手段のイニシャル動作において、前記モータのモータ種類の判定を行い、
前記モータ制御手段と前記制御パラメータ選択指示手段は、前記イニシャル動作の結果に応じて前記モータを制御する、
ことを特徴とする貨幣処理装置。
発明の詳細な説明
【技術分野】
【0001】
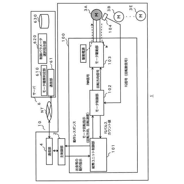
本発明は、駆動制御装置、駆動制御システム、駆動制御方法及び貨幣処理装置に関し、例えば、自動取引装置(ATM:Automatic Teller Machine)等で使用されるモータの種類に応じてモータの速度制御などを行なう駆動制御方法に適用し得るものである。
続きを表示(約 1,700 文字)
【背景技術】
【0002】
自動取引装置等に使用されるDC(Direct Current)ブラシレスモータは、モータの仕様によって、FG信号の1回転あたりのパルス数が異なる。そのため、FG信号のパルス間隔時間をフィードバックして回転速度の制御をするためには、目標とするパルス間隔時間を1回転あたりのパルス数に応じて設定する必要がある。
【0003】
通常は、同一箇所に実装されるモータは同じ仕様だが、例えば製造中止等で異なる仕様のモータが混在することがある。実装されるモータの仕様が複数混在する場合に、一般的には、どのモータが実装されているか識別できる情報を、不揮発性メモリ等に保存しておいて、その情報に基づいて目標パルス間隔時間等のパラメータを切り替えて制御する方法が考えられる。
【0004】
特許文献1には、DCモータのエンコーダーから出力されるエンコード出力(FGパルス)を故障診断部が取得し、故障診断部が、エンコード出力の特徴量と故障診断用の基準特徴量とを比較して、DCモータの故障を判定することが記載されている。
【0005】
特許文献2には、ATMの保守点検において、オペレータの操作にて装置診断が実行されると、モータを動作させて立ち上がり時間、所定駆動電流値に対する電圧値を測定し、これを予め記憶する基準値と比較してエラー有無を判定することが記載されている。
【先行技術文献】
【特許文献】
【0006】
特開2007-212719号公報
特開2008-158900号公報
【発明の概要】
【発明が解決しようとする課題】
【0007】
しかしながら、モータ故障等の保守作業において、仕様が異なるモータに交換する場合があり、モータ交換作業時にモータ識別情報も変更する必要があり、交換作業工数の増加や、設定ミスによる動作エラー発生や、モータ交換に気づかず若しくは交換されたことを忘れてしまい制御変更をしないなどヒューマンエラーの発生が問題となる。
【0008】
そのため、仕様が異なるモータが混在する場合に、モータ種類を判別して、適切な駆動制御を行なうことができる駆動制御装置、駆動制御システム、駆動制御方法及び貨幣処理装置が求められている。
【課題を解決するための手段】
【0009】
かかる課題を解決するために、第1の本発明の駆動制御装置は、(1)複数のモータと、(2)それぞれのモータに対して、所定のデューティ比を示す固定値に基づく電流値の駆動電流を供給させるモータ制御手段と、(3)駆動電流が供給されたモータの回転速度に係るパルス間隔時間を導出し、導出した回転速度に係る信号パルス間隔時間と、モータ種類毎に事前設定したモータ種類判別閾値範囲とを比較して、モータのモータ種類を判定するモータ種類判定手段と、(4)判定されたモータ種類に基づいて、対応する制御パラメータを用いてモータの動作指示をする制御パラメータ選択指示手段とを備えることを特徴とする。
【0010】
第2の本発明の駆動制御システムは、複数のモータを搭載する機器と、サーバとを有する駆動制御システムにおいて、(A)機器は、(A1)それぞれのモータに対して、所定のデューティ比を示す固定値に基づく電流値の駆動電流を供給させるモータ制御手段と、(A2)駆動電流が供給されたモータの回転速度に係るパルス間隔時間を導出するパルス間隔時間導出手段と、(A3)導出されたモータの回転速度に係るパルス間隔時間を含む信号をサーバに与える第1通信手段とを有し、(B)サーバは、(B1)機器からの受信信号に含まれる回転速度に係るパルス間隔時間と、モータ種類毎に事前設定したモータ種類判別閾値範囲とを比較して、モータのモータ種類を判定するモータ種類判定手段と、(B2)判定されたモータ種類に基づいて、対応する制御パラメータを選択する制御パラメータ選択指示手段と、(B3)対応する制御パラメータを前記機器に与える第2通信手段とを有することを特徴とする。
(【0011】以降は省略されています)
この特許をJ-PlatPat(特許庁公式サイト)で参照する
関連特許
沖電気工業株式会社
印刷装置
3日前
沖電気工業株式会社
棒金収納装置
4日前
沖電気工業株式会社
情報処理装置
4日前
沖電気工業株式会社
画像形成装置
7日前
沖電気工業株式会社
画像形成装置
7日前
沖電気工業株式会社
現金処理装置及び印字装置
17日前
沖電気工業株式会社
紙葉類取扱装置及び現金処理装置
11日前
沖電気工業株式会社
部品管理装置、プログラムおよび方法
7日前
沖電気工業株式会社
直流電源装置および二次電池充電方法
7日前
沖電気工業株式会社
現像剤収容体、画像形成ユニット、及び画像形成装置
3日前
沖電気工業株式会社
駆動制御装置、駆動制御システム、駆動制御方法及び貨幣処理装置
3日前
沖電気工業株式会社
情報処理装置、情報処理システム、情報処理方法、およびプログラム
26日前
沖電気工業株式会社
ナビゲーションシステム
6日前
沖電気工業株式会社
伝送装置のための制御装置、パス設定方法、およびプログラム並びに伝送システム
3日前
沖電気工業株式会社
表示装置、プログラム及び表示方法
3日前
個人
電源装置
18日前
個人
バッテリ内蔵直流電源
17日前
株式会社FUJI
制御盤
7日前
オムロン株式会社
電源回路
11日前
オムロン株式会社
電源回路
11日前
オムロン株式会社
電源回路
11日前
トヨタ自動車株式会社
回転子
18日前
トヨタ自動車株式会社
回転子
3日前
日産自動車株式会社
電子機器
28日前
ニデック株式会社
モータの制御方法
25日前
トヨタ自動車株式会社
溶接装置
1か月前
東京応化工業株式会社
発電装置
11日前
大豊工業株式会社
モータ
17日前
ミサワホーム株式会社
居住設備
7日前
井関農機株式会社
充電システム
28日前
株式会社リコー
拡張アンテナ装置
10日前
ニチコン株式会社
AC入力検出回路
3日前
トヨタ自動車株式会社
ロータ
5日前
富士電子工業株式会社
電力変換装置
19日前
日産自動車株式会社
ステータ
4日前
ユタカ電業株式会社
ケーブルダクト
7日前
続きを見る
他の特許を見る