TOP
|
特許
|
意匠
|
商標
特許ウォッチ
Twitter
他の特許を見る
10個以上の画像は省略されています。
公開番号
2025138581
公報種別
公開特許公報(A)
公開日
2025-09-25
出願番号
2025025060
出願日
2025-02-19
発明の名称
発電装置
出願人
東京応化工業株式会社
代理人
個人
主分類
H02N
1/08 20060101AFI20250917BHJP(電力の発電,変換,配電)
要約
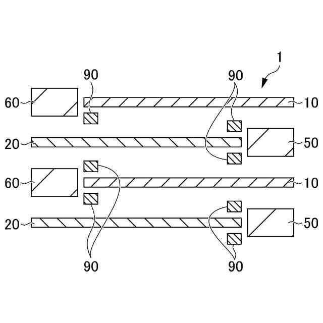
【課題】複数の第1電極層の電気的な接続および複数の第2電極層の電気的な接続を容易に行うことのできる発電装置を提供する。
【解決手段】複数の第1シート部材10のそれぞれの一部分と、複数の第2シート部材20のそれぞれの一部分とが、互い違いに積層されることによって、第1帯電層13と第2帯電層23とが互いに対向しており、発電装置1が、第1帯電層13と第2帯電層23との互いの接触状態の変化によって発電し、第1接続導体30が、複数の第1シート部材10のそれぞれの他の部分を貫通し、且つ複数の第1シート部材10のそれぞれの第1電極層12に接続されており、第2接続導体40が、複数の第2シート部材20のそれぞれの他の部分を貫通し、且つ複数の第2シート部材20のそれぞれの第2電極層22に接続されている。
【選択図】図1
特許請求の範囲
【請求項1】
複数の第1シート部材と、複数の第2シート部材と、第1接続導体と、第2接続導体と、を備える発電装置であって、
前記第1シート部材が、第1電極層の外面側に第1帯電層を有し、
前記第2シート部材が、第2電極層の外面側に第2帯電層を有し、
複数の前記第1シート部材のそれぞれの一部分と、複数の前記第2シート部材のそれぞれの一部分とが、互い違いに積層されることによって、前記第1帯電層と前記第2帯電層とが互いに対向しており、
前記発電装置が、前記第1帯電層と前記第2帯電層との互いの接触状態の変化によって発電し、
前記第1接続導体が、複数の前記第1シート部材のそれぞれの他の部分を貫通し、且つ複数の前記第1シート部材のそれぞれの前記第1電極層に接続されており、
前記第2接続導体が、複数の前記第2シート部材のそれぞれの他の部分を貫通し、且つ複数の前記第2シート部材のそれぞれの前記第2電極層に接続されている
発電装置。
続きを表示(約 1,200 文字)
【請求項2】
複数の前記第1シート部材の間に位置する前記第1接続導体の外周部を囲む第1絶縁部材と、
複数の前記第2シート部材の間に位置する前記第2接続導体の外周部を囲む第2絶縁部材と、を備える
請求項1に記載の発電装置。
【請求項3】
前記第1絶縁部材の厚さTi1と、前記第2シート部材の厚さTs2との比Ti1/Ts2、及び前記第2絶縁部材の厚さTi2と、前記第1シート部材の厚さTs1との比Ti2/Ts1とが、それぞれ0.8以上1.2以下である
請求項2に記載の発電装置。
【請求項4】
前記第1帯電層および前記第2帯電層は、一方が多孔質構造を有するポリイミドからなり、他方がポリアミドからなる
請求項1に記載の発電装置。
【請求項5】
前記第1接続導体および前記第2接続導体は、それぞれ、
複数の前記第1シート部材の他の部分および複数の前記第2シート部材を積層方向に貫通する一対の貫通部と、
前記第1シート部材の面方向および前記第2シート部材の面方向に沿って延在し、一対の前記貫通部のそれぞれの基端部を互いに連結する連結部と、を有している
請求項1に記載の発電装置。
【請求項6】
前記第1接続導体に接続される第1導線と、
前記第2接続導体に接続される第2導線と、を備え、
前記第1導線は、前記第1接続導体の前記連結部と前記第1シート部材との間に挟持され、
前記第2導線は、前記第2接続導体の前記連結部と前記第2シート部材との間に挟持される
請求項5に記載の発電装置。
【請求項7】
前記第1接続導体および前記第2接続導体は、それぞれ、複数の前記第1シート部材および複数の前記第2シート部材を縫合する導電性の糸状部材である
請求項1に記載の発電装置。
【請求項8】
前記第1接続導体に接続される第1導線と、
前記第2接続導体に接続される第2導線と、を備え、
前記第1導線は、前記第1接続導体を構成する糸状部材と前記第1シート部材との間に挟持され、
前記第2導線は、前記第2接続導体を構成する糸状部材と前記第2シート部材との間に挟持される
請求項7に記載の発電装置。
【請求項9】
積層方向に対向する前記第1シート部材と前記第2シート部材との間隔を保持する間隔保持部材を備え、
前記間隔保持部材は、前記第1シート部材における前記第2絶縁部材側に位置する端部側に対して積層方向の少なくとも一方に対向する前記第2シート部材との間、および、前記第2シート部材における前記第1絶縁部材側に位置する端部側に対して積層方向の少なくとも一方に対向する前記第1シート部材との間、の少なくとも一方に設けられている
請求項2に記載の発電装置。
発明の詳細な説明
【技術分野】
【0001】
本発明は、摩擦帯電を利用して発電する発電装置に関するものである。
続きを表示(約 1,600 文字)
【背景技術】
【0002】
従来の発電装置としては、第1電極層の外面側に第1帯電層を有する第1部材と、第2電極層の外面側に第2帯電層を有する第2部材と、を備えたものが知られている(例えば、特許文献1参照)。従来の発電装置は、第1部材および第2部材を積層して第1帯電層と第2帯電層とを対向させ、第1帯電層と第2帯電層との接触状態を変化させることによって発電する。
【0003】
発電装置では、発電出力を大きくするために、複数の第1部材と複数の第2部材とを互い違いに積層することで、互いに対向する第1帯電層および第2帯電層の組を、積層方向に複数組配置することが考えられている。
【先行技術文献】
【特許文献】
【0004】
特開2016-500248号公報
【発明の概要】
【発明が解決しようとする課題】
【0005】
複数の第1部材および複数の第2部材を有する発電装置は、複数の第1部材の第1電極層を接続電線で並列または直列に接続すると共に、複数の第2部材の第2電極層を接続電線で並列または直列に接続することになる。この場合には、第1電極層および第2電極層に対して予め接続電線を接続した状態とし、接続電線を接続した第1電極層および第2電極層に対して他の部材を積層して第1部材または第2部材を形成することになる。このため、複数の第1部材および複数の第2部材を有する発電装置は、第1電極層および第2電極層に対して接続電線を接続する作業が煩雑となって、製造コストが高くなるおそれがある。
【0006】
本発明の目的とするところは、複数の第1電極層の電気的な接続および複数の第2電極層の電気的な接続を容易に行うことのできる発電装置を提供することにある。
【課題を解決するための手段】
【0007】
本発明に係る発電装置は、複数の第1シート部材と、複数の第2シート部材と、第1接続導体と、第2接続導体と、を備える発電装置であって、前記第1シート部材が、第1電極層の外面側に第1帯電層を有し、前記第2シート部材が、第2電極層の外面側に第2帯電層を有し、複数の前記第1シート部材のそれぞれの一部分と、複数の前記第2シート部材のそれぞれの一部分とが、互い違いに積層されることによって、前記第1帯電層と前記第2帯電層とが互いに対向しており、前記発電装置が、前記第1帯電層と前記第2帯電層との互いの接触状態の変化によって発電し、前記第1接続導体が、複数の前記第1シート部材のそれぞれの他の部分を貫通し、且つ複数の前記第1シート部材のそれぞれの前記第1電極層に接続されており、前記第2接続導体が、複数の前記第2シート部材のそれぞれの他の部分を貫通し、且つ複数の前記第2シート部材のそれぞれの前記第2電極層に接続されている。
【0008】
また、本発明に係る発電装置は、複数の前記第1シート部材の間に位置する前記第1接続導体の外周部を囲む第1絶縁部材と、複数の前記第2シート部材の間に位置する前記第2接続導体の外周部を囲む第2絶縁部材と、を備える、ことが好ましい。
【0009】
また、本発明に係る発電装置は、前記第1絶縁部材の厚さTi1と、前記第2シート部材の厚さTs2との比Ti1/Ts2、及び前記第2絶縁部材の厚さTi2と、前記第1シート部材の厚さTs1との比Ti2/Ts1とが、それぞれ0.8以上1.2以下の範囲内である、ことが好ましい。
【0010】
また、本発明に係る発電装置は、前記第1帯電層および前記第2帯電層が、一方が多孔質構造を有するポリイミドからなり、他方がポリアミドからなる、ことが好ましい。
(【0011】以降は省略されています)
この特許をJ-PlatPat(特許庁公式サイト)で参照する
関連特許
東京応化工業株式会社
発電装置
2か月前
東京応化工業株式会社
ろ過処理方法、及び多孔質膜
1か月前
東京応化工業株式会社
レジスト組成物、及びレジストパターン形成方法
1か月前
東京応化工業株式会社
電磁波吸収体、及び電磁波吸収体形成用ペースト
29日前
東京応化工業株式会社
レジスト組成物、およびレジストパターン形成方法
1か月前
東京応化工業株式会社
処理液、半導体基板の処理方法、及び半導体デバイスの製造方法
6日前
東京応化工業株式会社
システム、移動機構部、位置決め機構部及び培養チップ接続機構
21日前
東京応化工業株式会社
処理液、これを用いた基板の処理方法、及び半導体基板の製造方法
1か月前
東京応化工業株式会社
レジスト組成物、レジストパターン形成方法、化合物及び高分子化合物
20日前
東京応化工業株式会社
レジスト組成物、レジストパターン形成方法、化合物、および酸発生剤
1か月前
東京応化工業株式会社
レジスト組成物、レジストパターン形成方法、化合物、及び酸拡散制御剤
1か月前
東京応化工業株式会社
膜蒸留膜、膜蒸留膜の製造方法、膜蒸留モジュール、精製された液体の製造方法
1か月前
東京応化工業株式会社
レジスト組成物、レジストパターン形成方法、化合物、ラジカル重合開始剤、重合体
1か月前
東京応化工業株式会社
レジスト組成物、レジストパターン形成方法、化合物、酸発生剤、及び酸拡散制御剤
20日前
東京応化工業株式会社
レジスト組成物及びレジストパターン形成方法
1か月前
東京応化工業株式会社
多孔質膜、多孔質膜の製造方法、膜蒸留モジュール、膜蒸留装置及び精製された液体の製造方法
1か月前
東京応化工業株式会社
レジスト組成物、レジストパターン形成方法、化合物、ラジカル重合開始剤、連鎖移動剤及び重合体
1か月前
東京応化工業株式会社
レジスト組成物、レジストパターン形成方法、重合体、化合物、ラジカル重合開始剤及び連鎖移動剤
1か月前
個人
単極モータ
1か月前
個人
高圧電気機器の開閉器
7日前
個人
電気を重力で発電装置
20日前
キヤノン電子株式会社
モータ
19日前
キヤノン電子株式会社
モータ
27日前
株式会社アイシン
ロータ
1か月前
株式会社アイシン
ロータ
1か月前
日星電気株式会社
ケーブル組立体
1か月前
コーセル株式会社
電源装置
28日前
株式会社アイドゥス企画
減反モータ
7日前
トヨタ自動車株式会社
モータ
19日前
株式会社デンソー
回転機
1か月前
株式会社ダイヘン
充電装置
1か月前
株式会社ダイヘン
充電装置
1か月前
株式会社ダイヘン
充電装置
1か月前
株式会社ダイヘン
充電装置
1か月前
株式会社アイシン
ステータ
1か月前
株式会社アイシン
ステータ
1か月前
続きを見る
他の特許を見る