TOP
|
特許
|
意匠
|
商標
特許ウォッチ
Twitter
他の特許を見る
公開番号
2025152978
公報種別
公開特許公報(A)
公開日
2025-10-10
出願番号
2024055199
出願日
2024-03-29
発明の名称
充電装置
出願人
株式会社ダイヘン
代理人
個人
,
個人
主分類
H02J
7/00 20060101AFI20251002BHJP(電力の発電,変換,配電)
要約
【課題】充電コネクタをプラグインコネクタに接続してから本体まで戻ることなく充電の開始が可能である充電装置を提供する。
【解決手段】蓄電池91の電力で電動機を駆動して移動する電気移動体2の蓄電池91を充電する充電装置A1において、直流電力を出力する直流電源部2と、直流電源部2を制御する制御部4と、電気移動体2に接続されて、直流電源部2が出力する直流電力を当該電気移動体2に供給する充電コネクタ61と、充電コネクタ61が接続された電気移動体9に開始信号を送信する送信状態と送信しない非送信状態とで切り替えられる信号送信部5と、充電コネクタ61が収納された収納状態であるか、収納されていない非収納状態であるかを検出する検出部7とを備えた。制御部4は、検出部7の検出結果が収納状態から非収納状態に変わった場合に、信号送信部5を非送信状態から送信状態に切り替える。
【選択図】図1
特許請求の範囲
【請求項1】
蓄電池の電力で電動機を駆動して移動する電気移動体の前記蓄電池を充電する充電装置であって、
直流電力を出力する直流電源部と、
前記直流電源部を制御する制御部と、
前記電気移動体に接続されて、前記直流電源部が出力する直流電力を当該電気移動体に供給する充電コネクタと、
前記充電コネクタが接続された前記電気移動体に開始信号を送信する送信状態と送信しない非送信状態とで切り替えられる信号送信部と、
前記充電コネクタが収納された収納状態であるか、収納されていない非収納状態であるかを検出する検出部と、
を備え、
前記制御部は、前記検出部の検出結果が前記収納状態から前記非収納状態に変わった場合に、前記信号送信部を前記非送信状態から前記送信状態に切り替える、
充電装置。
続きを表示(約 720 文字)
【請求項2】
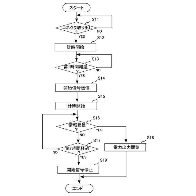
前記制御部は、前記検出部の検出結果が前記収納状態から前記非収納状態に変わったときから第1時間経過後に、前記信号送信部を前記非送信状態から前記送信状態に切り替える、
請求項1に記載の充電装置。
【請求項3】
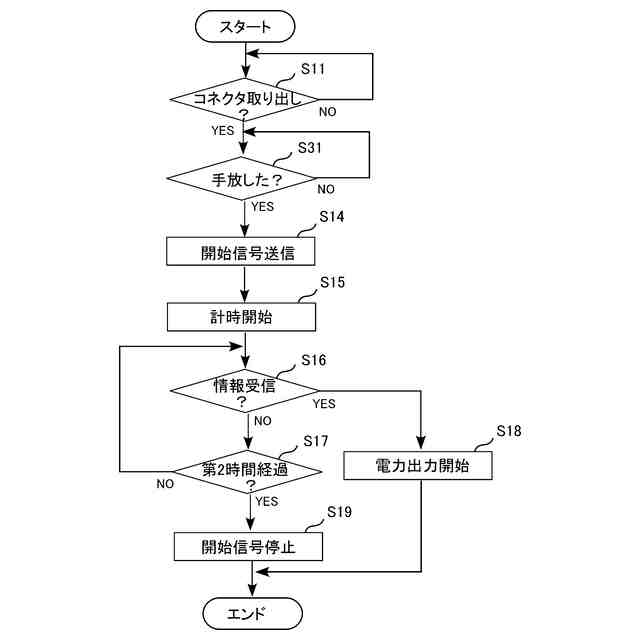
前記充電コネクタが操作者によって把持されているか否かを検出する第2検出部をさらに備え、
前記制御部は、前記検出部の検出結果が前記収納状態から前記非収納状態に変わった後、前記第2検出部が、把持されていない状態を検出したときに、前記信号送信部を前記非送信状態から前記送信状態に切り替える、
請求項1に記載の充電装置。
【請求項4】
前記充電コネクタが接続された前記電気移動体と通信を行う通信部をさらに備え、
前記電気移動体は、前記信号送信部から前記開始信号を受信した場合、前記通信部に蓄電池情報を送信し、
前記制御部は、前記通信部が前記蓄電池情報を受信した場合に、前記直流電源部に出力を開始させる、
請求項1ないし3のいずれかに記載の充電装置。
【請求項5】
前記制御部は、前記信号送信部を前記非送信状態から前記送信状態に切り替えた後、前記通信部が前記蓄電池情報を受信しない状態が第2時間継続した場合、前記信号送信部を前記送信状態から前記非送信状態に切り替える、
請求項4に記載の充電装置。
【請求項6】
前記制御部は、前記信号送信部を前記送信状態から前記非送信状態に切り替えたときから前記第3時間経過後に、前記信号送信部を前記非送信状態から前記送信状態に切り替える、
請求項5に記載の充電装置。
発明の詳細な説明
【技術分野】
【0001】
本発明は、電気自動車などを充電する充電装置に関する。
続きを表示(約 1,700 文字)
【背景技術】
【0002】
近年、電気自動車の普及に伴い、電気自動車の蓄電池に充電をするための充電装置の整備が進んでいる。特許文献1には、充電装置の一例が開示されている。特許文献1の充電装置での充電開始時には、まず、充電ケーブルを車両側の充電コネクタに手動で接続し、次に、充電を開始するためのスタートボタンをONにする必要がある。スタートボタンのONが検出された場合、充電装置の制御回路は、車載ネットワークを用いた通信を開始させ、車両の通信部からバッテリの情報を受信する。そして、受信した情報に応じて、充電ユニットの充電動作を制御することにより、バッテリの充電を開始する。
【先行技術文献】
【特許文献】
【0003】
特開2016-21845号公報
【発明の概要】
【発明が解決しようとする課題】
【0004】
一般的に、充電装置での充電開始時には、充電ケーブルの先端の充電コネクタを電気自動車のプラグインコネクタに接続してから、充電装置の本体の操作手段で、充電を開始するための操作を行う必要がある。電気自動車がバスなどの長尺の車両であると、充電装置の本体の操作手段と、電気自動車のプラグインコネクタとの距離が長くなる場合がある。この場合、充電コネクタをプラグインコネクタに接続した後、離れた位置にある充電装置の本体まで戻ってから充電開始操作を行う必要がある。もし、充電コネクタとプラグインコネクタとの接続が不十分であった場合、プラグインコネクタの位置まで戻って接続を確認した後、再度、離れた位置にある充電装置の本体まで戻り、改めて充電開始操作を行う必要がある。
【0005】
本発明は上記した事情のもとで考え出されたものであって、充電コネクタをプラグインコネクタに接続してから本体まで戻ることなく充電の開始が可能である充電装置を提供することをその目的としている。
【課題を解決するための手段】
【0006】
上記課題を解決するため、本発明では、次の技術的手段を講じている。
【0007】
本発明の第1の側面によって提供される充電装置は、蓄電池の電力で電動機を駆動して移動する電気移動体の前記蓄電池を充電する充電装置であって、直流電力を出力する直流電源部と、前記直流電源部を制御する制御部と、前記電気移動体に接続されて、前記直流電源部が出力する直流電力を当該電気移動体に供給する充電コネクタと、前記充電コネクタが接続された前記電気移動体に開始信号を送信する送信状態と送信しない非送信状態とで切り替えられる信号送信部と、前記充電コネクタが収納された収納状態であるか、収納されていない非収納状態であるかを検出する検出部と、を備え、前記制御部は、前記検出部の検出結果が前記収納状態から前記非収納状態に変わった場合に、前記信号送信部を前記非送信状態から前記送信状態に切り替える。
【0008】
なお、「電気移動体」は、蓄電池の電力で電動機を駆動して移動する移動体であって、いわゆる電気自動車だけでなく、ハイブリッド車なども含まれる。また、「電気移動体」は、いわゆる自動車だけでなく、二輪車、船舶、飛行機などの他の乗り物、または、無人搬送車、ドローンなどの無人移動体も含まれる。
【0009】
本発明の好ましい実施の形態においては、前記制御部は、前記検出部の検出結果が前記収納状態から前記非収納状態に変わったときから第1時間経過後に、前記信号送信部を前記非送信状態から前記送信状態に切り替える。
【0010】
本発明の好ましい実施の形態においては、前記充電コネクタが操作者によって把持されているか否かを検出する第2検出部をさらに備え、前記制御部は、前記検出部の検出結果が前記収納状態から前記非収納状態に変わった後、前記第2検出部が、把持されていない状態を検出したときに、前記信号送信部を前記非送信状態から前記送信状態に切り替える。
(【0011】以降は省略されています)
この特許をJ-PlatPat(特許庁公式サイト)で参照する
関連特許
株式会社ダイヘン
充電装置
22日前
株式会社ダイヘン
搬送装置
22日前
株式会社ダイヘン
制御装置
22日前
株式会社ダイヘン
溶接電源装置
22日前
株式会社ダイヘン
変圧器組立装置
22日前
株式会社ダイヘン
インバータ装置
17日前
株式会社ダイヘン
パルス電源装置
22日前
株式会社ダイヘン
インバータ装置
22日前
株式会社ダイヘン
パワーモジュール
22日前
株式会社ダイヘン
積層造形システム
2日前
株式会社ダイヘン
積層造形システム
2日前
株式会社ダイヘン
積層造形システム
2日前
株式会社ダイヘン
熱加工用電源装置
3日前
株式会社ダイヘン
熱加工用電源装置
9日前
株式会社ダイヘン
パワーモジュール
22日前
株式会社ダイヘン
パワーモジュール
22日前
株式会社ダイヘン
アーク溶接システム
22日前
株式会社ダイヘン
制御装置及び研削システム
22日前
株式会社ダイヘン
充電装置、および、電力システム
15日前
株式会社ダイヘン
変圧器組立方法及び変圧器組立装置
22日前
株式会社ダイヘン
ティーチングチップおよびこれを装着した溶接ロボット
2日前
株式会社ダイヘン
搬送ロボットの教示システム、および搬送ロボットの教示方法
22日前
株式会社ダイヘン
搬送ロボットの教示システム、および搬送ロボットの教示方法
22日前
株式会社ダイヘン
搬送ロボットの教示システム、および搬送ロボットの教示方法
5日前
株式会社ダイヘン
タップ切換台
2日前
個人
単極モータ
18日前
キヤノン電子株式会社
モータ
2日前
株式会社アイシン
ロータ
22日前
株式会社アイシン
ロータ
18日前
コーセル株式会社
電源装置
3日前
日星電気株式会社
ケーブル組立体
10日前
トヨタ自動車株式会社
固定子
23日前
株式会社デンソー
回転機
16日前
トヨタ自動車株式会社
製造装置
23日前
株式会社ダイヘン
充電装置
22日前
株式会社アイシン
ステータ
22日前
続きを見る
他の特許を見る