TOP
|
特許
|
意匠
|
商標
特許ウォッチ
Twitter
他の特許を見る
公開番号
2025154121
公報種別
公開特許公報(A)
公開日
2025-10-10
出願番号
2024056945
出願日
2024-03-29
発明の名称
パワーモジュール
出願人
株式会社ダイヘン
代理人
弁理士法人平木国際特許事務所
主分類
H01L
25/07 20060101AFI20251002BHJP(基本的電気素子)
要約
【課題】素子実装基板および部品実装基板で発熱した熱を、効率良く放熱することが難しい。
【解決手段】
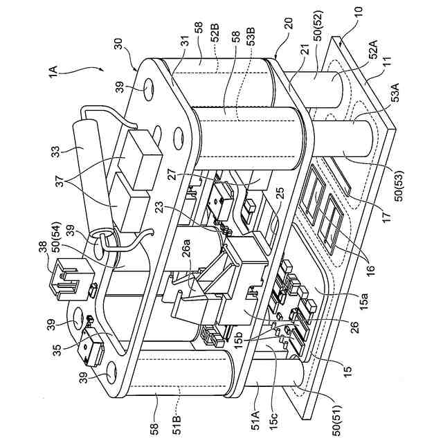
パワーモジュールは、素子実装基板10と、部品実装基板20とが対向し、部品実装基板20とコネクタ基板30とが対向するように、素子実装基板10、部品実装基板20、およびコネクタ基板30を収容し、絶縁基板11に接触した放熱板76を、底壁として備えるケーシング70を備えている。ケーシング60には、少なくとも素子実装基板10および部品実装基板20を封止する封止材60が、さらに収容されており、素子実装基板10と、部品実装基板20と、コネクタ基板30とが、対向した状態で離間するように、金属製の支柱50で連結されている。
【選択図】図3
特許請求の範囲
【請求項1】
高電圧用のパワーモジュールであって、
前記パワーモジュールは、
セラミックスからなる絶縁基板に半導体素子が少なくとも実装された素子実装基板と、
前記半導体素子に電気的に接続される電気部品または電子部品の実装部品が実装された部品実装基板と、
前記実装部品に電気的に接続されるとともに、少なくとも外部機器に電気的に接続される接続部を有したコネクタ基板と、
前記素子実装基板と、前記部品実装基板とが対向し、前記部品実装基板と前記コネクタ基板とが対向するように、前記素子実装基板、前記部品実装基板、および前記コネクタ基板を収容し、前記絶縁基板に接触した放熱板を、底壁として備えるケーシングと、
を備えており、
前記ケーシングには、少なくとも前記素子実装基板および前記部品実装基板を封止する封止材が、さらに収容されており、
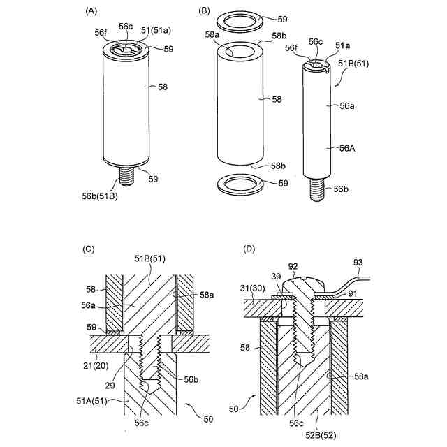
前記素子実装基板と、前記部品実装基板と、前記コネクタ基板とが、対向した状態で離間するように、金属製の支柱で連結されていることを特徴とするパワーモジュール。
続きを表示(約 1,000 文字)
【請求項2】
前記支柱は、前記半導体素子と、前記実装部品とに電気的に導通した接続端子であることを特徴とする請求項1に記載のパワーモジュール。
【請求項3】
前記素子実装基板、前記部品実装基板、および前記コネクタ基板は、平面視において矩形状であり、
前記接続端子は、前記素子実装基板の四隅から立設されており、
各前記接続端子は、前記部品実装基板の四隅に形成された貫通孔に挿通され、前記コネクタ基板の平面視で、前記コネクタ基板の四隅に形成された貫通孔において、前記コネクタ基板から露出していることを特徴とする請求項2に記載のパワーモジュール。
【請求項4】
前記パワーモジュールには、複数の抵抗が設けられおり、
前記素子実装基板には、前記複数の抵抗のうちチップ抵抗が設けられており、
前記部品実装基板および前記コネクタ基板の少なくとも一方には、前記複数の抵抗のうちリード抵抗が設けられていることを特徴とする請求項1に記載のパワーモジュール。
【請求項5】
前記半導体素子は、電界効果トランジスタであり、
前記部品実装基板には、前記実装部品の少なくとも一部で構成され、前記電界効果トランジスタを駆動させるゲート駆動回路が設けられており、
前記素子実装基板には、前記ゲート駆動回路と前記電界効果トランジスタとを中継するインターポーザが、実装されており、前記インターポーザには、前記チップ抵抗で構成されたゲート抵抗が設けられていることを特徴とする請求項4に記載のパワーモジュール。
【請求項6】
前記絶縁基板には、前記電界効果トランジスタのソース端子に導通するソース用導電層と、前記電界効果トランジスタのドレイン端子に導通するドレイン用導電層と、を有しており、
前記ソース用導電層には、前記支柱としてソース用接続端子が立設されており、前記ドレイン用導電層には、前記支柱としてドレイン用接続端子が立設していることを特徴とする請求項5に記載のパワーモジュール。
【請求項7】
前記素子実装基板と、前記部品実装基板と、前記コネクタ基板とが、前記支柱を介して、連結された基板構造体を、複数並設した状態で、隣接する前記基板構造体同士の一方の前記基板構造体の前記ソース用接続端子と他方の前記基板構造体の前記ドレイン用接続端子とが電気的に接続されていることを特徴とする請求項6に記載のパワーモジュール。
発明の詳細な説明
【技術分野】
【0001】
本発明は、高電圧用のパワーモジュールに関する。
続きを表示(約 1,800 文字)
【背景技術】
【0002】
この種の技術として、半導体素子が少なくとも実装されたインバータ基板(素子実装基板)と、電気部品または電子部品の実装部品が実装された第1および第2基板と、を備えたパワーモジュールが提案されている(たとえば、特許文献1参照)。インバータ基板、第1基板、および第2基板は、ソース用接続端子およびゲート用の接続端子により、間隔を空けた状態で接続されている。
【先行技術文献】
【特許文献】
【0003】
特開2022-107876号公報
【発明の概要】
【発明が解決しようとする課題】
【0004】
しかしながら、特許文献1のパワーモジュールでは、素子実装基板に実装された半導体素子が発熱するとともに、部品実装基板に実装された実装部品も発熱するが、これらの発熱した熱を、外部に効率的に放熱することができない。特に、これらを収容するケーシング内に封止材が収容されている場合には、実装部品から発熱した熱が放熱し難い。
【0005】
本発明は、このような点に鑑みてなされたものであり、素子実装基板および部品実装基板で発熱した熱を、効率良く放熱することができるパワーモジュールを提供することを目的とする。
【課題を解決するための手段】
【0006】
前記課題に鑑みて、本発明に係るパワーモジュールは、高電圧用のパワーモジュールであって、前記パワーモジュールは、セラミックスからなる絶縁基板に半導体素子が少なくとも実装された素子実装基板と、前記半導体素子に電気的に接続される電気部品または電子部品の実装部品が実装された部品実装基板と、前記実装部品に電気的に接続されるとともに、少なくとも外部機器に電気的に接続される接続部を有したコネクタ基板と、前記素子実装基板と、前記部品実装基板とが対向し、前記部品実装基板と前記コネクタ基板とが対向するように、前記素子実装基板、前記部品実装基板、および前記コネクタ基板を収容し、前記絶縁基板に接触した放熱板を、底壁として備えるケーシングと、を備えており、前記ケーシングには、少なくとも前記素子実装基板および前記部品実装基板を封止する封止材が、さらに収容されており、前記素子実装基板と、前記部品実装基板と、前記コネクタ基板とが、対向した状態で離間するように、金属製の支柱で連結されている。
【0007】
本発明によれば、素子実装基板に実装された半導体素子から発熱した熱は、絶縁基板に接触した放熱板から、放熱され易い。一方、部品実装基板に実装された実装部品か発熱した熱は、金属製の支柱を伝導し、外部に放熱され易い。特に、素子実装基板と、部品実装基板と、コネクタ基板とが、対向した状態で離間して配置されているため、これらの間に、半導体素子および実装部品から発熱した熱も放熱され、この放熱された熱は、金属製の支柱から外部に放熱される。したがって、ケーシング内に封止材が収容されたていたとしても、封止材に入熱された熱は、金属製の支柱から外部に放熱することができる。このようにして、素子実装基板および部品実装基板で発熱した熱を、効率良く放熱することができる。
【0008】
より好ましい態様としては、前記支柱は、前記半導体素子と、前記実装部品とに電気的に導通した接続端子である。
【0009】
この態様によれば、支柱は、半導体素子と、実装部品とに電気的に導通した接続端子であるので、半導体素子と実装部品とから発熱した熱は、接続端子に伝達され易い。この結果、半導体素子と実装部品とから発熱した熱を、接続端子を介して、素子実装基板側からコネクタ基板側に向かって外部に放熱し易くなる。
【0010】
さらに好ましい態様としては、前記素子実装基板、前記部品実装基板、および前記コネクタ基板は、平面視において矩形状であり、前記接続端子は、前記素子実装基板の四隅から立設されており、各前記接続端子は、前記部品実装基板の四隅に形成された貫通孔に挿通され、前記コネクタ基板の平面視で、前記コネクタ基板の四隅に形成された貫通孔において、前記コネクタ基板から露出している。
(【0011】以降は省略されています)
この特許をJ-PlatPat(特許庁公式サイト)で参照する
関連特許
株式会社ダイヘン
充電装置
今日
株式会社ダイヘン
充電装置
今日
株式会社ダイヘン
充電装置
今日
株式会社ダイヘン
制御装置
今日
株式会社ダイヘン
充電装置
今日
株式会社ダイヘン
搬送装置
今日
株式会社ダイヘン
電力変換装置
3日前
株式会社ダイヘン
電力システム
3日前
株式会社ダイヘン
回生ユニット
1日前
株式会社ダイヘン
溶接電源装置
今日
株式会社ダイヘン
パルス電源装置
今日
株式会社ダイヘン
インバータ装置
今日
株式会社ダイヘン
変圧器組立装置
今日
株式会社ダイヘン
絶縁紙巻回装置
8日前
株式会社ダイヘン
ロボットシステム
8日前
株式会社ダイヘン
パワーモジュール
今日
株式会社ダイヘン
パワーモジュール
今日
株式会社ダイヘン
パワーモジュール
今日
株式会社ダイヘン
直流パルス電源装置
1日前
株式会社ダイヘン
アーク溶接システム
今日
株式会社ダイヘン
制御装置及び研削システム
今日
株式会社ダイヘン
サブマージアーク溶接システム
今日
株式会社ダイヘン
サブマージアーク溶接システム
今日
株式会社ダイヘン
通信システム、および、通信方法
1日前
株式会社ダイヘン
変圧器組立方法及び変圧器組立装置
今日
株式会社ダイヘン
絶縁紙巻回装置及び絶縁紙巻回方法
8日前
株式会社ダイヘン
溶接検査装置、形状計測装置および外観検査装置
1日前
株式会社ダイヘン
搬送ロボットの教示システム、および搬送ロボットの教示方法
今日
株式会社ダイヘン
搬送ロボットの教示システム、および搬送ロボットの教示方法
今日
株式会社ダイヘン
フラットパネル製造システム及びそれに用いられるロボット制御装置
1日前
株式会社ダイヘン
フラットパネル製造システム及びそれに用いられるロボット制御装置
1日前
株式会社ダイヘン
フラットパネル製造システム及びそれに用いられるロボット制御装置
1日前
株式会社ダイヘン
フラットパネル製造システム及びそれに用いられるロボット制御装置
1日前
個人
安全なNAS電池
1か月前
個人
フレキシブル電気化学素子
今日
東レ株式会社
多孔質炭素シート
1か月前
続きを見る
他の特許を見る