TOP
|
特許
|
意匠
|
商標
特許ウォッチ
Twitter
他の特許を見る
10個以上の画像は省略されています。
公開番号
2025154292
公報種別
公開特許公報(A)
公開日
2025-10-10
出願番号
2024057209
出願日
2024-03-29
発明の名称
変圧器組立方法及び変圧器組立装置
出願人
株式会社ダイヘン
代理人
個人
,
個人
主分類
H01F
41/02 20060101AFI20251002BHJP(基本的電気素子)
要約
【課題】より簡単な構成にて、変圧器の生産工程を自動化できる変圧器組立方法及び変圧器組立装置を提供する。
【解決手段】
周方向にて両端部が重畳する複数の円筒形状体が径方向に重なる鉄心と隣り合うように配設された一対のコイルとを備える変圧器を組み立てる変圧器組立方法であって前記一対のコイルの下方から2つのガイド部の夫々が各コイルの内側を通り抜けて上昇する上昇ステップと所定の単位数の円筒形状体の両端部を相互離隔方向へ引っ張って各ガイド部の先端部に夫々引掛ける引掛けステップと前記両端部が各ガイド部の先端部に引掛けられた状態で前記単位数の円筒形状体が前記2つのガイド部と共に下降し前記コイル内に挿通される挿通ステップと前記単位数の円筒形状体の前記コイルへの挿通が完了した場合前記2つのガイド部が前記コイルから遠ざかる方向に移動し前記単位数の円筒形状体から離隔される離隔ステップとを実行する。
【選択図】図6
特許請求の範囲
【請求項1】
周方向にて両端部が重畳する複数の円筒形状体が径方向に重なる鉄心と、隣り合うように配設された一対のコイルとを備える変圧器を組み立てる変圧器組立方法であって、
前記一対のコイルの下方から、2つのガイド部の夫々が各コイルの内側を通り抜けて上昇する上昇ステップと、
所定の単位数の円筒形状体の両端部を、相互離隔方向へ引っ張って、各ガイド部の先端部に夫々引掛ける引掛けステップと、
前記両端部が各ガイド部の先端部に引掛けられた状態で、前記単位数の円筒形状体が、前記2つのガイド部と共に下降し、前記コイル内に挿通される挿通ステップと、
前記単位数の円筒形状体の前記コイルへの挿通が完了した場合、前記2つのガイド部が前記コイルから遠ざかる方向に移動し、前記単位数の円筒形状体から離隔される離隔ステップと
を実行する変圧器組立方法。
続きを表示(約 910 文字)
【請求項2】
前記単位数の円筒形状体では、各円筒形状体の両端部の重畳部が周方向の一向きにずれており、
前記引掛けステップでは、
各円筒形状体の両端部のうち内側端部が一方のガイド部に引掛けられ、外側端部が他方のガイド部に引掛けられ、
前記離隔ステップでは、
前記一方のガイド部が前記他方のガイド部よりも先に前記単位数の円筒形状体から離隔される請求項1に記載の変圧器組立方法。
【請求項3】
前記引掛けステップでは、
前記単位数の円筒形状体は、前記両端部の接離方向に対向する2箇所が相互離隔する方向に引張られる請求項1に記載の変圧器組立方法。
【請求項4】
前記挿通ステップでは、
前記コイル内に挿通される前記単位数の円筒形状体は、前記両端部の接離方向に対向する2箇所が相互接近する方向に押される請求項1に記載の変圧器組立方法。
【請求項5】
前記離隔ステップでは、
各ガイド部は、前記単位数の円筒形状体から離隔された後、前記コイルの内側に戻り、前記単位数の円筒形状体を他のガイド部側に押し付け、
前記単位数の円筒形状体の各端部が前記コイルの下端面側に曲げられる請求項1に記載の変圧器組立方法。
【請求項6】
周方向にて両端部が重畳する複数の円筒形状体が径方向に重なる鉄心が、隣り合う一対のコイルに挿通されている変圧器を組み立てる変圧器組立装置であって、
各コイルの内側を通り抜けて上下動する2つのガイド部と、
前記一対のコイルの上方にて所定の単位数の円筒形状体を保持する保持部材と、
前記単位数の円筒形状体の両端部が各ガイド部の先端部に夫々引掛けられた状態で、前記保持部材と前記2つのガイド部とを共に下降させて、前記単位数の円筒形状体を前記コイル内に挿通させる制御部とを備え、
前記制御部は、前記単位数の円筒形状体の前記コイルへの挿通が完了した場合、前記2つのガイド部を前記コイルから遠ざかる方向に移動させ、前記単位数の円筒形状体から離隔させる変圧器組立装置。
発明の詳細な説明
【技術分野】
【0001】
本発明は、変圧器組立方法及び変圧器組立装置に関する。
続きを表示(約 1,800 文字)
【背景技術】
【0002】
変圧器の生産工程は、例えば、重なり合う両端部を有する複数の円筒形状体を径方向に重畳させてなる鉄心を、前記両端部が互いに離隔するようにして開放させた状態で、軸長方向が平行である隣り合う一対のコイルに挿通させる工程を含む(特許文献1を参照)。
【先行技術文献】
【特許文献】
【0003】
特開平10-135058号公報
【発明の概要】
【発明が解決しようとする課題】
【0004】
上述したような、鉄心の前記コイルへの挿通工程は、複数の作業者の協業が必要な作業であって生産性が悪く、手作業であることから、作業者の熟練度等によって品質にバラツキが生じ得るという問題があった。
【0005】
これに対して、特許文献1では、変圧器の生産工程における自動化について開示しているものの、鉄心の前記コイルへの挿通前と、鉄心の前記コイルへの挿通後とで、夫々異なる複数の補助治具が用いられており、複雑な構成であるうえに、補助治具の操作も複雑である。
【0006】
本発明は斯かる事情に鑑みてなされたものであり、より簡単な構成にて、変圧器の生産工程を自動化できる変圧器組立方法及び変圧器組立装置を提供することを目的とする。
【課題を解決するための手段】
【0007】
本発明に係る変圧器組立方法は、周方向にて両端部が重畳する複数の円筒形状体が径方向に重なる鉄心と、隣り合うように配設された一対のコイルとを備える変圧器を組み立てる変圧器組立方法であって、前記一対のコイルの下方から、2つのガイド部の夫々が各コイルの内側を通り抜けて上昇する上昇ステップと、所定の単位数の円筒形状体の両端部を、相互離隔方向へ引っ張って、各ガイド部の先端部に夫々引掛ける引掛けステップと、前記両端部が各ガイド部の先端部に引掛けられた状態で、前記単位数の円筒形状体が、前記2つのガイド部と共に下降し、前記コイル内に挿通される挿通ステップと、前記単位数の円筒形状体の前記コイルへの挿通が完了した場合、前記2つのガイド部が前記コイルから遠ざかる方向に移動し、前記単位数の円筒形状体から離隔される離隔ステップとを実行する。
【0008】
本発明に係る変圧器組立装置は、周方向にて両端部が重畳する複数の円筒形状体が径方向に重なる鉄心が、隣り合う一対のコイルに挿通されている変圧器を組み立てる変圧器組立装置であって、各コイルの内側を通り抜けて上下動する2つのガイド部と、前記一対のコイルの上方にて所定の単位数の円筒形状体を保持する保持部材と、前記単位数の円筒形状体の両端部が各ガイド部の先端部に夫々引掛けられた状態で、前記保持部材と前記2つのガイド部とを共に下降させて、前記単位数の円筒形状体を前記コイル内に挿通させる制御部とを備え、前記制御部は、前記単位数の円筒形状体の前記コイルへの挿通が完了した場合、前記2つのガイド部を前記コイルから遠ざかる方向に移動させ、前記単位数の円筒形状体から離隔させる。
【発明の効果】
【0009】
本発明によれば、より簡単な構成にて、変圧器の生産工程を自動化できる変圧器組立方法及び変圧器組立装置を提供できる。
【図面の簡単な説明】
【0010】
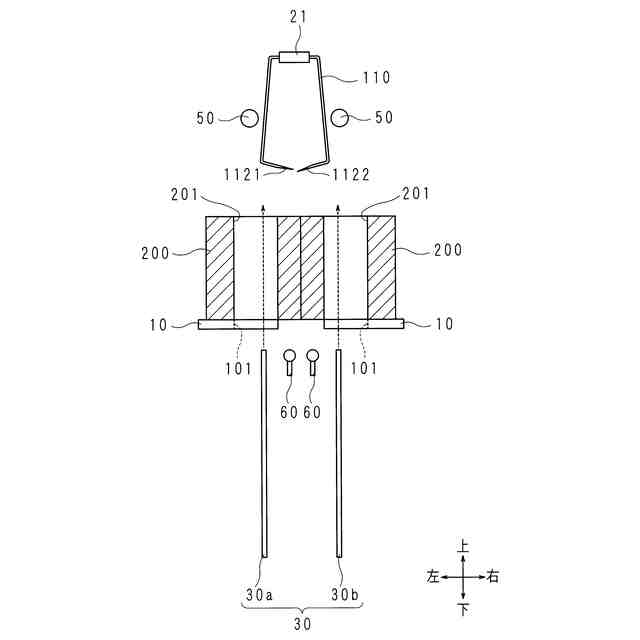
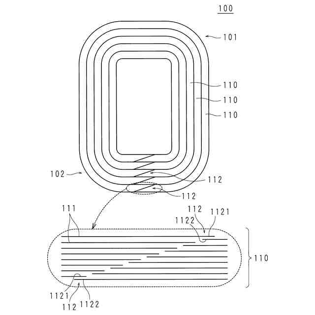
変圧器の一例を示す斜視図である。
巻鉄心の構成を示す概略的側面図である。
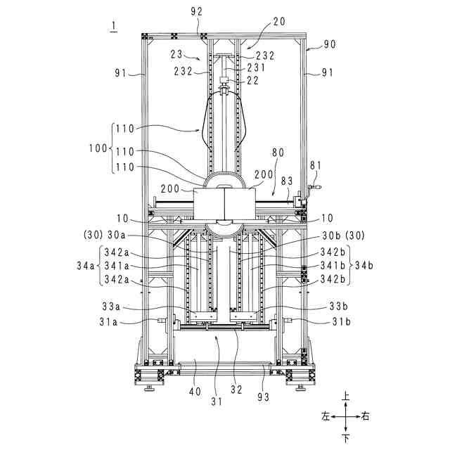
本実施形態に係る変圧器組立装置の斜視図である。
本実施形態に係る変圧器組立装置の正面図である。
本実施形態に係る変圧器組立装置の要部を概略的に示す模式図である。
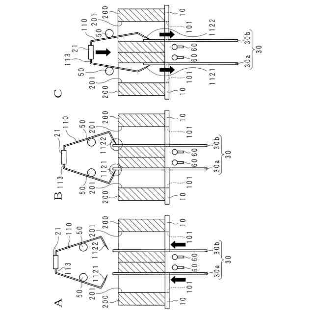
本実施形態に係る変圧器組立装置における、巻鉄心のコイルへの組み込み作業を説明するフローチャートである。
本実施形態に係る変圧器組立装置における、巻鉄心のコイルへの組み込み作業を説明する説明図である。
本実施形態に係る変圧器組立装置における、巻鉄心のコイルへの組み込み作業を説明する説明図である。
本実施形態に係る変圧器組立装置における、巻鉄心のコイルへの組み込み作業を説明する説明図である。
【発明を実施するための形態】
(【0011】以降は省略されています)
この特許をJ-PlatPat(特許庁公式サイト)で参照する
関連特許
株式会社ダイヘン
溶接装置
8日前
株式会社ダイヘン
溶接トーチ
1か月前
株式会社ダイヘン
電圧調整装置
1日前
株式会社ダイヘン
電極交換装置
1か月前
株式会社ダイヘン
研削システム
1か月前
株式会社ダイヘン
レーザ接合装置
1か月前
株式会社ダイヘン
熱加工用電源装置
1か月前
株式会社ダイヘン
積層造形システム
1か月前
株式会社ダイヘン
積層造形システム
1か月前
株式会社ダイヘン
積層造形システム
1か月前
株式会社ダイヘン
熱加工用電源装置
1か月前
株式会社ダイヘン
溶接ワイヤ送給機構
1か月前
株式会社ダイヘン
溶接ワイヤ送給装置
1か月前
株式会社ダイヘン
溶接ワイヤ送給機構
1か月前
株式会社ダイヘン
パルスアーク溶接制御方法
22日前
株式会社ダイヘン
パルスアーク溶接制御方法
22日前
株式会社ダイヘン
パルスアーク溶接制御方法
14日前
株式会社ダイヘン
制御回路、および、三相力率改善装置
7日前
株式会社ダイヘン
溶接ワイヤ送給機構およびインレットガイド
1か月前
株式会社ダイヘン
ティーチングチップおよびこれを装着した溶接ロボット
1か月前
株式会社ダイヘン
タップ切換台
1か月前
株式会社ダイヘン
搬送ロボットの教示システム、および搬送ロボットの教示方法
1か月前
株式会社ダイヘン
フラットパネル製造システム及びそれに用いられるロボット制御装置
6日前
東ソー株式会社
絶縁電線
1か月前
APB株式会社
蓄電セル
1か月前
マクセル株式会社
電源装置
1か月前
ローム株式会社
半導体装置
1か月前
株式会社東芝
端子台
1か月前
日新イオン機器株式会社
イオン源
1か月前
株式会社GSユアサ
蓄電装置
1か月前
株式会社GSユアサ
蓄電装置
28日前
三菱電機株式会社
回路遮断器
22日前
富士電機株式会社
電磁接触器
14日前
株式会社GSユアサ
蓄電装置
1か月前
株式会社GSユアサ
蓄電装置
14日前
株式会社ホロン
冷陰極電子源
1か月前
続きを見る
他の特許を見る