TOP
|
特許
|
意匠
|
商標
特許ウォッチ
Twitter
他の特許を見る
公開番号
2025165115
公報種別
公開特許公報(A)
公開日
2025-11-04
出願番号
2024068996
出願日
2024-04-22
発明の名称
溶接トーチ
出願人
株式会社ダイヘン
代理人
弁理士法人深見特許事務所
主分類
B23K
9/29 20060101AFI20251027BHJP(工作機械;他に分類されない金属加工)
要約
【課題】半自動アーク溶接装置に用いられる溶接トーチにおいて、コストの増加を抑制しつつ、異なる仕様に対するユーザの要求に対応する。
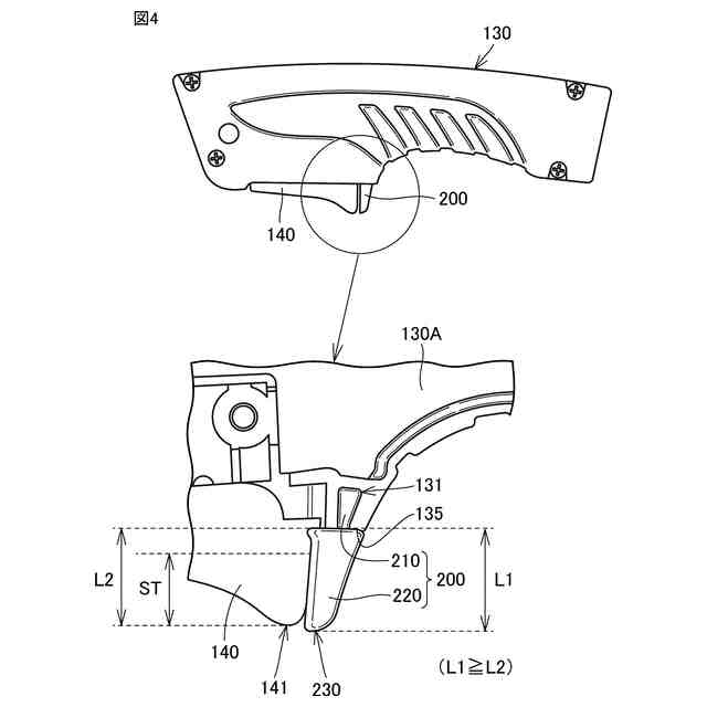
【解決手段】溶接トーチ100は、トーチ本体110と、トーチホルダ130と、操作スイッチ140と、ガード部材200とを備える。トーチホルダ130は、トーチ本体110の一部を収容し、操作者によって把持される。操作スイッチ140は、トーチホルダ130に配置され、溶接を開始する際に操作者によって操作される。ガード部材200は、トーチホルダ130において操作スイッチ140の近傍に脱着可能に構成されている。ガード部材200がトーチホルダ130に取り付けられた場合、操作スイッチ140の操作方向において、トーチホルダ130の基準面135からガード部材200の突出端230までの距離は、当該基準面135から操作スイッチ140の当該突出端230までの距離以上である。
【選択図】図3
特許請求の範囲
【請求項1】
トーチ本体と、
前記トーチ本体の一部を収容し、操作者によって把持されるトーチホルダと、
前記トーチホルダに配置され、溶接を開始する際に操作者によって操作される操作スイッチと、
前記トーチホルダにおいて前記操作スイッチの近傍に脱着可能に構成されたガード部材とを備え、
前記ガード部材が前記トーチホルダに取り付けられた場合、前記操作スイッチの操作方向において、前記トーチホルダの基準面から前記ガード部材の突出端までの距離は、前記基準面から前記操作スイッチの突出端までの距離以上である、溶接トーチ。
続きを表示(約 860 文字)
【請求項2】
トーチ本体と、
前記トーチ本体の一部を収容し、操作者によって把持されるトーチホルダと、
前記トーチホルダに配置され、溶接を開始する際に操作者によって操作される操作スイッチと、
前記トーチホルダにおいて前記操作スイッチの近傍に脱着可能に構成されたガード部材とを備え、
前記ガード部材が前記トーチホルダに取り付けられた場合、前記操作スイッチの操作方向において、前記トーチホルダの基準面から前記ガード部材の突出端までの距離は、前記操作スイッチが非操作状態から溶接開始までの間に移動するストローク量以上である、溶接トーチ。
【請求項3】
前記トーチホルダは、前記トーチ本体を挟み込むように構成された第1ホルダ部および第2ホルダ部を含み、
前記ガード部材は、前記第1ホルダ部および前記第2ホルダ部に挟み込まれることによって、前記トーチホルダに固定される、請求項1または請求項2に記載の溶接トーチ。
【請求項4】
前記ガード部材は、前記トーチホルダに固定された状態において前記トーチホルダの内部に位置する第1部分と、前記トーチホルダの外部に位置する第2部分とを含み、
前記第1部分はくさび形状を有している、請求項3に記載の溶接トーチ。
【請求項5】
前記第1ホルダ部および前記第2ホルダ部の各々には、前記第1部分に対応した形状を有する開口部が形成されており、
前記ガード部材は、前記第1部分を各ホルダ部の前記開口部に係合させることによって、前記トーチホルダに固定される、請求項4に記載の溶接トーチ。
【請求項6】
前記ガード部材は、前記トーチホルダに固定された状態において前記トーチホルダの内部に位置する第1部分と、前記トーチホルダの外部に位置する第2部分とを含み、
前記溶接トーチは、前記第1部分を前記トーチホルダに固定するための締結部材をさらに備える、請求項3に記載の溶接トーチ。
発明の詳細な説明
【技術分野】
【0001】
本開示は、溶接トーチに関し、より特定的には、溶接時に溶接作業者が手に持って操作する溶接トーチの誤動作防止のための技術に関する。
続きを表示(約 1,900 文字)
【背景技術】
【0002】
特開2008-246528号公報(特許文献1)には、溶接作業者が溶接時に溶接トーチを手に持って操作する半自動アーク溶接装置において、溶接を行なわないときに、誤って溶接トーチの操作スイッチが動作しないようにするためのロックレバーが、溶接トーチに設けられた構成が開示されている。
【先行技術文献】
【特許文献】
【0003】
特開2008-246528号公報
【発明の概要】
【発明が解決しようとする課題】
【0004】
特開2008-246528号公報(特許文献1)における溶接トーチにおいては、ロックレバーを垂直方向に位置させた状態では、ロックレバーに設けられた突起部によって操作レバーの動作が拘束されてしまうため、誤って溶接トーチの操作スイッチが動作してしまうことが防止できる。
【0005】
一方で、溶接の熟練者によっては、従来仕様の構成の溶接トーチを継続して使用することを希望する場合がある。このような場合、溶接作業者の好みに合わせて溶接トーチを変更すると、溶接トーチのトーチホルダ全体を交換することが必要となる。そうすると、ユーザは両仕様に対応したトーチホルダを個別に準備することが必要となるため、余分なコストが発生し得る。また、溶接トーチのメーカにおいても、異なる仕様のトーチホルダを製造することが必要であるため、生産時のコストが増加する可能性がある。
【0006】
本開示は、このような課題を解決するためになされたものであって、その目的は、半自動アーク溶接装置に用いられる溶接トーチにおいて、コストの増加を抑制しつつ、トーチホルダについての異なる仕様に対するユーザの要求に対応することである。
【課題を解決するための手段】
【0007】
本開示のある局面に係る溶接トーチは、トーチ本体と、トーチホルダと、操作スイッチと、ガード部材とを備える。トーチホルダは、トーチ本体の一部を収容し、操作者によって把持される。操作スイッチは、トーチホルダに配置され、溶接を開始する際に操作者によって操作される。ガード部材は、トーチホルダにおいて操作スイッチの近傍に脱着可能に構成されている。ガード部材がトーチホルダに取り付けられた場合、操作スイッチの操作方向において、トーチホルダの基準面からガード部材の突出端までの距離は、当該基準面から操作スイッチの突出端までの距離以上である。
【0008】
本開示の他の局面に係る溶接トーチは、トーチ本体と、トーチホルダと、操作スイッチと、ガード部材とを備える。トーチホルダは、トーチ本体の一部を収容し、操作者によって把持される。操作スイッチは、トーチホルダに配置され、溶接を開始する際に操作者によって操作される。ガード部材は、トーチホルダにおいて操作スイッチの近傍に脱着可能に構成されている。ガード部材がトーチホルダに取り付けられた場合、操作スイッチの操作方向において、トーチホルダの基準面からガード部材の突出端までの距離は、操作スイッチが非操作状態から溶接開始までの間に移動するストローク量以上である、溶接トーチ。
【発明の効果】
【0009】
本開示に係る溶接トーチにおいては、スイッチの誤動作を防止するためのガード部材をトーチホルダから脱着可能な構成としている。そのため、従来仕様の構成に変更する場合でも、トーチホルダ全体を変更することなく、ガード部材の部分のみを変更することで対応することができる。したがって、コストの増加を抑制しつつ、トーチホルダについての異なる仕様に対するユーザの要求に対応することができる。
【図面の簡単な説明】
【0010】
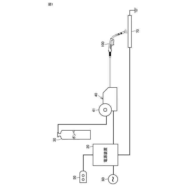
実施の形態1に係る溶接トーチが用いられる半自動アーク溶接装置の全体概略図である。
図1の溶接トーチの斜視図である。
図1の溶接トーチの側面図である。
トーチホルダへのガード部材の取付状態を説明するための図である。
ガード部材がトーチホルダから取り外された状態を説明するための図である。
ガード部材に代えて補助部材をトーチホルダに取り付けた場合の状態を説明するための図である。
実施の形態2に係る溶接トーチにおけるガード部材の固定方法を説明するための図である。
【発明を実施するための形態】
(【0011】以降は省略されています)
この特許をJ-PlatPat(特許庁公式サイト)で参照する
関連特許
株式会社ダイヘン
溶接装置
1日前
株式会社ダイヘン
充電装置
1か月前
株式会社ダイヘン
充電装置
1か月前
株式会社ダイヘン
充電装置
1か月前
株式会社ダイヘン
搬送装置
1か月前
株式会社ダイヘン
充電装置
1か月前
株式会社ダイヘン
制御装置
1か月前
株式会社ダイヘン
溶接トーチ
23日前
株式会社ダイヘン
溶接電源装置
1か月前
株式会社ダイヘン
固相接合装置
2か月前
株式会社ダイヘン
固相接合装置
2か月前
株式会社ダイヘン
固相接合装置
2か月前
株式会社ダイヘン
電力変換装置
1か月前
株式会社ダイヘン
電力システム
1か月前
株式会社ダイヘン
回生ユニット
1か月前
株式会社ダイヘン
固相接合装置
2か月前
株式会社ダイヘン
研削システム
23日前
株式会社ダイヘン
電極交換装置
23日前
株式会社ダイヘン
インバータ装置
1か月前
株式会社ダイヘン
パルス電源装置
1か月前
株式会社ダイヘン
インバータ装置
1か月前
株式会社ダイヘン
変圧器組立装置
1か月前
株式会社ダイヘン
絶縁紙巻回装置
1か月前
株式会社ダイヘン
レーザ接合装置
23日前
株式会社ダイヘン
プラズマ発生器
1か月前
株式会社ダイヘン
積層造形システム
28日前
株式会社ダイヘン
ロボットシステム
1か月前
株式会社ダイヘン
ロボットシステム
1か月前
株式会社ダイヘン
積層造形システム
28日前
株式会社ダイヘン
パワーモジュール
1か月前
株式会社ダイヘン
積層造形システム
28日前
株式会社ダイヘン
パワーモジュール
1か月前
株式会社ダイヘン
パワーモジュール
1か月前
株式会社ダイヘン
熱加工用電源装置
1か月前
株式会社ダイヘン
熱加工用電源装置
29日前
株式会社ダイヘン
溶接ワイヤ送給機構
23日前
続きを見る
他の特許を見る