TOP
|
特許
|
意匠
|
商標
特許ウォッチ
Twitter
他の特許を見る
10個以上の画像は省略されています。
公開番号
2025132124
公報種別
公開特許公報(A)
公開日
2025-09-10
出願番号
2024029484
出願日
2024-02-29
発明の名称
固相接合装置
出願人
株式会社ダイヘン
代理人
弁理士法人深見特許事務所
主分類
B23K
20/00 20060101AFI20250903BHJP(工作機械;他に分類されない金属加工)
要約
【課題】電極の交換コストを抑制する。
【解決手段】
固相接合装置1は、Z1軸方向に第1ワークW10を押圧するための第1加圧軸11と、Z2軸方向に第2ワークW20を押圧するための第2加圧軸12と、Z1軸方向にレーザ光Lを照射する光源13とを備える。制御装置30は、第1加圧軸11に第1ワークW10を押圧させかつ第2加圧軸12に第2ワークW20を押圧させる処理と、第1ワークW10にレーザ光Lを照射させる処理とを実行することにより、第1ワークW10および第2ワークW20を固相状態で接合させる。
【選択図】図1
特許請求の範囲
【請求項1】
ワークに含まれる第1ワークおよび第2ワークを固相状態で接合させるための固相接合装置であって、
第1方向に前記第1ワークを押圧するための第1加圧軸と、
前記第1方向とは反対側の第2方向に前記第2ワークを押圧するための第2加圧軸と、
前記第1方向にレーザ光を前記第1ワークに照射する光源と、
前記第1加圧軸と前記光源を制御する制御装置とを備え、
前記制御装置は、前記第1加圧軸に前記第1ワークを押圧させかつ前記第2加圧軸に前記第2ワークを押圧させる処理と、前記第1ワークに前記レーザ光を照射させる処理とを実行することにより、前記第1ワークおよび前記第2ワークを固相状態で接合させる、固相接合装置。
続きを表示(約 1,000 文字)
【請求項2】
前記制御装置は、
前記第1ワークに前記レーザ光を照射させる第1制御と、
前記第1ワークに前記第1制御よりも多い照射量の前記レーザ光を照射させる第2制御とを実行する、請求項1に記載の固相接合装置。
【請求項3】
前記制御装置は、ユーザの設定に応じて、前記第1制御および前記第2制御のいずれかを実行する、請求項2に記載の固相接合装置。
【請求項4】
前記固相接合装置は、前記ワークの属性に応じて、前記第1制御および前記第2制御のいずれかを実行する、請求項2に記載の固相接合装置。
【請求項5】
前記固相接合装置は、ユーザからの前記ワークの属性の入力を受付ける入力装置をさらに備える、請求項4に記載の固相接合装置。
【請求項6】
前記第1制御における前記レーザ光の出力値と前記第2制御における前記レーザ光の出力値とは同一であり、
前記第2制御における前記レーザ光の照射時間は、前記第1制御における前記レーザ光の照射時間よりも長い、請求項2~請求項5のいずれか1項に記載の固相接合装置。
【請求項7】
前記制御装置は、
前記第1制御を実行する場合に、前記光源による前記レーザ光の照射を開始するとともに、前記第1加圧軸および前記第2加圧軸による押圧を開始し、
前記第2制御を実行する場合に、前記第1加圧軸および前記第2加圧軸による押圧の開始よりも前に前記レーザ光の照射を開始する、請求項6に記載の固相接合装置。
【請求項8】
ワークに含まれる第1ワークおよび第2ワークを固相状態で接合させるための固相接合装置の制御方法であって、
前記固相接合装置は、
第1方向に前記第1ワークを押圧するための第1加圧軸と、
前記第1方向とは反対側の第2方向に前記第2ワークを押圧するための第2加圧軸と、
前記第1方向にレーザ光を前記第1ワークに照射する光源と備え、
前記制御方法は、前記第1加圧軸に前記第1ワークを押圧させかつ前記第2加圧軸に前記第2ワークを押圧させながら、前記第1ワークに前記レーザ光を照射させることにより、前記第1ワークおよび前記第2ワークを固相状態で接合させることを備える、固相接合装置の制御方法。
発明の詳細な説明
【技術分野】
【0001】
本開示は、固相接合装置に関し、より特定的には第1ワークと第2ワークとを固相状態で接合する固相接合装置に関する。
続きを表示(約 1,600 文字)
【背景技術】
【0002】
たとえば、特開2011-31266号公報(特許文献1)には、2枚の金属板を固相状態で接合する固相接合装置が開示されている。この固相接合装置は、電極と、該電極を金属板に対して加圧させる加圧機構と、該電極に電力を供給する電源とを備える。この固相接合装置は、電極を金属板に対して加圧させながら、電極が金属板に通電することにより、2枚の金属板を固相状態で接合する。以下では、この固相接合装置は、「通電式の固相接合装置」とも称される。
【先行技術文献】
【特許文献】
【0003】
特開2011-31266号公報
【発明の概要】
【発明が解決しようとする課題】
【0004】
上記の通電式の固相接合装置においては、電極を金属板に対して加圧させながら、電極が金属板に通電することにより、電極と金属板とにおいて抵抗発熱が発生する。したがって、固相接合装置が使用されるにつれて電極が消耗し、電極の交換コストが生じるという問題が生じ得る。
【0005】
本開示の目的は、電極の交換コストを抑制するという技術を提供することである。
【課題を解決するための手段】
【0006】
本開示の固相接合装置は、ワークに含まれる第1ワークおよび第2ワークを固相状態で接合させるための装置である。固相接合装置は、第1方向に第1ワークを押圧するための第1加圧軸と、第1方向とは反対側の第2方向に第2ワークを押圧するための第2加圧軸と、第1方向にレーザ光を第1ワークに照射する光源と、第1加圧軸と光源を制御する制御装置とを備える。制御装置は、第1加圧軸に第1ワークを押圧させかつ第2加圧軸に第2ワークを押圧させながら、第1ワークにレーザ光を照射させることにより、第1ワークおよび第2ワークを固相状態で接合させる。
【0007】
本開示によれば、電極を用いずに固相接合を実現できることから、電極の交換コストが増大するという問題が発生することを抑制できる。
【図面の簡単な説明】
【0008】
実施の形態1に係る固相接合装置を概略的に示す図である。
固相接合の主な工程を説明するための図である。
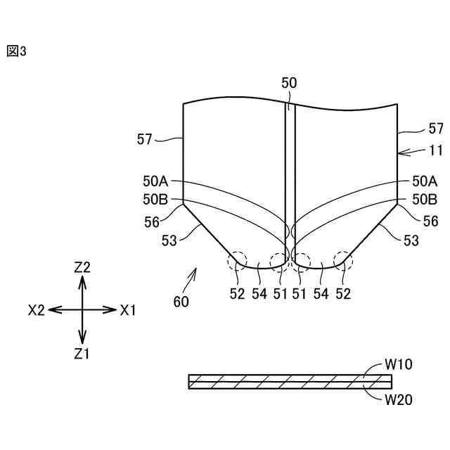
第1加圧軸の先端の形状の拡大図である。
第1ワークにおける押圧領域と照射領域との関係を示す図である。
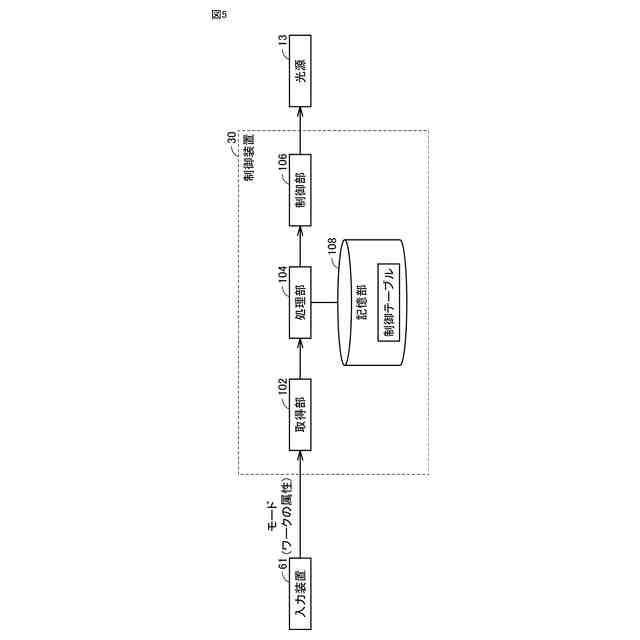
制御装置の機能ブロック図である。
制御テーブルの一例を示す図である。
第1制御が実行される場合のタイミングチャートである。
第2制御が実行される場合のタイミングチャートである。
制御装置の主な処理の流れを示すフローチャートである。
他の固相接合機器の構成例を示す図である。
他の固相接合機器の構成例を示す図である。
他の固相接合機器の構成例を示す図である。
他の制御テーブルの一例を示す図である。
【発明を実施するための形態】
【0009】
以下、本開示の実施の形態について、図面を参照しながら詳細に説明する。なお、図中同一又は相当部分には同一符号を付してその説明は繰り返さない。
【0010】
<実施の形態1>
[固相接合装置の構成]
図1は、実施の形態1に係る固相接合装置1を概略的に示す図である。固相接合装置1は、互いに重ね合わされた複数のワークを固相状態で接合する。図1の例では、複数のワークは、第1ワークW10、および第2ワークW20を含む。図1では、第1ワークW10および第2ワークW20が接合される例が説明される。第1ワークW10および第2ワークW20は、まとめて、「ワークW」とも称される。ワークWは、図示しない保持装置により保持される。
(【0011】以降は省略されています)
この特許をJ-PlatPat(特許庁公式サイト)で参照する
関連特許
株式会社ダイヘン
充電装置
1か月前
株式会社ダイヘン
充電装置
1か月前
株式会社ダイヘン
充電装置
1か月前
株式会社ダイヘン
搬送装置
1か月前
株式会社ダイヘン
充電装置
1か月前
株式会社ダイヘン
制御装置
1か月前
株式会社ダイヘン
溶接トーチ
14日前
株式会社ダイヘン
回生ユニット
1か月前
株式会社ダイヘン
電力システム
1か月前
株式会社ダイヘン
電力変換装置
1か月前
株式会社ダイヘン
溶接電源装置
1か月前
株式会社ダイヘン
固相接合装置
2か月前
株式会社ダイヘン
電極交換装置
14日前
株式会社ダイヘン
研削システム
14日前
株式会社ダイヘン
固相接合装置
2か月前
株式会社ダイヘン
固相接合装置
2か月前
株式会社ダイヘン
固相接合装置
2か月前
株式会社ダイヘン
インバータ装置
1か月前
株式会社ダイヘン
プラズマ発生器
1か月前
株式会社ダイヘン
レーザ接合装置
14日前
株式会社ダイヘン
パルス電源装置
1か月前
株式会社ダイヘン
インバータ装置
1か月前
株式会社ダイヘン
変圧器組立装置
1か月前
株式会社ダイヘン
絶縁紙巻回装置
1か月前
株式会社ダイヘン
パワーモジュール
1か月前
株式会社ダイヘン
積層造形システム
19日前
株式会社ダイヘン
積層造形システム
19日前
株式会社ダイヘン
パワーモジュール
1か月前
株式会社ダイヘン
ロボットシステム
1か月前
株式会社ダイヘン
ロボットシステム
1か月前
株式会社ダイヘン
熱加工用電源装置
26日前
株式会社ダイヘン
熱加工用電源装置
20日前
株式会社ダイヘン
積層造形システム
19日前
株式会社ダイヘン
パワーモジュール
1か月前
株式会社ダイヘン
溶接ワイヤ送給機構
14日前
株式会社ダイヘン
溶接ワイヤ送給機構
14日前
続きを見る
他の特許を見る