TOP
|
特許
|
意匠
|
商標
特許ウォッチ
Twitter
他の特許を見る
公開番号
2025153062
公報種別
公開特許公報(A)
公開日
2025-10-10
出願番号
2024055334
出願日
2024-03-29
発明の名称
制御装置
出願人
株式会社ダイヘン
代理人
個人
,
個人
,
個人
,
個人
,
個人
主分類
B24B
9/04 20060101AFI20251002BHJP(研削;研磨)
要約
【課題】溶接ビードを効率的に研削可能とすることを目的とする。
【解決手段】
母材の溶接ビードを研削部に研削させるための、前記研削部の経路の基準である教示経路を特定する経路特定部と、ユーザの操作入力に基づいて取得される、前記教示経路を基準として前記教示経路と交差する交差方向への、前記溶接ビードを研削するためのウィービング動作に関する研削条件に基づいて、前記ウィービング動作を可能に前記研削部が設置されるロボットを制御する制御部と、を備える。
【選択図】図1
特許請求の範囲
【請求項1】
母材の溶接ビードを研削部に研削させるための、前記研削部の経路の基準である教示経路を特定する経路特定部と、
ユーザの操作入力に基づいて取得される、前記教示経路を基準として前記教示経路と交差する交差方向への、前記溶接ビードを研削するためのウィービング動作に関する研削条件に基づいて、前記ウィービング動作を可能に前記研削部が設置されるロボットを制御する制御部と、
を備える制御装置。
続きを表示(約 580 文字)
【請求項2】
前記制御部は、ユーザの操作入力に基づいて、前記研削条件について、前記交差方向への所定の距離を設定する、
請求項1に記載の制御装置。
【請求項3】
前記制御部は、ユーザの操作入力に基づいて、前記研削条件について、前記交差方向へ円弧を描くウィービング動作であって、当該円弧の極点から前記教示経路までの距離を設定する、
請求項2に記載の制御装置。
【請求項4】
前記制御部は、
前記教示経路に沿って、第1の方向に向かって前記教示経路の一方側の前記交差方向に第1の円弧を形成し、前記第1の円弧と連続して、前記第1の方向とは反対方向の第2の方向に向かって前記教示経路の他方側の前記交差方向に第2の円弧を形成させ、
前記第1の円弧と前記教示経路との交わる二点間の第1の幅が、前記第2の円弧と前記教示経路との交わる二点間の第2の幅よりも長くなるように設定する、
請求項3に記載の制御装置。
【請求項5】
前記制御部は、ユーザの操作入力に基づいて設定される前記研削条件である、前記第1の幅と、前記第2の幅と、に関する情報に基づいて、前記第1の幅が前記第2の幅よりも大きくなるように前記研削部を前記交差方向にウィービング動作させる、
請求項4に記載の制御装置。
発明の詳細な説明
【技術分野】
【0001】
本発明は、制御装置に関する。
続きを表示(約 1,200 文字)
【背景技術】
【0002】
母材に対する溶接継ぎ手をそのままにしておくと、溶接継ぎ手の疲労強度が低下する。溶接ビードを研削する装置は、溶接継ぎ手の疲労強度の低下を防止する目的で溶接ビードの余盛りを自動的に研削する。
【先行技術文献】
【特許文献】
【0003】
特開2000-288789号公報
【発明の概要】
【発明が解決しようとする課題】
【0004】
特許文献1に記載の溶接ビード研削装置は、研削手段および距離計測手段を備えている。距離計測手段は、溶接ビードを跨いだワークの表面形状を少なくとも2カ所で計測して、当該2か所の距離を計測する。研削手段は、当該表面形状の計測結果に基づき、溶接ビードの中心を直線に近似し、当該直線に沿って溶接ビードを研削する。これにより、当該溶接ビード研削装置は、板状の母材を突き合せた溶接ビードを自動的に略面一に研削することができる。
【0005】
しかしながら、特許文献1に記載の溶接ビード研削装置では、広い幅を有する溶接ビードなどに対して複数回の研削動作を実行する必要が生じるため、研削動作の効率が低下するという問題が生じる。
【0006】
そこで、本発明は、このような問題を解決するためになされたものであり、溶接ビードを効率的に研削可能とすることを目的とする。
【課題を解決するための手段】
【0007】
本発明の一態様における制御装置は、母材の溶接ビードを研削部に研削させるための、前記研削部の経路の基準である教示経路を特定する経路特定部と、ユーザの操作入力に基づいて取得される、前記教示経路を基準として前記教示経路と交差する交差方向への、前記溶接ビードを研削するためのウィービング動作に関する研削条件に基づいて、前記ウィービング動作を可能に前記研削部が設置されるロボットを制御する制御部と、を備える
【発明の効果】
【0008】
本発明により、溶接ビードを効率的に研削可能とすることができる。
【図面の簡単な説明】
【0009】
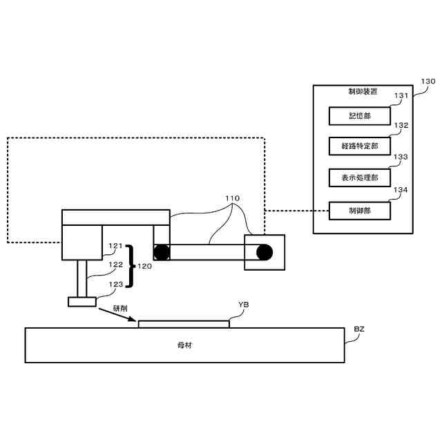
研削システムの概略構成を示す側面図である。
研削条件情報D131aを示す図である。
研削条件設定画面T10の一例を示す図である。
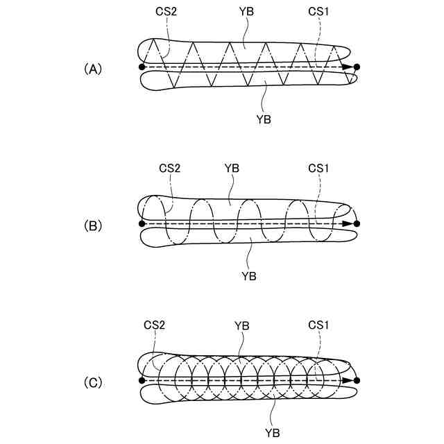
ウィービング動作における研削ツールの軌跡例を示す図である。
ウィービング動作の設定条件により変化する研削ツールの軌跡例を示す図である。
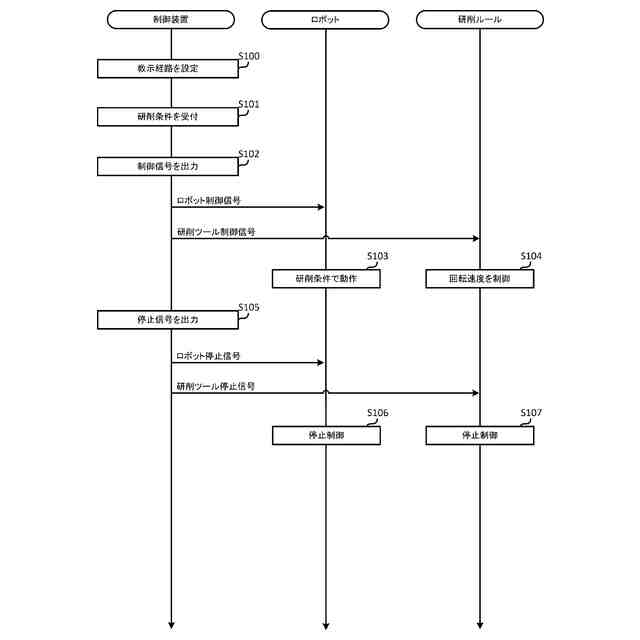
研削システムの処理手順の流れを示すフローチャートである。
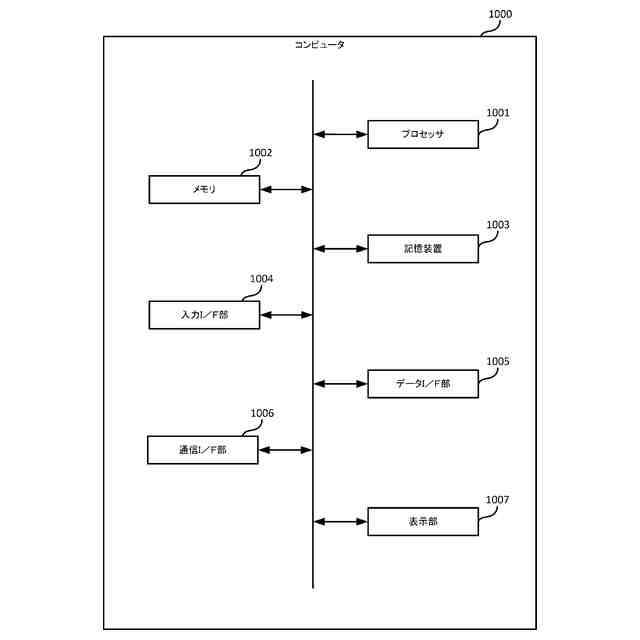
コンピュータのハードウェア構成の一例を示す図である。
【発明を実施するための形態】
【0010】
===研削システム10の構成===
図1を参照して、研削システム100の構成について説明する。図1は、研削システム100の概略構成を示す側面図である。
(【0011】以降は省略されています)
この特許をJ-PlatPat(特許庁公式サイト)で参照する
関連特許
株式会社ダイヘン
制御装置
8日前
株式会社ダイヘン
充電装置
8日前
株式会社ダイヘン
充電装置
8日前
株式会社ダイヘン
充電装置
8日前
株式会社ダイヘン
搬送装置
8日前
株式会社ダイヘン
充電装置
8日前
株式会社ダイヘン
回生ユニット
9日前
株式会社ダイヘン
電力システム
11日前
株式会社ダイヘン
電力変換装置
11日前
株式会社ダイヘン
溶接電源装置
8日前
株式会社ダイヘン
インバータ装置
3日前
株式会社ダイヘン
プラズマ発生器
19日前
株式会社ダイヘン
変圧器組立装置
8日前
株式会社ダイヘン
絶縁紙巻回装置
16日前
株式会社ダイヘン
インバータ装置
8日前
株式会社ダイヘン
パルス電源装置
8日前
株式会社ダイヘン
ロボットシステム
16日前
株式会社ダイヘン
パワーモジュール
8日前
株式会社ダイヘン
パワーモジュール
8日前
株式会社ダイヘン
パワーモジュール
8日前
株式会社ダイヘン
ロボットシステム
19日前
株式会社ダイヘン
直流パルス電源装置
9日前
株式会社ダイヘン
アーク溶接システム
8日前
株式会社ダイヘン
制御装置及び研削システム
8日前
株式会社ダイヘン
サブマージアーク溶接システム
8日前
株式会社ダイヘン
サブマージアーク溶接システム
8日前
株式会社ダイヘン
通信システム、および、通信方法
9日前
株式会社ダイヘン
充電装置、および、電力システム
1日前
株式会社ダイヘン
絶縁紙巻回装置及び絶縁紙巻回方法
16日前
株式会社ダイヘン
変圧器組立方法及び変圧器組立装置
8日前
株式会社ダイヘン
溶接検査装置、形状計測装置および外観検査装置
9日前
株式会社ダイヘン
搬送ロボットの教示システム、および搬送ロボットの教示方法
8日前
株式会社ダイヘン
搬送ロボットの教示システム、および搬送ロボットの教示方法
8日前
株式会社ダイヘン
フラットパネル製造システム及びそれに用いられるロボット制御装置
9日前
株式会社ダイヘン
フラットパネル製造システム及びそれに用いられるロボット制御装置
9日前
株式会社ダイヘン
フラットパネル製造システム及びそれに用いられるロボット制御装置
9日前
続きを見る
他の特許を見る