TOP
|
特許
|
意匠
|
商標
特許ウォッチ
Twitter
他の特許を見る
10個以上の画像は省略されています。
公開番号
2025154710
公報種別
公開特許公報(A)
公開日
2025-10-10
出願番号
2024057865
出願日
2024-03-29
発明の名称
パルス電源装置
出願人
株式会社ダイヘン
代理人
弁理士法人酒井国際特許事務所
主分類
H02M
3/28 20060101AFI20251002BHJP(電力の発電,変換,配電)
要約
【課題】任意のタイミングで多段階のレベルのパルス出力電圧を出力する。
【解決手段】パルス電源装置は、N個のDC-DCコンバータとN個のインバータとを備える。N個のDC-DCコンバータは、第1直流出力端子と第2直流出力端子との間に直流電圧を発生する。N個のインバータは、対応するDC-DCコンバータにおける第1直流出力端子とパルス出力端子との間を短絡または切断する第1スイッチと、対応するDC-DCコンバータにおける第2直流出力端子とパルス出力端子との間を短絡または切断する第2スイッチとを含む。N個のうちの第1のDC-DCコンバータは、絶縁トランスを有し、且つ、第1直流出力端子又は前記第2直流出力端子は、基準電位に接続される。N個のうちの第nのDC-DCコンバータの第1直流出力端子又は第2直流出力端子がN個のインバータのうちの第(n-1)のインバータにおけるパルス出力端子に接続される。
【選択図】図6
特許請求の範囲
【請求項1】
それぞれが第1直流入力端子及び第2直流入力端子で構成される直流入力部と第1直流出力端子及び第2直流出力端子で構成される直流出力部とを有し、前記第1直流入力端子と前記第2直流入力端子との間に入力した直流電圧を変圧し、前記第1直流出力端子と前記第2直流出力端子との間に変圧した直流電圧を発生させるN個(Nは2以上の整数)のDC-DCコンバータと、
それぞれがスイッチ及びパルス出力端子を有し、前記N個のDC-DCコンバータに一対一で対応して設けられるN個のインバータと
を備え、
前記N個のインバータのそれぞれは、前記N個のDC-DCコンバータのうちの対応するDC-DCコンバータにおける前記第1直流出力端子と前記パルス出力端子との間を短絡または切断する第1スイッチと、前記対応するDC-DCコンバータにおける前記第2直流出力端子と前記パルス出力端子との間を短絡または切断する第2スイッチとを含み、前記第1スイッチ及び前記第2スイッチが相補的にスイッチング動作することによって、前記パルス出力端子からパルス出力電圧を出力するように構成されており、
前記N個のDC-DCコンバータのうちの第1のDC-DCコンバータは、前記直流入力部と前記直流出力部との間に電圧を変圧するための絶縁トランスを有し、且つ、前記第1直流出力端子又は前記第2直流出力端子は、基準電位に接続されており、
前記N個のDC-DCコンバータのうちの第NのDC-DCコンバータのパルス出力端子は、負荷に接続され、
前記N個のDC-DCコンバータのうちの第n(nは、2以上、N以下の整数)のDC-DCコンバータは、前記直流入力部と前記直流出力部との間に電圧を変圧するための絶縁トランスを有し、且つ、前記第1直流出力端子又は前記第2直流出力端子が前記N個のインバータのうちの第(n-1)のインバータにおける前記パルス出力端子に接続されている
パルス電源装置。
続きを表示(約 390 文字)
【請求項2】
前記N個のインバータのそれぞれのインバータ内の前記スイッチのスイッチングタイミングを制御するパルス制御部をさらに備え、
前記N個のDC-DCコンバータのそれぞれは、スイッチング電源装置であり、
前記第nのDC-DCコンバータのそれぞれは、前記第1直流出力端子が前記基準電位になる場合は、前記第1直流出力端子が前記基準電位となったタイミングにおける前記第2直流出力端子の電圧を検出し、前記第2直流出力端子が前記基準電位になる場合は、前記第2直流出力端子が前記基準電位となったタイミングにおける前記第1直流出力端子の電圧を検出するとともに、検出した前記第1直流出力端子の電圧又は前記第2直流出力端子の電圧に基づき、前記第1直流出力端子と前記第2直流出力端子との間に発生する直流電圧を安定化させる
請求項1に記載のパルス電源装置。
発明の詳細な説明
【技術分野】
【0001】
本発明は、パルス電源装置に関する。
続きを表示(約 2,800 文字)
【背景技術】
【0002】
3レベル以上の電圧を周期的に切り替えて出力するパルス電源装置として、バイポーラ方式のマルチレベルインバータ(特許文献1)が知られている。バイポーラ方式のマルチレベルインバータは、0Vを出力する短絡スイッチと、正側電圧と負側電圧とを切り替えるフルブリッジインバータとを備える。バイポーラ方式のマルチレベルインバータは、0Vと、正側電圧と、負側電圧とを周期的に切り替えることができる。しかし、バイポーラ方式のマルチレベルインバータは、正側電圧と負側電圧の絶対値が同一であり、デューティ比も50%である。このため、バイポーラ方式のマルチレベルインバータは、発生する電圧値及びデューティ比が限定されてしまっていた。
【0003】
このようなパルス電源装置として、NPC(Neutral Point Clamped)方式のマルチレベルインバータも知られている。NPC方式のマルチレベルインバータは、スイッチと、ダイオードとを利用したNPC回路または双方向スイッチ(TタイプNPC)を利用する。NPC方式のマルチレベルインバータは、複数のDC-DCコンバータを用いて複数の直流電圧を発生させることにより、絶対値の異なる正側電圧及び負側電圧を出力したり、50%以外のデューティ比で電圧を切り替えたりすることができる。しかし、NPC方式のマルチレベルインバータは、絶対値の小さい正側電圧と絶対値の大きい負側電圧を出力するような場合であっても、絶対値の小さい正側電圧をスイッチングするスイッチの耐圧を、絶対値の大きい負側電圧をスイッチングするスイッチと同様に、高くしなければならなかった。正側電圧と負側電圧との大小関係が逆であっても同様である。このため、NPC方式のマルチレベルインバータは、スイッチのコストが高くなってしまっていた。
【先行技術文献】
【特許文献】
【0004】
国際公開第2009/145092号公報
特許第6225418号公報
【発明の概要】
【発明が解決しようとする課題】
【0005】
本発明は、上記に鑑みてなされたものであって、簡易に且つ少ないコストで、多段階のレベルのパルス出力電圧Voutを出力することができるパルス電源装置を提供する。
【課題を解決するための手段】
【0006】
上述した課題を解決し、目的を達成するために、本発明に係るパルス電源装置は、それぞれが第1直流入力端子及び第2直流入力端子で構成される直流入力部と第1直流出力端子及び第2直流出力端子で構成される直流出力部とを有し、前記第1直流入力端子と前記第2直流入力端子との間に入力した直流電圧を変圧し、前記第1直流出力端子と前記第2直流出力端子との間に変圧した直流電圧を発生させるN個(Nは2以上の整数)のDC-DCコンバータと、それぞれがスイッチ及びパルス出力端子を有し、前記N個のDC-DCコンバータに一対一で対応して設けられるN個のインバータとを備え、前記N個のインバータのそれぞれは、前記N個のDC-DCコンバータのうちの対応するDC-DCコンバータにおける前記第1直流出力端子と前記パルス出力端子との間を短絡または切断する第1スイッチと、前記対応するDC-DCコンバータにおける前記第2直流出力端子と前記パルス出力端子との間を短絡または切断する第2スイッチとを含み、前記第1スイッチ及び前記第2スイッチが相補的にスイッチング動作することによって、前記パルス出力端子からパルス出力電圧を出力するように構成されており、前記N個のDC-DCコンバータのうちの第1のDC-DCコンバータは、前記直流入力部と前記直流出力部との間に、電圧を変圧するための絶縁トランスを有し、且つ、前記第1直流出力端子又は前記第2直流出力端子は、基準電位に接続されており、前記N個のDC-DCコンバータのうちの第NのDC-DCコンバータのパルス出力端子は、負荷に接続され、前記第n(nは、2以上、N以下の整数)のDC-DCコンバータは、前記直流入力部と前記直流出力部との間に電圧を変圧するための絶縁トランスを有し、且つ、前記第1直流出力端子又は前記第2直流出力端子が前記N個のインバータのうちの第(n-1)のインバータにおける前記パルス出力端子に接続されている。
【発明の効果】
【0007】
本発明によれば、簡易に且つ少ないコストで、多段階のレベルのパルス出力電圧を出力することができる。
【図面の簡単な説明】
【0008】
図1は、第1実施形態に係るパルス電源装置の構成を示す図である。
図2は、第1実施形態のシミュレーション波形の第1例を示す図である。
図3は、第1実施形態のシミュレーション波形の第2例を示す図である。
図4は、第1実施形態のシミュレーション波形の第3例を示す図である。
図5は、第1実施形態のシミュレーション波形の第4例を示す図である。
図6は、第2実施形態に係るパルス電源装置の構成を示す図である。
図7は、第2実施形態のシミュレーション波形を示す図である。
図8は、第3実施形態に係るパルス電源装置の構成を示す図である。
図9は、第3実施形態のシミュレーション波形の一例を示す図である。
図10は、第4実施形態に係るパルス電源装置の構成を示す図である。
図11は、第5実施形態に係るパルス電源装置の構成を示す図である。
図12は、第5実施形態に係るパルス電源装置の構成を示す図である。
【発明を実施するための形態】
【0009】
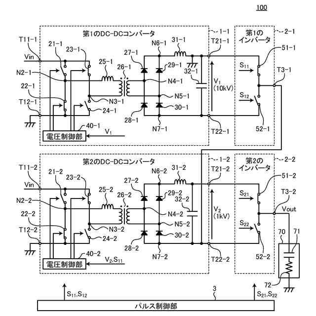
図1は、第1実施形態に係るパルス電源装置100の構成を示す。パルス電源装置100は、負荷70に複数のレベルに周期的に変化するパルス出力電圧Voutを供給する。パルス電源装置100は、負荷70のインピーダンスの変動に関わらず目標の電位に安定化されたパルス出力電圧Voutを出力する。例えば、パルス電源装置100は、プラズマ発生装置にスイッチングパルスを供給するパルス発生装置として用いられる。なお、負荷70の等価回路は、例えば、図1に示すように、キャパシタ71と抵抗72によって表される。また、パルス出力電圧Voutのパルス周波数は、100Hz~10MHz程度である。本実施形態では、パルス出力電圧Voutのパルス周波数は400kHzである。
【0010】
パルス電源装置100は、第1のDC-DCコンバータ1-1と、第2のDC-DCコンバータ1-2と、第1のインバータ2-1と、第2のインバータ2-2と、パルス制御部3とを備える。
(【0011】以降は省略されています)
この特許をJ-PlatPat(特許庁公式サイト)で参照する
関連特許
株式会社ダイヘン
充電装置
23日前
株式会社ダイヘン
制御装置
23日前
株式会社ダイヘン
充電装置
23日前
株式会社ダイヘン
充電装置
23日前
株式会社ダイヘン
充電装置
23日前
株式会社ダイヘン
搬送装置
23日前
株式会社ダイヘン
溶接電源装置
23日前
株式会社ダイヘン
回生ユニット
24日前
株式会社ダイヘン
固相接合装置
1か月前
株式会社ダイヘン
固相接合装置
1か月前
株式会社ダイヘン
固相接合装置
1か月前
株式会社ダイヘン
電力変換装置
26日前
株式会社ダイヘン
固相接合装置
1か月前
株式会社ダイヘン
電力システム
26日前
株式会社ダイヘン
インバータ装置
18日前
株式会社ダイヘン
インバータ装置
23日前
株式会社ダイヘン
変圧器組立装置
23日前
株式会社ダイヘン
絶縁紙巻回装置
1か月前
株式会社ダイヘン
プラズマ発生器
1か月前
株式会社ダイヘン
パルス電源装置
23日前
株式会社ダイヘン
パワーモジュール
23日前
株式会社ダイヘン
ロボットシステム
1か月前
株式会社ダイヘン
ロボットシステム
1か月前
株式会社ダイヘン
パワーモジュール
23日前
株式会社ダイヘン
パワーモジュール
23日前
株式会社ダイヘン
熱加工用電源装置
10日前
株式会社ダイヘン
熱加工用電源装置
4日前
株式会社ダイヘン
積層造形システム
3日前
株式会社ダイヘン
積層造形システム
3日前
株式会社ダイヘン
積層造形システム
3日前
株式会社ダイヘン
直流パルス電源装置
24日前
株式会社ダイヘン
アーク溶接システム
23日前
株式会社ダイヘン
制御装置及び研削システム
23日前
株式会社ダイヘン
サブマージアーク溶接システム
23日前
株式会社ダイヘン
サブマージアーク溶接システム
23日前
株式会社ダイヘン
通信システム、および、通信方法
24日前
続きを見る
他の特許を見る