TOP
|
特許
|
意匠
|
商標
特許ウォッチ
Twitter
他の特許を見る
公開番号
2025152304
公報種別
公開特許公報(A)
公開日
2025-10-09
出願番号
2024054135
出願日
2024-03-28
発明の名称
通信システム、および、通信方法
出願人
株式会社ダイヘン
代理人
個人
,
個人
主分類
G06F
11/07 20060101AFI20251002BHJP(計算;計数)
要約
【課題】通信負荷を監視することなく、通信負荷を抑制できる通信システム、および、通信方法を提供する。
【解決手段】第1装置(集中管理装置A)と第2装置(制御装置B)とを備え、通信によって第1装置が第2装置から情報を取得する通信システム(電力システムF1)において、第1装置が通信部11を備え、第2装置が通信部11と通信を行う通信部21、および、各種情報を記憶する記憶部23を備えている。記憶部23は、記録情報232と、記録情報232の変化があったか否かを示す情報である変化通知情報235とを記憶している。通信部11は、変化通知情報235を読み出し、変化通知情報235が変化ありを示す場合にのみ、記録情報232を読み出す。
【選択図】図1
特許請求の範囲
【請求項1】
第1装置と第2装置とを備え、通信によって前記第1装置が前記第2装置から情報を取得する通信システムであって、
前記第1装置は、第1通信部を備え、
前記第2装置は、前記第1通信部と通信を行う第2通信部、および、各種情報を記憶する記憶部、を備え、
前記記憶部は、記録情報と、前記記録情報の変化があったか否かを示す情報である変化通知情報と、を記憶し、
前記第1通信部は、前記変化通知情報を読み出し、前記変化通知情報が変化ありを示す場合にのみ、前記記録情報を読み出す、
通信システム。
続きを表示(約 1,000 文字)
【請求項2】
前記第2装置は、前記記録情報が変化した状態が第1時間以上継続したときに、前記変化通知情報を、変化ありを示す情報に変更する、
請求項1に記載の通信システム。
【請求項3】
前記第1通信部は、第2時間ごとに、前記変化通知情報を読み出し、
前記第1時間は、前記第2時間の2倍以上である、
請求項2に記載の通信システム。
【請求項4】
前記記憶部は、前記第1通信部が前記記録情報を読み出したか否かを示す情報である読出通知情報をさらに記憶し、
前記第1通信部は、前記記録情報を読み出した場合、前記読出通知情報を読み出しありを示す情報に変更し、
前記第2装置は、前記読出通知情報が読み出しありを示す場合、前記変化通知情報を変化なしを示す情報に変更する、
請求項1ないし3のいずれかに記載の通信システム。
【請求項5】
前記記憶部は、通信ログをさらに記憶し、
前記第2装置は、前記通信ログを参照して、前記第1通信部が前記記録情報を読み出したことを検出した場合に、前記変化通知情報を変化なしを示す情報に変更する、
請求項1ないし3のいずれかに記載の通信システム。
【請求項6】
前記第2装置は、前記変化通知情報を変化ありを示す情報に変更したときに計時を開始し、計時された時間が第3時間を経過した場合に、前記変化通知情報を変化なしを示す情報に変更する、
請求項1ないし3のいずれかに記載の通信システム。
【請求項7】
第1通信部を有する第1装置と、前記第1通信部と通信を行う第2通信部、および、各種情報を記憶する記憶部を有する第2装置と、を備え、通信によって前記第1装置が前記第2装置から情報を取得する通信システムでの通信方法であって、
前記記憶部は、記録情報と、前記記録情報の変化があったか否かを示す情報である変化通知情報と、を記憶し、
前記第1通信部が、前記変化通知情報を読み出す第1工程と、
前記第1通信部が、前記変化通知情報が変化ありを示すか否かを判別する第2工程と、
前記第1通信部が、変化ありを示すと判別した場合にのみ、前記記録情報を読み出す第3工程と、
を備えている、
通信方法。
発明の詳細な説明
【技術分野】
【0001】
本発明は、通信を行う複数の装置を備えた通信システム、および、通信方法に関する。
続きを表示(約 1,300 文字)
【背景技術】
【0002】
通信機能を備えた装置において、通信処理が過負荷になると、他の機能が遅延または動作できなくなる場合がある。これを防ぐために、通信負荷を監視し、過負荷状態になると通信負荷抑制のために通信速度を抑制する方法が提案されている。例えば、特許文献1には、自宛通信データの送信状態より通信負荷状態を判断し、通信負荷状態に応じて通信機能を抑制する通信機器が開示されている。これにより、通信負荷が過負荷となった場合に、通信機能以外の機能が本来の機能を提供できなくなる可能性を抑制できる。
【先行技術文献】
【特許文献】
【0003】
特開2006-352402号公報
【発明の概要】
【発明が解決しようとする課題】
【0004】
しかしながら、従来の手法では、通信負荷抑制のために、通信負荷を監視する機能が必要になり、また、監視結果に応じて通信機能や通信速度を抑制する機能が必要になる。
【0005】
本発明は、上記した事情のもとで考え出されたものであって、通信負荷を監視することなく、通信負荷を抑制できる通信システム、および、通信方法を提供することを目的とする。
【課題を解決するための手段】
【0006】
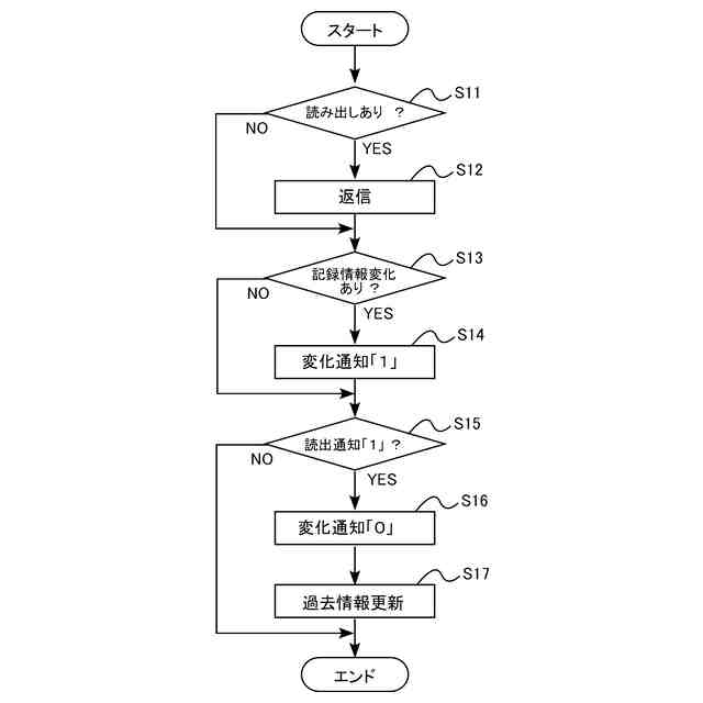
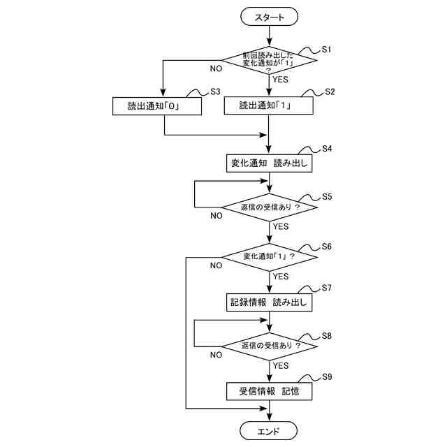
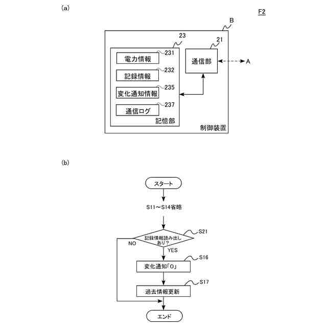
本発明の第1の側面によって提供される通信システムは、第1装置と第2装置とを備え、通信によって前記第1装置が前記第2装置から情報を取得する通信システムであって、前記第1装置は、第1通信部を備え、前記第2装置は、前記第1通信部と通信を行う第2通信部、および、各種情報を記憶する記憶部、を備え、前記記憶部は、記録情報と、前記記録情報の変化があったか否かを示す情報である変化通知情報と、を記憶し、前記第1通信部は、前記変化通知情報を読み出し、前記変化通知情報が変化ありを示す場合にのみ、前記記録情報を読み出す。
【0007】
本発明の好ましい実施の形態においては、前記第2装置は、前記記録情報が変化した状態が第1時間以上継続したときに、前記変化通知情報を、変化ありを示す情報に変更する。
【0008】
本発明の好ましい実施の形態においては、前記第1通信部は、第2時間ごとに、前記変化通知情報を読み出し、前記第1時間は、前記第2時間の2倍以上である。
【0009】
本発明の好ましい実施の形態においては、前記記憶部は、前記第1通信部が前記記録情報を読み出したか否かを示す情報である読出通知情報をさらに記憶し、前記第1通信部は、前記記録情報を読み出した場合、前記読出通知情報を読み出しありを示す情報に変更し、前記第2装置は、前記読出通知情報が読み出しありを示す場合、前記変化通知情報を変化なしを示す情報に変更する。
【0010】
本発明の好ましい実施の形態においては、前記記憶部は、通信ログをさらに記憶し、前記第2装置は、前記通信ログを参照して、前記第1通信部が前記記録情報を読み出したことを検出した場合に、前記変化通知情報を変化なしを示す情報に変更する。
(【0011】以降は省略されています)
この特許をJ-PlatPat(特許庁公式サイト)で参照する
関連特許
株式会社ダイヘン
充電装置
24日前
株式会社ダイヘン
充電装置
24日前
株式会社ダイヘン
充電装置
24日前
株式会社ダイヘン
充電装置
24日前
株式会社ダイヘン
搬送装置
24日前
株式会社ダイヘン
制御装置
24日前
株式会社ダイヘン
溶接電源装置
24日前
株式会社ダイヘン
電力変換装置
27日前
株式会社ダイヘン
電力システム
27日前
株式会社ダイヘン
回生ユニット
25日前
株式会社ダイヘン
絶縁紙巻回装置
1か月前
株式会社ダイヘン
プラズマ発生器
1か月前
株式会社ダイヘン
変圧器組立装置
24日前
株式会社ダイヘン
インバータ装置
19日前
株式会社ダイヘン
インバータ装置
24日前
株式会社ダイヘン
パルス電源装置
24日前
株式会社ダイヘン
ロボットシステム
1か月前
株式会社ダイヘン
ロボットシステム
1か月前
株式会社ダイヘン
積層造形システム
4日前
株式会社ダイヘン
積層造形システム
4日前
株式会社ダイヘン
積層造形システム
4日前
株式会社ダイヘン
熱加工用電源装置
5日前
株式会社ダイヘン
熱加工用電源装置
11日前
株式会社ダイヘン
パワーモジュール
24日前
株式会社ダイヘン
パワーモジュール
24日前
株式会社ダイヘン
パワーモジュール
24日前
株式会社ダイヘン
直流パルス電源装置
25日前
株式会社ダイヘン
アーク溶接システム
24日前
株式会社ダイヘン
制御装置及び研削システム
24日前
株式会社ダイヘン
サブマージアーク溶接システム
24日前
株式会社ダイヘン
サブマージアーク溶接システム
24日前
株式会社ダイヘン
充電装置、および、電力システム
17日前
株式会社ダイヘン
通信システム、および、通信方法
25日前
株式会社ダイヘン
変圧器組立方法及び変圧器組立装置
24日前
株式会社ダイヘン
絶縁紙巻回装置及び絶縁紙巻回方法
1か月前
株式会社ダイヘン
溶接検査装置、形状計測装置および外観検査装置
25日前
続きを見る
他の特許を見る