TOP
|
特許
|
意匠
|
商標
特許ウォッチ
Twitter
他の特許を見る
公開番号
2025151589
公報種別
公開特許公報(A)
公開日
2025-10-09
出願番号
2024053099
出願日
2024-03-28
発明の名称
回生ユニット
出願人
株式会社ダイヘン
代理人
弁理士法人平木国際特許事務所
主分類
B25J
13/06 20060101AFI20251002BHJP(手工具;可搬型動力工具;手工具用の柄;作業場設備;マニプレータ)
要約
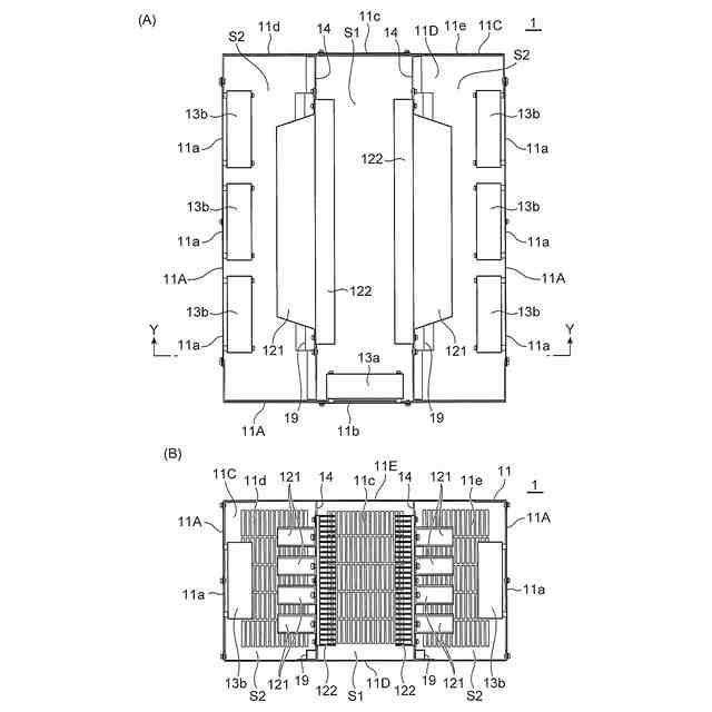
【課題】モーターの回生電力による電流が通電されることにより発生する抵抗発熱を効率的に外部に放出し、抵抗発熱による過度な温度上昇を防止することができる回生ユニットを提供する。
【解決手段】回生ユニット1は、モーターの回生電力による電流が通電されることにより発熱する回生抵抗121と、発熱した回生抵抗121の熱を放熱するヒートシンク122と、を備えた一対の発熱体12と、発熱体12を冷却する第1のファン13aと、を備える。発熱体12は、間隔を空けて対向して配置されており、第1のファン13aは、一対の発熱体12の間の第1の放熱空間S1にエアを送風する向きに配置されている。
【選択図】図2
特許請求の範囲
【請求項1】
モーターの回生電力による電流が通電されることにより発熱する回生抵抗と、発熱した前記回生抵抗の熱を放熱するヒートシンクと、を備えた一対の発熱体と、
前記発熱体を冷却する第1のファンと、を備え、
前記一対の発熱体は、間隔を空けて対向して配置されており、
前記第1のファンは、前記一対の発熱体の間の第1の放熱空間にエアを送風する向きに配置されていることを特徴とする、回生ユニット。
続きを表示(約 590 文字)
【請求項2】
前記一対の発熱体を挟んだ両側から、各前記発熱体にエアを直接的に吹き付ける複数の第2のファンをさらに備えることを特徴とする、請求項1に記載の回生ユニット。
【請求項3】
前記一対の発熱体、前記第1のファン、および前記複数の第2のファンを収容する筐体をさらに備えており、
前記筐体の側壁のうち、前記第1の放熱空間を挟んで、前記第1のファンと対向する側壁には、前記第1のファンおよび前記第2のファンから送風されたエアを排気する排気部が形成されていることを特徴とする、請求項2に記載の回生ユニット。
【請求項4】
前記一対の発熱体の前記ヒートシンク同士が、前記第1の放熱空間を挟んで対向しており、
前記一対の発熱体の前記回生抵抗は、前記複数の第2のファンに対向していることを特徴とする、請求項3に記載の回生ユニット。
【請求項5】
前記筐体は、各前記発熱体が取り付けられた状態で、前記筐体の内部を仕切る一対の仕切り壁を備えており、
前記一対の仕切り壁の間に、前記ヒートシンクの熱を放熱する前記第1の放熱空間が形成されており、
各前記仕切り壁と、前記複数の第2のファンとの間に、前記回生抵抗の熱を放熱する第2の放熱空間が形成されていることを特徴とする、請求項4に記載の回生ユニット。
発明の詳細な説明
【技術分野】
【0001】
本発明は、回生ユニットに関する。
続きを表示(約 1,400 文字)
【背景技術】
【0002】
この種の技術として、例えば、特許文献1には、ロボットの駆動回路が取り付けられたヒートシンクと、ロボットを駆動するモーターの回生電力による電流が通電される発熱する回生抵抗を備えた制御装置が開示されている。制御装置の内部には、ヒートシンクおよび回生抵抗を冷却するファンが配置されている。
【先行技術文献】
【特許文献】
【0003】
特開2023-111740号公報
【発明の概要】
【発明が解決しようとする課題】
【0004】
しかしながら、特許文献1に記載の技術では、ファンからエアを回生抵抗に吹き付けることにより、回生抵抗を冷却しているが、回生抵抗を効率的に冷却できているとは言い難い。
【0005】
本発明は、このような点に鑑みてなされたものであり、モーターの回生電力による電流が通電されることにより発生する回生抵抗の熱を効率的に外部に排出し、回生抵抗の過度な温度上昇を抑えることができる回生ユニットを提供することを目的とする。
【課題を解決するための手段】
【0006】
前記課題に鑑みて、本発明に係る回生ユニットは、モーターの回生電力による電流が通電されることにより発熱する回生抵抗と、発熱した前記回生抵抗の熱を放熱するヒートシンクと、を備えた一対の発熱体と、前記発熱体を冷却する第1のファンと、を備え、前記一対の発熱体は、間隔を空けて対向して配置されており、前記第1のファンは、前記一対の発熱体の間の第1の放熱空間にエアを送風する向きに配置されている。
【0007】
本発明によれば、発熱体を構成する回生抵抗は、モーターの回生電力による電流が通電されることにより発熱する。発熱体を構成する発熱した回生抵抗の熱を、発熱体を構成するヒートシンクにより放熱することができる。また、回生抵抗とヒートシンクとを備えた一対の発熱体が、間隔を空けて対向して配置されている。すなわち、発熱体は分散して配置されているため、発熱体一つあたりの発熱量を抑制することができる。さらに、一対の発熱体の間の第1の放熱空間には熱が溜まりやすいため、この空間に第1のファンからエアを送風することによって、送風されたエアで、一対の発熱体からの発熱された熱を吸熱することができる。このような結果、回生ユニットの過度な温度上昇を防止することができる。
【0008】
より好ましい態様としては、前記一対の発熱体を挟んだ両側から、各前記発熱体にエアを直接的に吹き付ける複数の第2のファンをさらに備える。
【0009】
この態様によれば、上記の第1のファンに加えて、第2のファンによっても発熱体を冷却することができる。第2のファンは、一対の発熱体を挟んだ両側から、発熱体にエアを直接的に吹き付けているため、より効率的に発熱体を冷却することができる。
【0010】
さらに好ましい態様としては、前記一対の発熱体、前記第1のファン、および前記複数の第2のファンを収容する筐体をさらに備えており、前記筐体の側壁のうち、前記第1の排熱空間を挟んで、前記第1のファンと対向する側壁には、前記第1のファンおよび前記第2のファンから送風されたエアを排気する排気部が形成されている。
(【0011】以降は省略されています)
この特許をJ-PlatPat(特許庁公式サイト)で参照する
関連特許
株式会社ダイヘン
充電装置
今日
株式会社ダイヘン
制御装置
今日
株式会社ダイヘン
充電装置
今日
株式会社ダイヘン
充電装置
今日
株式会社ダイヘン
搬送装置
今日
株式会社ダイヘン
充電装置
今日
株式会社ダイヘン
固相接合装置
1か月前
株式会社ダイヘン
固相接合装置
1か月前
株式会社ダイヘン
電力変換装置
3日前
株式会社ダイヘン
電力システム
3日前
株式会社ダイヘン
回生ユニット
1日前
株式会社ダイヘン
固相接合装置
1か月前
株式会社ダイヘン
溶接電源装置
今日
株式会社ダイヘン
パルス電源装置
今日
株式会社ダイヘン
変圧器組立装置
今日
株式会社ダイヘン
プラズマ発生器
11日前
株式会社ダイヘン
インバータ装置
今日
株式会社ダイヘン
絶縁紙巻回装置
8日前
株式会社ダイヘン
パワーモジュール
今日
株式会社ダイヘン
ロボットシステム
11日前
株式会社ダイヘン
ロボットシステム
8日前
株式会社ダイヘン
パワーモジュール
今日
株式会社ダイヘン
パワーモジュール
今日
株式会社ダイヘン
アーク溶接システム
今日
株式会社ダイヘン
直流パルス電源装置
1日前
株式会社ダイヘン
制御装置及び研削システム
今日
株式会社ダイヘン
サブマージアーク溶接システム
今日
株式会社ダイヘン
サブマージアーク溶接システム
今日
株式会社ダイヘン
通信システム、および、通信方法
1日前
株式会社ダイヘン
絶縁紙巻回装置及び絶縁紙巻回方法
8日前
株式会社ダイヘン
変圧器組立方法及び変圧器組立装置
今日
株式会社ダイヘン
溶接検査装置、形状計測装置および外観検査装置
1日前
株式会社ダイヘン
搬送ロボットの教示システム、および搬送ロボットの教示方法
今日
株式会社ダイヘン
搬送ロボットの教示システム、および搬送ロボットの教示方法
今日
株式会社ダイヘン
フラットパネル製造システム及びそれに用いられるロボット制御装置
1日前
株式会社ダイヘン
フラットパネル製造システム及びそれに用いられるロボット制御装置
1日前
続きを見る
他の特許を見る