TOP
|
特許
|
意匠
|
商標
特許ウォッチ
Twitter
他の特許を見る
公開番号
2025154293
公報種別
公開特許公報(A)
公開日
2025-10-10
出願番号
2024057210
出願日
2024-03-29
発明の名称
変圧器組立装置
出願人
株式会社ダイヘン
代理人
個人
,
個人
主分類
H01F
41/02 20060101AFI20251002BHJP(基本的電気素子)
要約
【課題】より簡単な構成にて、変圧器の生産工程を自動化できる変圧器組立装置を提供する。
【解決手段】周方向にて両端部1121,1122が重畳する複数の円筒形状体が径方向に重なる鉄心が、隣り合う一対のコイル200に挿通されている変圧器を組み立てる変圧器組立装置であって、各コイル200の内側を移動し、前記鉄心の前記コイル200への挿通を案内する案内部材30を備える。
【選択図】図6
特許請求の範囲
【請求項1】
周方向にて両端部が重畳する複数の円筒形状体が径方向に重なる鉄心が、隣り合う一対のコイルに挿通されている変圧器を組み立てる変圧器組立装置であって、
各コイルの内側を移動し、前記鉄心の前記コイルへの挿通を案内する案内部材を備える変圧器組立装置。
続きを表示(約 610 文字)
【請求項2】
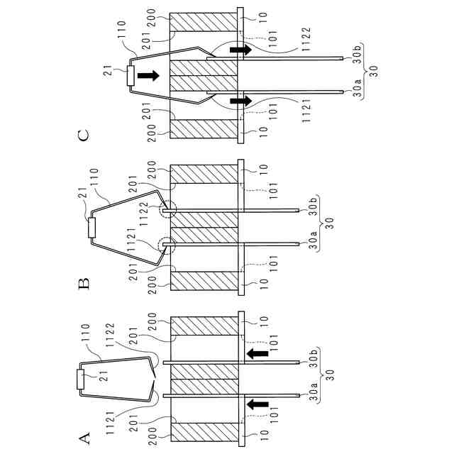
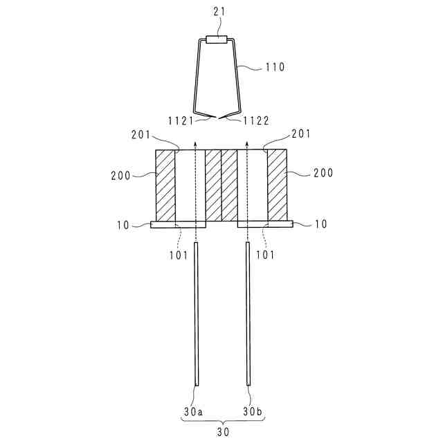
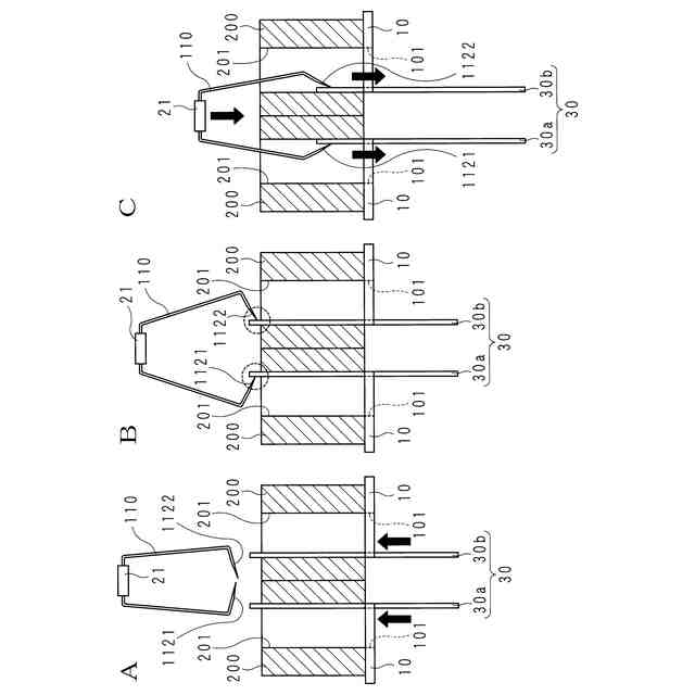
前記案内部材は、夫々、各コイルに挿脱される2つのガイド部を有し、
前記2つのガイド部が、前記コイルへの挿通前の前記鉄心の各円筒形状体の両端部を相互離隔された状態に保持する請求項1に記載の変圧器組立装置。
【請求項3】
各ガイド部は、前記コイルの軸長方向に延びる長方形板形状であり、
前記2つのガイド部は対向配置されている請求項2に記載の変圧器組立装置。
【請求項4】
所定の単位数の円筒形状体を保持し、前記一対のコイルの上方から下降して前記コイルに挿通させる保持部材を備えており、
前記保持部材の下降時に、前記2つのガイド部が前記円筒形状体の両端部を離隔保持した状態にて下降する請求項2に記載の変圧器組立装置。
【請求項5】
前記単位数の円筒形状体の前記コイルへの挿通が完了した場合、前記2つのガイド部を下降させて前記単位数の円筒形状体から離隔させる制御部を備え、
前記単位数の円筒形状体では、各円筒形状体の両端部の重畳部が周方向の一向きにずれており、
各円筒形状体の重畳する両端部のうちの内側端部が一方のガイド部によって保持され、外側端部が他方のガイド部によって保持され、
前記制御部は、前記一方のガイド部を前記他方のガイド部よりも先に前記単位数の円筒形状体から離隔させる請求項4に記載の変圧器組立装置。
発明の詳細な説明
【技術分野】
【0001】
本発明は、変圧器組立装置に関する。
続きを表示(約 1,100 文字)
【背景技術】
【0002】
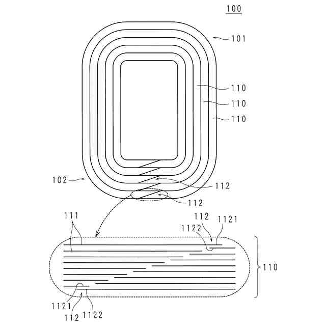
変圧器の生産工程は、例えば、重なり合う両端部を有する複数の円筒形状体を径方向に重畳させてなる鉄心を、前記両端部が互いに離隔するようにして開放させた状態で、軸長方向が平行である隣り合う一対のコイルに挿通させる工程を含む(特許文献1を参照)。
【先行技術文献】
【特許文献】
【0003】
特開平10-135058号公報
【発明の概要】
【発明が解決しようとする課題】
【0004】
上述したような、鉄心の前記コイルへの挿通工程は、複数の作業者の協業が必要な作業であって生産性が悪く、手作業であることから、作業者の熟練度等によって品質にバラツキが生じ得るという問題があった。
【0005】
これに対して、特許文献1では、変圧器の生産工程における自動化について開示しているものの、鉄心の前記コイルへの挿通前と、鉄心の前記コイルへの挿通後とで、夫々異なる複数の補助治具が用いられており、複雑な構成であるうえに、補助治具の操作も複雑である。
【0006】
本発明は斯かる事情に鑑みてなされたものであり、より簡単な構成にて、変圧器の生産工程を自動化できる変圧器組立装置を提供することを目的とする。
【課題を解決するための手段】
【0007】
本発明に係る変圧器組立装置は、周方向にて両端部が重畳する複数の円筒形状体が径方向に重なる鉄心が、隣り合う一対のコイルに挿通されている変圧器を組み立てる変圧器組立装置であって、各コイルの内側を移動し、前記鉄心の前記コイルへの挿通を案内する案内部材を備える。
【発明の効果】
【0008】
本発明によれば、より簡単な構成にて、変圧器の生産工程を自動化できる変圧器組立装置を提供できる。
【図面の簡単な説明】
【0009】
変圧器の一例を示す斜視図である。
巻鉄心の構成を示す概略的側面図である。
本実施形態に係る変圧器組立装置の斜視図である。
本実施形態に係る変圧器組立装置の正面図である。
本実施形態に係る変圧器組立装置の要部を概略的に示す模式図である。
本実施形態に係る変圧器組立装置における、巻鉄心のコイルへの組み込み作業を説明する説明図である。
本実施形態に係る変圧器組立装置における、巻鉄心のコイルへの組み込み作業を説明する説明図である。
【発明を実施するための形態】
【0010】
以下、本発明をその実施の形態を示す図面に基づいて説明する。
(【0011】以降は省略されています)
この特許をJ-PlatPat(特許庁公式サイト)で参照する
関連特許
日機装株式会社
加圧装置
2日前
マクセル株式会社
電源装置
1か月前
日新イオン機器株式会社
イオン源
2日前
富士電機株式会社
電磁接触器
17日前
三菱電機株式会社
回路遮断器
25日前
株式会社GSユアサ
蓄電装置
1か月前
株式会社GSユアサ
蓄電装置
17日前
株式会社トクミ
ケーブル
3日前
トヨタ自動車株式会社
蓄電装置
9日前
日本特殊陶業株式会社
保持装置
1か月前
ホシデン株式会社
複合コネクタ
11日前
株式会社東芝
電子源
2日前
大電株式会社
電線又はケーブル
9日前
個人
電源ボックス及び電子機器
2日前
ローム株式会社
半導体モジュール
18日前
日本無線株式会社
レーダアンテナ
1か月前
株式会社レゾナック
冷却器
25日前
矢崎総業株式会社
コネクタ
17日前
住友電装株式会社
コネクタ
17日前
甲神電機株式会社
変流器及び零相変流器
1か月前
ヒロセ電機株式会社
電気コネクタ
17日前
日本特殊陶業株式会社
アンテナ装置
4日前
三菱電機株式会社
半導体装置
2日前
株式会社デンソー
熱交換部材
1か月前
日本航空電子工業株式会社
コネクタ
1か月前
日本特殊陶業株式会社
アンテナ装置
4日前
日本特殊陶業株式会社
アンテナ装置
4日前
日本航空電子工業株式会社
コネクタ
2日前
株式会社パロマ
監視システム
9日前
矢崎総業株式会社
端子
9日前
株式会社デンソー
半導体装置
17日前
トヨタ自動車株式会社
蓄電装置構造
3日前
富士電機株式会社
半導体モジュール
1か月前
TDK株式会社
電子部品
4日前
株式会社興電舎
励磁突入電流抑制方法
2日前
TDK株式会社
電子部品
17日前
続きを見る
他の特許を見る