TOP
|
特許
|
意匠
|
商標
特許ウォッチ
Twitter
他の特許を見る
10個以上の画像は省略されています。
公開番号
2025140129
公報種別
公開特許公報(A)
公開日
2025-09-29
出願番号
2024039314
出願日
2024-03-13
発明の名称
プラズマ発生器
出願人
株式会社ダイヘン
代理人
弁理士法人平木国際特許事務所
主分類
H05H
1/46 20060101AFI20250919BHJP(他に分類されない電気技術)
要約
【課題】ガスの分解効率を高めることができるプラズマ発生器を提供する。
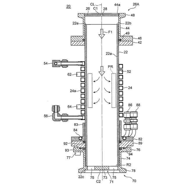
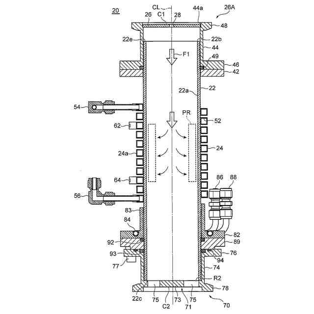
【解決手段】プラズマ発生器20は、放電管22の他方の開口部22cを覆い、放電管22を通過したガスを排出する複数のガス排出孔75が形成された第2被覆体70をさらに備えている。中心軸CLに沿って、第1被覆体26Aおよび第2被覆体70を視たときに、ガス導入孔28は、中心軸CLを含む第1中央領域C1に形成されており、第1中央領域C1を中心軸CLに沿って投影した位置にある第2被覆体70の第2中央領域C2には、ガスの排出を遮断する遮断部分73が形成されている。第2中央領域C2周りの周辺領域R2には、中心軸CL周りに、複数のガス排出孔75が、形成されている。
【選択図】図3
特許請求の範囲
【請求項1】
ガスを内部に導入し、内部においてプラズマを発生させるプラズマ発生器であって、
円筒形状を有した絶縁性の放電管と、
前記放電管の中心軸を中心に前記放電管の外周に巻かれた導電性のコイルと、
前記放電管の一方の開口部を覆い、前記放電管の内部にガスを導入する少なくとも1つのガス導入孔が形成された第1被覆体と、を少なくとも備え、
前記コイルは、少なくとも一部の巻線部分に、RF帯域の周波数の高周波電流が流れるように構成されており、
前記プラズマ発生器は、前記放電管の他方の開口部を覆い、前記放電管を通過したガスを排出する複数のガス排出孔が形成された第2被覆体をさらに備えており、
前記中心軸に沿って、前記第1被覆体および前記第2被覆体を視たときに、
前記ガス導入孔は、前記中心軸を含む第1中央領域に形成されており、
前記第1中央領域を中心軸に沿って投影した位置にある第2被覆体の第2中央領域には、前記ガスの排出を遮断する遮断部分が形成されており、
前記第2中央領域を囲う周辺領域には、前記中心軸周りに、前記複数のガス排出孔が、形成されていることを特徴とするプラズマ発生器。
続きを表示(約 610 文字)
【請求項2】
前記中心軸に沿って、前記放電管および前記第2被覆体を視たときに、
前記複数のガス排出孔の縁部が、前記放電管の他方の開口部の周縁の一部に重なっていることを特徴とする請求項1に記載のプラズマ発生器。
【請求項3】
前記複数のガス排出孔は、前記中心軸周りに沿って延在した長孔であることを特徴とする請求項1に記載のプラズマ発生器。
【請求項4】
前記コイルよりも前記他方の開口部側の位置に、前記放電管を冷却する冷却管を支持する支持体が、前記放電管の外周面に沿って配置されており、
前記第2被覆体は、前記遮断部分および前記ガス排出孔が形成された円板状の被覆部分と、
前記被覆部分の周縁から、前記放電管の外周面を囲うように、前記中心軸に沿った方向に延在し、前記放電管に連結された状態で、前記支持体に接続される筒状部分と、を備えており、
前記被覆部分と前記筒状部分とは、同じ金属材料で一体的に成形されていることを特徴とする請求項1に記載のプラズマ発生器。
【請求項5】
前記第1被覆体には、前記ガス導入孔が複数形成されており、
複数の前記ガス導入孔には、前記放電管の内部において、前記中心軸周りに旋回流が形成されるように、前記放電管の内部に前記ガスが放出される放出流路が形成されていることを特徴とする請求項1に記載のプラズマ発生器。
発明の詳細な説明
【技術分野】
【0001】
本発明は、プラズマ発生器に関する。
続きを表示(約 2,000 文字)
【背景技術】
【0002】
半導体製造プロセスでは、誘導性結合プラズマ(ICP:Inductively Coupled Plasma)(以下、ICP)を発生させ、そのICPを利用して各種の処理(クリーニング等)を行う場合がある。特許文献1および特許文献2には、ICPを発生させるプラズマ発生器が記載されている。
【0003】
ICPは、放電管の外周にコイルを巻いたプラズマ発生器を用いて発生させる。この際、コイルには高周波電流が流れるように高周波電源から高周波電圧を出力するとともに、放電管の内部にプロセスガス(以下、ガス)を導入する。そして、コイルに流れる高周波電流による誘導磁界によってガスを電離させてプラズマを発生させる。なお、初期の段階では、容量性結合プラズマ(CCP:Capacitively Coupled Plasma)と呼ばれるプラズマが発生し、その後、コイルに流れる高周波電流を増加させていく段階でICPが発生すると考えられている。
【0004】
放電管の内部のガスが電離してプラズマが発生すると、電離により得られたプラズマ中の電子がガスに衝突し、ガスが分解する。例えば、NF
3
(三フッ化窒素)であれば、N(窒素)と3F(フッ素)とに分解する。分解したガスは、例えば、プラズマ発生器の下流にあるプラズマ処理室に送出され、プラズマ処理室内のクリーニング等の処理が行われる。
【0005】
このように、ICPを発生させることによってガスが分解する。分解したガスを用いてクリーニング等の処理が行われる。そのため、ガスの分解効率を高めることが要求されている。
【先行技術文献】
【特許文献】
【0006】
特開2020-161319号公報
特開2020-057464号公報
【発明の概要】
【発明が解決しようとする課題】
【0007】
本発明は、上記に鑑みてなされたものであって、ガスの分解効率を高めることができるプラズマ発生器を提供する。
【課題を解決するための手段】
【0008】
前記課題を鑑みて、本発明に係るプラズマ発生器は、ガスを内部に導入し、内部においてプラズマを発生させるプラズマ発生器であって、円筒形状を有した絶縁性の放電管と、前記放電管の中心軸を中心に前記放電管の外周に巻かれた導電性のコイルと、前記放電管の一方の開口部を覆い、前記放電管の内部にガスを導入する少なくとも1つのガス導入孔が形成された第1被覆体と、を少なくとも備え、前記コイルは、少なくとも一部の巻線部分に、RF帯域の周波数の高周波電流が流れるように構成されており、前記プラズマ発生器は、前記放電管の他方の開口部を覆い、前記放電管を通過したガスを排出する複数のガス排出孔が形成された第2被覆体をさらに備えており、前記中心軸に沿って、前記第1被覆体および前記第2被覆体を視たときに、前記ガス導入孔は、前記中心軸を含む第1中央領域に形成されており、前記第1中央領域を中心軸に沿って投影した位置にある第2被覆体の第2中央領域には、前記ガスの排出を遮断する遮断部分が形成されており、前記第2中央領域を囲う周辺領域には、前記中心軸周りに、前記複数のガス排出孔が、形成されていることを特徴とする。
【0009】
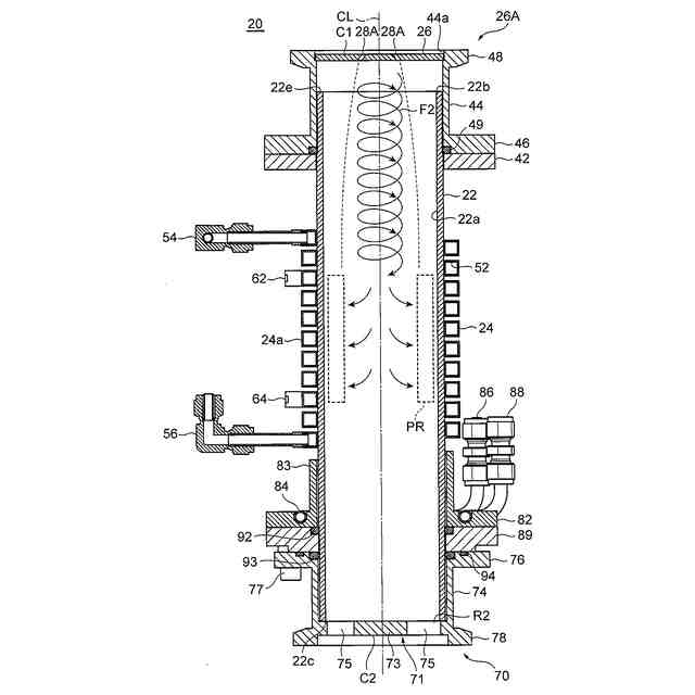
本発明によれば、中心軸に沿って、前記第1被覆体および前記第2被覆体を視たときに、前記ガス導入孔は、中心軸を含む第1中央領域に形成されており、第1中央領域を中心軸に沿って投影した位置にある第2被覆体の第2中央領域には、ガスの排出を遮断する遮断部分が形成されている。これにより、第1中央領域に形成されたガス導入孔から放出され、放電管の中心軸に沿って、放電管の内部に放出されたガスは、第2被覆体の第2中央領域に形成された遮断部分に衝突する。これとともに、高周波電流が流れるコイルの巻線部分に対応した放電管の内部の巻線部分に近い領域(以下、プラズマ発生領域)にも、放電管の内部に放出されたガスが拡散する。
【0010】
放電管に流れるガスが定常状態になると、導電性のコイルが巻かれた位置における中心軸周りのガスの圧力が上昇し、ガスの圧力が低いプラズマ発生領域に移動し易くなる。このような結果、中心軸周りの未分解のガスもプラズマ発生領域に移動するため、遮断部分を設けない場合に比べて、プラズマ発生領域に供給されるガス量を増加させることができ、ガスの分解効率を高めることができる。分解されたガス(以下、分解ガス)は、第2被覆体の第2中央領域を囲う周辺領域に形成された複数のガス排出孔から排出される。このような結果、中心軸に沿って存在するより多くの未分解ガスを、プラズマ発生領域に移動させることにより、ガスの分解効率を高めることができる。
(【0011】以降は省略されています)
この特許をJ-PlatPat(特許庁公式サイト)で参照する
関連特許
株式会社ダイヘン
移動装置
1か月前
株式会社ダイヘン
固相接合装置
21日前
株式会社ダイヘン
固相接合装置
21日前
株式会社ダイヘン
固相接合装置
21日前
株式会社ダイヘン
固相接合装置
21日前
株式会社ダイヘン
電力管理装置
21日前
株式会社ダイヘン
電力変換装置
28日前
株式会社ダイヘン
プラズマ発生器
2日前
株式会社ダイヘン
変換装置集積体
28日前
株式会社ダイヘン
ロボットシステム
2日前
株式会社ダイヘン
サブマージアーク溶接制御方法
26日前
株式会社ダイヘン
交流パルスアーク溶接制御方法
26日前
株式会社ダイヘン
交流パルスアーク溶接制御方法
22日前
株式会社ダイヘン
サブマージアーク溶接システム
22日前
株式会社ダイヘン
固相接合装置および固相接合システム
26日前
株式会社ダイヘン
充電予約管理装置及び充電予約管理方法
1か月前
株式会社ダイヘン
固相接合装置および固相接合装置の制御方法
26日前
株式会社ダイヘン
プログラム、情報処理方法、及び情報処理装置
1か月前
株式会社ダイヘン
ベルト伝動機構およびこれを備えた搬送ロボット
1か月前
株式会社ダイヘン
ハンド装置、支持用ユニット及びハンド装置の制御方法
1か月前
株式会社ダイヘン
無線給電システム
1か月前
株式会社ダイヘン
フラットパネル製造システム及びそれに用いられるロボット制御装置
1か月前
株式会社ダイヘン
サブマージアーク溶接の溶接方法、および、サブマージアーク溶接システム
22日前
個人
電子部品の実装方法
今日
株式会社コロナ
電気機器
2か月前
個人
非衝突型ガウス加速器
1か月前
日本精機株式会社
回路基板
22日前
株式会社遠藤照明
照明装置
3か月前
日本精機株式会社
回路基板
3か月前
個人
節電材料
1か月前
キヤノン株式会社
電子機器
3か月前
アイホン株式会社
電気機器
14日前
アイホン株式会社
電気機器
1か月前
日本放送協会
基板固定装置
20日前
キヤノン株式会社
電子機器
14日前
メクテック株式会社
配線基板
3か月前
続きを見る
他の特許を見る