TOP
|
特許
|
意匠
|
商標
特許ウォッチ
Twitter
他の特許を見る
10個以上の画像は省略されています。
公開番号
2025152581
公報種別
公開特許公報(A)
公開日
2025-10-10
出願番号
2024054536
出願日
2024-03-28
発明の名称
充電装置
出願人
株式会社ダイヘン
代理人
個人
,
個人
主分類
H02J
7/00 20060101AFI20251002BHJP(電力の発電,変換,配電)
要約
【課題】充電プラグを容易に移動させることが可能な充電装置を提供する。
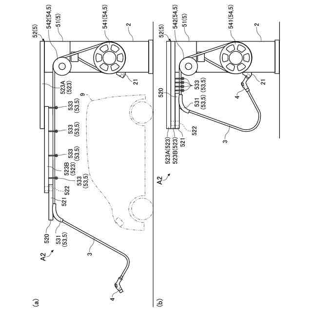
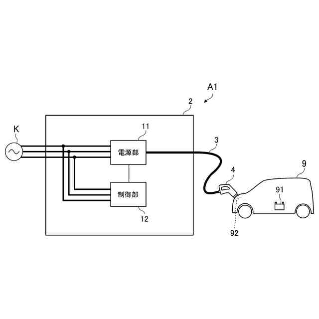
【解決手段】充電装置A1は、蓄電池91の電力で電動機を駆動して移動する電気自動車9の蓄電池91を充電する。充電装置A1は、蓄電池91の充電用の電力を出力する電源部と、電源部が収容される本体部2と、電気自動車9に接続されて、電源部が出力する電力を電気自動車9に供給する充電プラグ4と、電源部が出力する電力を充電プラグ4に供給する充電ケーブル3と、充電ケーブル3を支持する支持構造体5と、を備える。支持構造体5は、本体部2から離れる方向および前記本体部に近づく方向に移動可能な先端部520を含むアーム52を有する。アーム52は、先端部520の移動に応じて相互に摺動可能な複数のスライドバー523を含み、且つ複数のスライドバー523の相互摺動により伸縮する。
【選択図】図3
特許請求の範囲
【請求項1】
蓄電池の電力で電動機を駆動して移動する電気移動体の前記蓄電池を充電する充電装置であって、
前記蓄電池の充電用の電力を出力する電源部と、
前記電源部が収容される本体部と、
前記電気移動体に接続されて、前記電源部が出力する電力を当該電気移動体に供給する充電プラグと、
前記電源部が出力する電力を前記充電プラグに供給する充電ケーブルと、
前記充電ケーブルを支持する支持構造体と、
を備え、
前記支持構造体は、前記本体部から離れる方向および前記本体部に近づく方向に移動可能な先端部を含むアームを有し、
前記アームは、前記先端部の移動に応じて相互に摺動可能な複数のスライドバーを含み、且つ前記複数のスライドバーの相互摺動により伸縮する、充電装置。
続きを表示(約 600 文字)
【請求項2】
前記アームは、前記先端部を有するリンク部を含み、
前記複数のスライドバーは、前記本体部に支持される基端バーと、前記リンク部を連結される先端バーとを含み、
前記リンク部は、前記先端バーに対して回動可能である、請求項1に記載の充電装置。
【請求項3】
前記支持構造体は、各々が前記アームに支持されつつ前記充電ケーブルを支持する複数の支持具を有し、
前記複数の支持具は、前記先端部に取り付けられた先端支持具を含み、
前記充電ケーブルは、前記充電プラグまで所定の長さを保持した状態で前記先端支持具に固定されつつ、前記先端部と前記本体部との間において前記複数の支持具間で撓んでいる、請求項1または請求項2に記載の充電装置。
【請求項4】
前記支持構造体は、各々が前記アームに支持されつつ前記充電ケーブルを支持する複数の支持具を有し、
前記複数の支持具は、前記先端部に取り付けられた先端支持具と、前記アームに沿って前記アームの伸縮方向に移動可能な少なくとも1つの摺動支持具とを含み、
前記充電ケーブルは、前記充電プラグまで所定の長さを保持した状態で前記先端支持具に固定されつつ、前記先端部と前記本体部との間において前記少なくとも1つの摺動支持具に掛けられている、請求項1または請求項2に記載の充電装置。
発明の詳細な説明
【技術分野】
【0001】
本開示は、電気移動体の蓄電池を充電する充電装置に関する。
続きを表示(約 2,000 文字)
【背景技術】
【0002】
近年、電気自動車などの電気移動体の普及に伴い、電気移動体の蓄電池を充電する充電装置の整備が進んでいる。例えば、特許文献1には、従来の充電装置の一例が開示されている。特許文献1に記載の充電装置において、電気自動車の二次電池(蓄電池)への充電を行うときには、充電ケーブルの先端の充電コネクタ(充電プラグ)を電気自動車の充電ポートに接続する。一方、電気自動車の二次電池への充電を行わないときには、充電コネクタ(充電プラグ)および充電ケーブルは、コネクタ保持装置に保持されている。
【先行技術文献】
【特許文献】
【0003】
特開2012-244802号公報
【発明の概要】
【発明が解決しようとする課題】
【0004】
上記充電ポートの位置は、全ての電気自動車で同じではなく、車体の前方に配置される場合や車体の後方に配置される場合などで、異なることがある。そのため、充電装置の位置と充電ポートの位置とが離れている場合、充電ポートに充電プラグを接続するには、充電ケーブルを引っ張りながら、電気自動車の周囲に沿って、充電ケーブルを引き回す必要がある。また、電気自動車の充電完了後に、充電プラグおよび充電ケーブルをコネクタ保持装置に収納する際には、充電ケーブルを引っ張りながら、充電ケーブルをケーブルフック(特許文献1のケーブル保持部)に巻き付ける必要がある。充電ケーブルは、太くて重たいものがあるため、充電装置の利用者は、充電プラグの移動において、充電ケーブルの引き出しや巻き付けに、労力が必要となる。
【0005】
本開示は、上記事情に鑑みて考え出されたものであり、その目的は、充電プラグを容易に移動させることが可能な充電装置を提供することにある。
【課題を解決するための手段】
【0006】
本開示によって提供される充電装置は、蓄電池の電力で電動機を駆動して移動する電気移動体の前記蓄電池を充電する充電装置であって、前記蓄電池の充電用の電力を出力する電源部と、前記電源部が収容される本体部と、前記電気移動体に接続されて、前記電源部が出力する電力を当該電気移動体に供給する充電プラグと、前記電源部が出力する電力を前記充電プラグに供給する充電ケーブルと、前記充電ケーブルを支持する支持構造体と、を備え、前記支持構造体は、前記本体部から離れる方向および前記本体部に近づく方向に移動可能な先端部を含むアームを有し、前記アームは、前記先端部の移動に応じて相互に摺動可能な複数のスライドバーを含み、且つ前記複数のスライドバーの相互摺動により伸縮する。
【0007】
前記充電装置の好ましい実施の形態において、前記アームは、前記先端部を有するリンク部を含み、前記複数のスライドバーは、前記本体部に支持される基端バーと、前記リンク部を連結される先端バーとを含み、前記リンク部は、前記先端バーに対して回動可能である。
【0008】
前記充電装置の好ましい実施の形態において、前記支持構造体は、各々が前記アームに支持されつつ前記充電ケーブルを支持する複数の支持具を有し、前記複数の支持具は、前記先端部に取り付けられた先端支持具を含み、前記充電ケーブルは、前記充電プラグまで所定の長さを保持した状態で前記先端支持具に固定されつつ、前記先端部と前記本体部との間において前記複数の支持具間で撓んでいる。
【0009】
前記充電装置の好ましい実施の形態において、前記支持構造体は、各々が前記アームに支持されつつ前記充電ケーブルを支持する複数の支持具を有し、前記複数の支持具は、前記先端部に取り付けられた先端支持具と、前記アームに沿って前記アームの伸縮方向に移動可能な少なくとも1つの摺動支持具とを含み、前記充電ケーブルは、前記充電プラグまで所定の長さを保持した状態で前記先端支持具に固定されつつ、前記先端部と前記本体部との間において前記少なくとも1つの摺動支持具に掛けられている。
【発明の効果】
【0010】
本開示の充電装置では、アームの伸長により先端部が本体部から離れる方向に移動し、この先端部の移動に伴い、充電ケーブルが引き出される。そのため、充電装置の利用者は、充電プラグを本体部から離れる方向に容易に移動させることが可能となる。また、アームの収縮により先端部が本体部に近づく方向に移動し、この先端部の移動に伴い、充電ケーブルが引き戻される。そのため、充電装置の利用者は、充電プラグを本体部に近づく方向に容易に移動させることが可能となる。したがって、本開示の充電装置によれば、充電プラグを容易に移動させることが可能となる。
【図面の簡単な説明】
(【0011】以降は省略されています)
この特許をJ-PlatPat(特許庁公式サイト)で参照する
関連特許
株式会社ダイヘン
充電装置
23日前
株式会社ダイヘン
制御装置
23日前
株式会社ダイヘン
充電装置
23日前
株式会社ダイヘン
充電装置
23日前
株式会社ダイヘン
充電装置
23日前
株式会社ダイヘン
搬送装置
23日前
株式会社ダイヘン
溶接電源装置
23日前
株式会社ダイヘン
回生ユニット
24日前
株式会社ダイヘン
固相接合装置
1か月前
株式会社ダイヘン
固相接合装置
1か月前
株式会社ダイヘン
固相接合装置
1か月前
株式会社ダイヘン
電力変換装置
26日前
株式会社ダイヘン
固相接合装置
1か月前
株式会社ダイヘン
電力システム
26日前
株式会社ダイヘン
インバータ装置
18日前
株式会社ダイヘン
インバータ装置
23日前
株式会社ダイヘン
変圧器組立装置
23日前
株式会社ダイヘン
絶縁紙巻回装置
1か月前
株式会社ダイヘン
プラズマ発生器
1か月前
株式会社ダイヘン
パルス電源装置
23日前
株式会社ダイヘン
パワーモジュール
23日前
株式会社ダイヘン
ロボットシステム
1か月前
株式会社ダイヘン
ロボットシステム
1か月前
株式会社ダイヘン
パワーモジュール
23日前
株式会社ダイヘン
パワーモジュール
23日前
株式会社ダイヘン
熱加工用電源装置
10日前
株式会社ダイヘン
熱加工用電源装置
4日前
株式会社ダイヘン
積層造形システム
3日前
株式会社ダイヘン
積層造形システム
3日前
株式会社ダイヘン
積層造形システム
3日前
株式会社ダイヘン
直流パルス電源装置
24日前
株式会社ダイヘン
アーク溶接システム
23日前
株式会社ダイヘン
制御装置及び研削システム
23日前
株式会社ダイヘン
サブマージアーク溶接システム
23日前
株式会社ダイヘン
サブマージアーク溶接システム
23日前
株式会社ダイヘン
通信システム、および、通信方法
24日前
続きを見る
他の特許を見る