TOP
|
特許
|
意匠
|
商標
特許ウォッチ
Twitter
他の特許を見る
公開番号
2025154142
公報種別
公開特許公報(A)
公開日
2025-10-10
出願番号
2024056991
出願日
2024-03-29
発明の名称
パワーモジュール
出願人
株式会社ダイヘン
代理人
弁理士法人平木国際特許事務所
主分類
H01L
25/07 20060101AFI20251002BHJP(基本的電気素子)
要約
【課題】絶縁基板の表面に形成された導電層から放電することがある。
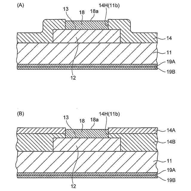
【解決手段】パワーモジュール1は、絶縁基板11と、絶縁基板11に実装される半導体素子16と、半導体素子16とともに絶縁基板11を収容するケーシング70と、ケーシング70内の半導体素子16を封止する封止材60と、を備える。絶縁基板11の表面には、半導体素子16を実装する導電層12を少なくとも含む導体パターン12Pが形成されており、導電層12の表面のうち、半導体素子16が実装される被実装領域13が露出するように、導電層12の周縁とともに、絶縁基板11の表面が、絶縁フィルム14で被覆されている。
【選択図】図7
特許請求の範囲
【請求項1】
高電圧用のパワーモジュールであって、
前記パワーモジュールは、
セラミックスからなる絶縁基板と、
前記絶縁基板に実装される半導体素子と、
前記半導体素子とともに前記絶縁基板を収容するケーシングと、
前記ケーシング内の前記半導体素子を封止する封止材と、を備えており、
前記絶縁基板の表面には、前記半導体素子を実装する導電層を少なくとも含む導体パターンが形成されており、
前記導電層の表面のうち、前記半導体素子が実装される被実装領域が露出するように、前記導電層の周縁とともに、前記絶縁基板の表面が、絶縁フィルムで被覆されていることを特徴とするパワーモジュール。
続きを表示(約 820 文字)
【請求項2】
前記絶縁フィルムには、前記半導体素子の設置面の形状に応じた形状の素子用開口部が形成されることにより、前記被実装領域は、前記半導体素子の設置面の形状に応じた形状になっていることを特徴とする請求項1に記載のパワーモジュール。
【請求項3】
前記被実装領域と前記素子用開口部とにより、凹部が形成されており、
前記凹部の少なくとも一部を埋めるように、前記被実装領域にはめっき層がさらに形成されており、
前記めっき層の厚さは、前記凹部の深さ以下であることを特徴とする請求項2に記載のパワーモジュール。
【請求項4】
前記導体パターンには、前記導電層を介して前記半導体素子に導通する接続端子が立設されており、
前記絶縁フィルムには、前記接続端子が立設された位置に、前記接続端子の端面の形状に応じた端子用開口部が形成されることにより、前記導体パターンの導電層の表面には、前記絶縁フィルムから露出し、前記接続端子の端面に接触する接触領域が形成されていることを特徴とする請求項1に記載のパワーモジュール。
【請求項5】
前記接続端子は、円柱状の金属製の端子であることを特徴とする請求項4に記載のパワーモジュール。
【請求項6】
前記封止材は、前記ケーシングの底面から所定の高さまで充填されており、前記所定の高さを超えた前記ケーシング内の空間に少なくとも存在する前記接続端子の円柱部分は、円筒状のセラミックスからなる絶縁筒体に挿入されていることを特徴とする請求項5に記載のパワーモジュール。
【請求項7】
前記ケーシング内には、前記絶縁基板と、前記絶縁基板に実装される半導体素子と、を1つセットとした素子実装基板が、複数並設された状態で、複数の前記素子実装基板は、電気的に直列に接続されていることを特徴とする請求項1に記載のパワーモジュール。
発明の詳細な説明
【技術分野】
【0001】
本発明は、高電圧用のパワーモジュールに関する。
続きを表示(約 1,400 文字)
【背景技術】
【0002】
この種の技術として、セラミックスからなる絶縁基板と、絶縁基板に実装される半導体素子と、半導体素子とともに絶縁基板を収容するケーシングと、ケーシング内の前記半導体素子を封止する封止材と、を備えたパワーモジュールが提案されている(たとえば特許文献1参照)。絶縁基板の表面には、半導体素子を実装する導電層を含む導体パターンが形成されている。
【先行技術文献】
【特許文献】
【0003】
特開2007-12831号公報
【発明の概要】
【発明が解決しようとする課題】
【0004】
ところで、特許文献1のパワーモジュールでは、導電層の周縁が封止材で十分に覆われていない場合や、導電層の周縁において封止材に気泡が形成された場合、導電層から放電することがある。さらに、導電層の縁部の側面に、絶縁性の高い樹脂を塗布したとしても、導電層の上縁部が露出しているや塗布した樹脂に気泡が形成された場合には、導電層から放電することがある。
【0005】
本発明は、このような点に鑑みてなされたものであり、絶縁基板の表面に形成された導電層から放電することを抑えることができるパワーモジュールを提供することを目的とする。
【課題を解決するための手段】
【0006】
前記課題に鑑みて、本発明に係るパワーモジュールは、高電圧用のパワーモジュールであって、前記パワーモジュールは、セラミックスからなる少なくとも1つの絶縁基板と、前記絶縁基板に実装される半導体素子と、前記半導体素子とともに前記絶縁基板を収容するケーシングと、前記ケーシング内の前記半導体素子を封止する封止材と、を備えており、前記絶縁基板の表面には、前記半導体素子を実装する導電層を少なくとも含む導体パターンが形成されており、前記導電層の表面のうち、前記半導体素子が実装される被実装領域が露出するように、前記導電層の周縁とともに、前記絶縁基板の表面が、絶縁フィルムで被覆されている。
【0007】
本発明によれば、絶縁基板に形成された導電層の表面のうち、半導体素子が実装される被実装領域が露出するように、導電層の周縁とともに、絶縁基板の表面が、絶縁フィルムで被覆されている。これにより、導電層の周縁により形成される凹部および凸部は、絶縁フィルムで覆われるため、導電層の周縁の凹部および凸部に電界が集中することを抑制し、これらの凹部および凸部から放電することを抑えることができる。
【0008】
より好ましい態様としては、前記絶縁フィルムには、前記半導体素子の設置面の形状に応じた形状の素子用開口部が形成されることにより、前記被実装領域は、前記半導体素子の設置面の形状に応じた形状になっている。
【0009】
この態様によれば、絶縁フィルムに形成された素子用開口部により、被実装領域は、半導体素子の設置面の形状に応じた形状にとなるため、絶縁フィルムから導電層が露出する領域を低減することができる。これにより、導電層からの放電を低減することができる。
【0010】
さらに好ましい態様としては、前記被実装領域と前記素子用開口部とにより、凹部が形成されており、前記凹部の少なくとも一部を埋めるように、前記被実装領域にはめっき層がさらに形成されており、前記めっき層の厚さは、前記凹部の深さ以下である。
(【0011】以降は省略されています)
この特許をJ-PlatPat(特許庁公式サイト)で参照する
関連特許
株式会社ダイヘン
充電装置
今日
株式会社ダイヘン
充電装置
今日
株式会社ダイヘン
充電装置
今日
株式会社ダイヘン
搬送装置
今日
株式会社ダイヘン
充電装置
今日
株式会社ダイヘン
制御装置
今日
株式会社ダイヘン
回生ユニット
1日前
株式会社ダイヘン
固相接合装置
1か月前
株式会社ダイヘン
電力変換装置
3日前
株式会社ダイヘン
溶接電源装置
今日
株式会社ダイヘン
固相接合装置
1か月前
株式会社ダイヘン
固相接合装置
1か月前
株式会社ダイヘン
電力管理装置
1か月前
株式会社ダイヘン
電力システム
3日前
株式会社ダイヘン
固相接合装置
1か月前
株式会社ダイヘン
プラズマ発生器
11日前
株式会社ダイヘン
インバータ装置
今日
株式会社ダイヘン
パルス電源装置
今日
株式会社ダイヘン
変圧器組立装置
今日
株式会社ダイヘン
絶縁紙巻回装置
8日前
株式会社ダイヘン
パワーモジュール
今日
株式会社ダイヘン
パワーモジュール
今日
株式会社ダイヘン
パワーモジュール
今日
株式会社ダイヘン
ロボットシステム
11日前
株式会社ダイヘン
ロボットシステム
8日前
株式会社ダイヘン
アーク溶接システム
今日
株式会社ダイヘン
直流パルス電源装置
1日前
株式会社ダイヘン
制御装置及び研削システム
今日
株式会社ダイヘン
サブマージアーク溶接システム
今日
株式会社ダイヘン
サブマージアーク溶接システム
今日
株式会社ダイヘン
通信システム、および、通信方法
1日前
株式会社ダイヘン
変圧器組立方法及び変圧器組立装置
今日
株式会社ダイヘン
絶縁紙巻回装置及び絶縁紙巻回方法
8日前
株式会社ダイヘン
溶接検査装置、形状計測装置および外観検査装置
1日前
株式会社ダイヘン
搬送ロボットの教示システム、および搬送ロボットの教示方法
今日
株式会社ダイヘン
搬送ロボットの教示システム、および搬送ロボットの教示方法
今日
続きを見る
他の特許を見る