TOP
|
特許
|
意匠
|
商標
特許ウォッチ
Twitter
他の特許を見る
10個以上の画像は省略されています。
公開番号
2025132125
公報種別
公開特許公報(A)
公開日
2025-09-10
出願番号
2024029485
出願日
2024-02-29
発明の名称
固相接合装置
出願人
株式会社ダイヘン
代理人
弁理士法人深見特許事務所
主分類
B23K
20/00 20060101AFI20250903BHJP(工作機械;他に分類されない金属加工)
要約
【課題】固相接合においてワーク同士の接触部の温度を正確に測定する。
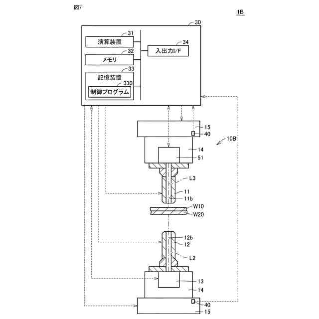
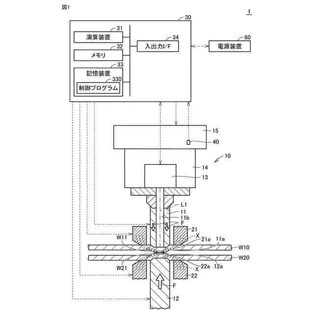
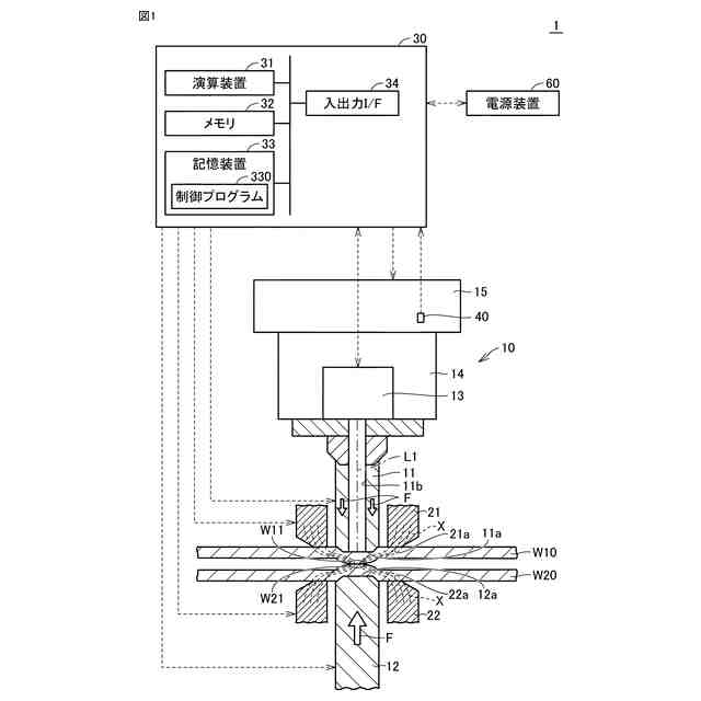
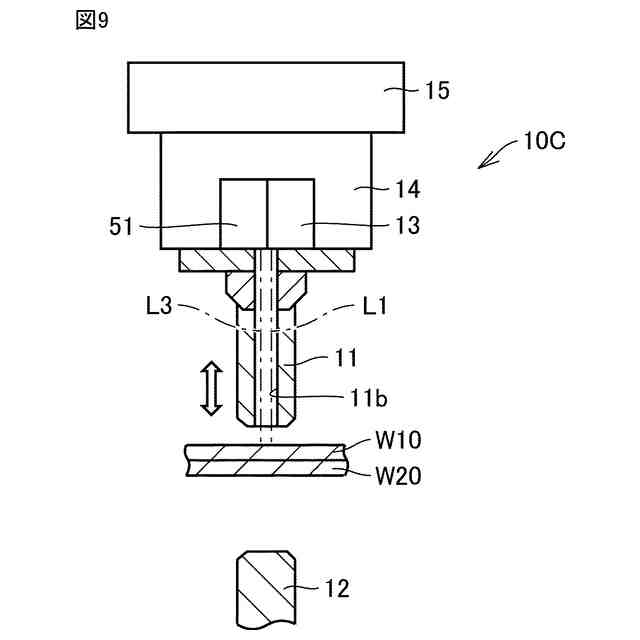
【解決手段】固相接合装置1は、一対の加圧軸11,12と、一対の加圧軸11,12によって加圧される第1ワークW10と第2ワークW20とが接触する接触部を加熱する加熱装置と、赤外線を用いて接触部の温度を非接触で測定する測定装置13とを備える。一対の加圧軸11,12の少なくとも1つの内部には、押圧方向に貫通孔11bが形成されている。測定装置13は、貫通孔11bを通して接触部から生じる赤外線L1を受光することによって接触部の温度を測定する。
【選択図】図1
特許請求の範囲
【請求項1】
導電性を有する第1ワークおよび第2ワークを厚み方向における両側から押圧する一対の加圧軸と、
前記一対の加圧軸によって加圧される前記第1ワークと前記第2ワークとが接触する接触部を加熱する加熱装置と、
赤外線を用いて前記接触部の温度を非接触で測定する測定装置とを備え、
前記一対の加圧軸の少なくとも1つの内部には、押圧方向に貫通孔が形成され、
前記測定装置は、前記貫通孔を通して前記接触部から生じる赤外線を受光することによって前記接触部の温度を測定する、固相接合装置。
続きを表示(約 990 文字)
【請求項2】
前記加熱装置は、前記一対の加圧軸の周囲にそれぞれ配置された一対の電極を含み、
前記一対の電極は、前記第1ワークと前記第2ワークとが接触した状態で、通電されることによって前記接触部を加熱する、請求項1に記載の固相接合装置。
【請求項3】
前記加熱装置は、レーザ光を照射するレーザ発振器を含み、
前記レーザ発振器は、前記第1ワークと前記第2ワークとが接触した状態で、前記接触部に前記レーザ光を照射することによって前記接触部を加熱する、請求項1に記載の固相接合装置。
【請求項4】
前記一対の加圧軸は、前記第1ワークを押圧する第1加圧軸と、前記第2ワークを押圧する第2加圧軸とを含み、
前記第1加圧軸の内部には、押圧方向に第1貫通孔が形成され、
前記第2加圧軸の内部には、押圧方向に第2貫通孔が形成され、
前記測定装置は、
前記第1貫通孔を通して赤外線を受光することによって前記第1ワーク側の前記接触部の温度を測定し、
前記第2貫通孔を通して赤外線を受光することによって前記第2ワーク側の前記接触部の温度を測定する、請求項1に記載の固相接合装置。
【請求項5】
前記一対の加圧軸は、前記第1ワークを押圧する第1加圧軸と、前記第2ワークを押圧する第2加圧軸とを含み、
前記第1加圧軸の内部には、押圧方向に第1貫通孔が形成され、
前記第2加圧軸の内部には、押圧方向に第2貫通孔が形成され、
前記レーザ発振器は、前記第1貫通孔を通して前記レーザ光を照射し、
前記測定装置は、前記第2貫通孔を通して赤外線を受光することによって前記第2ワーク側の前記接触部の温度を測定する、請求項3に記載の固相接合装置。
【請求項6】
前記一対の加圧軸は、前記第1ワークを押圧する第1加圧軸と、前記第2ワークを押圧する第2加圧軸とを含み、
前記第1加圧軸の内部には、押圧方向に第1貫通孔が形成され、
前記レーザ発振器は、前記第1貫通孔を通して前記レーザ光を照射し、
前記測定装置は、前記第1貫通孔を通して赤外線を受光することによって前記第1ワーク側の前記接触部の温度を測定する、請求項3に記載の固相接合装置。
発明の詳細な説明
【技術分野】
【0001】
本開示は、導電性を有する第1ワークと第2ワークとを接合する固相接合装置に関する。
続きを表示(約 1,800 文字)
【背景技術】
【0002】
特許第7242112号公報(特許文献1)には、押圧部を含む加圧機構と、一対の電極を含む通電機構とを備える固相点接合装置が開示されている。特許第7242112号公報(特許文献1)に開示された固相点接合装置は、一対の電極によって2枚の金属板材に通電して各金属板材を加熱した状態で、押圧部によって2枚の金属板材を当該金属板材と直交する方向に押圧するように構成されている。特許第7242112号公報(特許文献1)に開示されたような、金属を溶融させずに低温域の固相状態で接合する接合方法(以下、「固相接合」とも称する。)においては、接合品質の向上のためワーク同士の接触部の温度が接合に適した温度となっていることを正確に検出することが重要である。しかしながら、特許第7242112号公報(特許文献1)に開示された固相接合においては、ワーク同士の接触部の温度を正確に測定する技術については開示されていない。
【0003】
この点、特開2022-162847号公報(特許文献2)には、摩擦熱を用いた摩擦攪拌接合において、被接合部材の接合中の温度および荷重をリアルタイムで計測する技術が開示されている。
【先行技術文献】
【特許文献】
【0004】
特許第7242112号公報
特開2022-162847号公報
【発明の概要】
【発明が解決しようとする課題】
【0005】
特開2022-162847号公報(特許文献2)には、回転ツール内に配置される熱電対を用いて温度を計測する技術が開示されている。しかしながら、特開2022-162847号公報(特許文献2)では、熱電対がワークに接触していないため、接触部の温度を直接測定することができなかった。また、特許第7242112号公報(特許文献1)に示す構造では、加圧機構によって接触部に大きな圧力が加わるため、熱電対などを接触部に配置して直接温度を測定しようとすると、熱電対などは、接合過程において圧力によって破損してしまう。あるいは圧力と接触部の発熱とが加わって、ワークと接合されてしまい、測定ができない。
【0006】
本開示の目的は、固相接合においてワーク同士の接触部の温度を正確に測定する技術を提供することである。
【課題を解決するための手段】
【0007】
本開示の固相接合装置は、導電性を有する第1ワークおよび第2ワークを厚み方向における両側から押圧する一対の加圧軸と、一対の加圧軸によって加圧される第1ワークと第2ワークとが接触する接触部を加熱する加熱装置と、赤外線を用いて接触部の温度を非接触で測定する測定装置とを備える。一対の加圧軸の少なくとも1つの内部には、押圧方向に貫通孔が形成されている。測定装置は、貫通孔を通して接触部から生じる赤外線を受光することによって接触部の温度を測定する。
【発明の効果】
【0008】
本開示によれば、一対の加圧軸のうちの少なくとも1つの加圧軸の内部には、押圧方向に貫通孔が形成され、貫通孔を通して少なくとも1つの加圧軸によって押圧されるワークから生じる赤外線を受光することによって接触部の温度が測定される。これにより、貫通孔を通してワーク同士の接触部の温度を正確に測定することができる。
【図面の簡単な説明】
【0009】
実施の形態1に係る固相接合装置を概略的に示す図である。
接合工程を説明するための図である。
時間に対する各種項目の変化を示す図である。
制御装置が実行する制御内容を示すフローチャートである。
変形例における制御装置が実行する制御内容を示すフローチャートである。
実施の形態2に係る固相接合機器を概略的に示す図である。
実施の形態3に係る固相接合装置を概略的に示す図である。
制御装置が実行する制御内容を示すフローチャートである。
実施の形態4に係る固相接合機器を概略的に示す図である。
【発明を実施するための形態】
【0010】
以下、本開示の実施の形態について、図面を参照しながら詳細に説明する。なお、図中同一又は相当部分には同一符号を付してその説明は繰り返さない。
(【0011】以降は省略されています)
この特許をJ-PlatPat(特許庁公式サイト)で参照する
関連特許
株式会社ダイヘン
充電装置
17日前
株式会社ダイヘン
制御装置
17日前
株式会社ダイヘン
充電装置
17日前
株式会社ダイヘン
充電装置
17日前
株式会社ダイヘン
搬送装置
17日前
株式会社ダイヘン
充電装置
17日前
株式会社ダイヘン
固相接合装置
1か月前
株式会社ダイヘン
電力変換装置
20日前
株式会社ダイヘン
電力システム
20日前
株式会社ダイヘン
回生ユニット
18日前
株式会社ダイヘン
固相接合装置
1か月前
株式会社ダイヘン
溶接電源装置
17日前
株式会社ダイヘン
パルス電源装置
17日前
株式会社ダイヘン
絶縁紙巻回装置
25日前
株式会社ダイヘン
インバータ装置
17日前
株式会社ダイヘン
プラズマ発生器
28日前
株式会社ダイヘン
インバータ装置
12日前
株式会社ダイヘン
変圧器組立装置
17日前
株式会社ダイヘン
ロボットシステム
25日前
株式会社ダイヘン
ロボットシステム
28日前
株式会社ダイヘン
熱加工用電源装置
4日前
株式会社ダイヘン
パワーモジュール
17日前
株式会社ダイヘン
パワーモジュール
17日前
株式会社ダイヘン
パワーモジュール
17日前
株式会社ダイヘン
直流パルス電源装置
18日前
株式会社ダイヘン
アーク溶接システム
17日前
株式会社ダイヘン
制御装置及び研削システム
17日前
株式会社ダイヘン
サブマージアーク溶接システム
17日前
株式会社ダイヘン
サブマージアーク溶接システム
17日前
株式会社ダイヘン
充電装置、および、電力システム
10日前
株式会社ダイヘン
通信システム、および、通信方法
18日前
株式会社ダイヘン
絶縁紙巻回装置及び絶縁紙巻回方法
25日前
株式会社ダイヘン
変圧器組立方法及び変圧器組立装置
17日前
株式会社ダイヘン
溶接検査装置、形状計測装置および外観検査装置
18日前
株式会社ダイヘン
搬送ロボットの教示システム、および搬送ロボットの教示方法
17日前
株式会社ダイヘン
搬送ロボットの教示システム、および搬送ロボットの教示方法
17日前
続きを見る
他の特許を見る