TOP
|
特許
|
意匠
|
商標
特許ウォッチ
Twitter
他の特許を見る
公開番号
2025154124
公報種別
公開特許公報(A)
公開日
2025-10-10
出願番号
2024056952
出願日
2024-03-29
発明の名称
パワーモジュール
出願人
株式会社ダイヘン
代理人
弁理士法人平木国際特許事務所
主分類
H01L
25/07 20060101AFI20251002BHJP(基本的電気素子)
要約
【課題】素子実装基板から、部品実装基板を取り外し、部品実装基板を簡単に交換することは難しい。
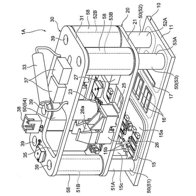
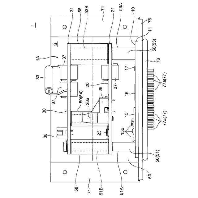
【解決手段】パワーモジュール1は、素子実装基板10と、部品実装基板20と、コネクタ基板30と、これらを収容するケーシング70と、を有しており、ケーシング50の底部から順に、素子実装基板10と、部品実装基板20と、コネクタ基板30が、複数の支柱50により間隔を空けた状態で、着脱自在に連結されている。
【選択図】図5
特許請求の範囲
【請求項1】
高電圧用のパワーモジュールであって、
前記パワーモジュールは、
セラミックスからなる絶縁基板に半導体素子が少なくとも実装された素子実装基板と、
前記半導体素子に電気的に接続される電気部品または電子部品の実装部品が実装された部品実装基板と、
前記実装部品に電気的に接続されるとともに、少なくとも外部機器に電気的に接続される接続部を有したコネクタ基板と、
を有しており、
前記素子実装基板と、前記部品実装基板と、前記コネクタ基板とを、収容するケーシングと、を有しており、
前記ケーシングの底部から順に、前記素子実装基板と、前記部品実装基板と、前記コネクタ基板が、複数の支柱により間隔を空けた状態で、着脱自在に連結されていることを特徴とするパワーモジュール。
続きを表示(約 950 文字)
【請求項2】
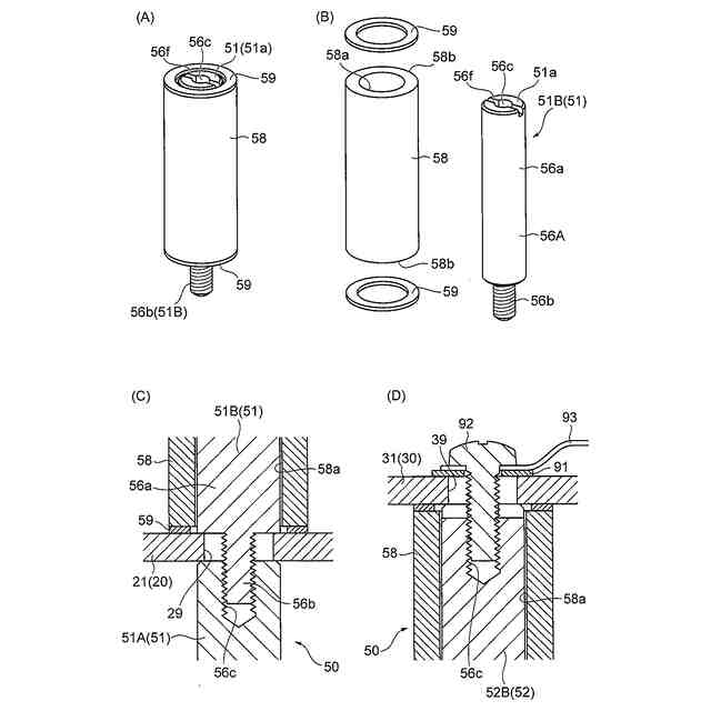
各前記支柱は、前記素子実装基板から立設し、前記部品実装基板を支持する第1支持柱と、
前記部品実装基板から立設し、前記コネクタ基板を支持する第2支持柱とで、構成されており、
前記第1支持柱および前記第2支持柱のいずれか一方には、端部に雄ネジ部が形成されており、他方には、端部に前記雄ネジ部に螺着される雌ネジ部が形成されており、
前記部品実装基板に形成された貫通孔を介して、前記雄ネジ部と前記雌ネジ部を螺着させることにより、前記部品実装基板は、前記第1支持柱および前記第2支持柱により挟持されていることを特徴とする請求項1に記載のパワーモジュール。
【請求項3】
前記支柱の端面は、前記コネクタ基板の平面視で、前記コネクタ基板に形成された貫通孔において、前記コネクタ基板から露出しており、
前記支柱は、前記実装部品または前記半導体素子に導通した接続端子であることを特徴とする請求項2に記載のパワーモジュール。
【請求項4】
前記部品実装基板は矩形状であり、前記部品実装基板の中央には、前記ケーシング内に前記素子実装基板を封止する封止材を導入する導入口が形成されていることを特徴とする請求項1に記載のパワーモジュール。
【請求項5】
前記部品実装基板には、前記実装部品の1つとして、光ファイバに接続され、前記光ファイバの光信号を受光する光レシーバが実装されており、
前記コネクタ基板には、前記光レシーバと対向した位置には、開口部が形成されていることを特徴とする請求項4に記載のパワーモジュール。
【請求項6】
前記半導体素子は、電界効果トランジスタであり、
前記部品実装基板には、複数の前記実装部品の一部から構成され、前記電界効果トランジスタを駆動させるゲート駆動回路が設けられており、
前記ゲート駆動回路は、前記光レシーバで受光した光信号を制御信号として、ゲート電圧の波形を制御するものであり、
前記部品実装基板には、前記導入口を挟んだ両側のうち一方側に、前記光レシーバと、前記ゲート駆動回路とが、並設されていることを特徴とする請求項5に記載のパワーモジュール。
発明の詳細な説明
【技術分野】
【0001】
本発明は、高電圧用のパワーモジュールに関する。
続きを表示(約 1,900 文字)
【背景技術】
【0002】
この種の技術として、パワー半導体素子が少なくとも実装されたインバータ基板(素子実装基板)と、電気部品または電子部品の実装部品が実装された第1および第2基板と、を備えたパワーモジュールが提案されている(たとえば、特許文献1参照)。インバータ基板、第1基板、および第2基板は、ソース用接続端子およびゲート用の接続端子により、間隔を空けた状態で接続されている。
【先行技術文献】
【特許文献】
【0003】
特開2022-107876号公報
【発明の概要】
【発明が解決しようとする課題】
【0004】
ところで、特許文献1のパワーモジュールでは、たとえば検査時に、第2基板との間に位置する第1基板に実装された電子部品または電気部品の特性が所望の特性を有していない場合、この第1基板に相当する部品実装基板を交換することになる。しかしながら、素子実装基板と部品実装基板とを連結する接続端子は、一般的に、素子実装基板と部品実装基板とにはんだ接合等により接続されているため、素子実装基板から、部品実装基板を取り外し、部品実装基板を交換することは容易ではない。
【0005】
本発明は、このような点に鑑みてなされたものであり、素子実装基板から、部品実装基板を取り外し、部品実装基板を簡単に交換することができるパワーモジュールを提供することを目的とする。
【課題を解決するための手段】
【0006】
前記課題に鑑みて、本発明に係るパワーモジュールは、高電圧用のパワーモジュールであって、前記パワーモジュールは、セラミックスからなる絶縁基板に半導体素子が少なくとも実装された素子実装基板と、前記半導体素子に電気的に接続される電気部品または電子部品の実装部品が実装された部品実装基板と、前記実装部品に電気的に接続されるとともに、少なくとも外部機器に電気的に接続される接続部を有したコネクタ基板と、を有しており、前記素子実装基板と、前記部品実装基板と、前記コネクタ基板とを、収容するケーシングと、を有しており、前記ケーシングの底部から順に、前記素子実装基板と、前記部品実装基板と、前記コネクタ基板が、複数の支柱により間隔を空けた状態で、着脱自在に連結されている。
【0007】
本発明によれば、ケーシングの底部から順に、素子実装基板と、部品実装基板と、コネクタ基板が、複数の支柱により間隔を空けた状態で、着脱自在に連結されているので、素子実装基板と、部品実装基板と、コネクタ基板と、を簡単に分離することがきる。特に、検査時に、部品実装基板に実装された電子部品または電気部品の特性が所望の特性を有していない場合、部品実装基板を交換することになる。本実施形態では、部品実装基板は、素子実装基板とコネクタ基板との間に配置されたとしても、コネクタ基板および素子実装基板から、部品実装基板を簡単に取り外し、部品実装基板を簡単に交換することができる。
【0008】
より好ましい態様としては、各前記支柱は、前記素子実装基板から立設し、前記部品実装基板を支持する第1支持柱と、前記部品実装基板から立設し、前記コネクタ基板を支持する第2支持柱とで、構成されており、前記第1支持柱および前記第2支持柱のいずれか一方には、端部に雄ネジ部が形成されており、他方には、端部に前記雄ネジ部に螺着される雌ネジ部が形成されており、前記部品実装基板に形成された貫通孔を介して、前記雄ネジ部と前記雌ネジ部を螺着させることにより、前記部品実装基板は、前記第1支持柱および前記第2支持柱により挟持されている。
【0009】
この態様によれば、部品実装基板は、第1支持柱および第2支持柱により挟持した状態で、部品実装基板に形成された貫通孔を介して、雄ネジ部と雌ネジ部を螺着させることができる。これにより、第1支持柱および第2支持柱の螺着を解除することにより、部品実装基板を、素子実装基板とコネクタ基板との間から簡単に取り除くことができる。さらに、部品実装基板に形成された貫通孔を介して、雄ネジ部と雌ネジ部を螺着させて、第1支持柱と第2支持柱とを締め込むと、素子実装基板およびコネクタ基板に対して、部品実装基板を安定して固定することができる。
【0010】
さらに好ましい態様としては、前記支柱の端面は、前記コネクタ基板の平面視で、前記コネクタ基板に形成された貫通孔において、前記コネクタ基板から露出しており、前記支柱は、前記実装部品または前記半導体素子に導通した接続端子である。
(【0011】以降は省略されています)
この特許をJ-PlatPat(特許庁公式サイト)で参照する
関連特許
株式会社ダイヘン
充電装置
8日前
株式会社ダイヘン
制御装置
8日前
株式会社ダイヘン
充電装置
8日前
株式会社ダイヘン
充電装置
8日前
株式会社ダイヘン
移動装置
1か月前
株式会社ダイヘン
搬送装置
8日前
株式会社ダイヘン
充電装置
8日前
株式会社ダイヘン
固相接合装置
1か月前
株式会社ダイヘン
電力変換装置
11日前
株式会社ダイヘン
電力システム
11日前
株式会社ダイヘン
固相接合装置
1か月前
株式会社ダイヘン
回生ユニット
9日前
株式会社ダイヘン
固相接合装置
1か月前
株式会社ダイヘン
固相接合装置
1か月前
株式会社ダイヘン
電力管理装置
1か月前
株式会社ダイヘン
溶接電源装置
8日前
株式会社ダイヘン
電力変換装置
1か月前
株式会社ダイヘン
変換装置集積体
1か月前
株式会社ダイヘン
絶縁紙巻回装置
16日前
株式会社ダイヘン
パルス電源装置
8日前
株式会社ダイヘン
インバータ装置
3日前
株式会社ダイヘン
変圧器組立装置
8日前
株式会社ダイヘン
プラズマ発生器
19日前
株式会社ダイヘン
インバータ装置
8日前
株式会社ダイヘン
パワーモジュール
8日前
株式会社ダイヘン
パワーモジュール
8日前
株式会社ダイヘン
パワーモジュール
8日前
株式会社ダイヘン
ロボットシステム
19日前
株式会社ダイヘン
ロボットシステム
16日前
株式会社ダイヘン
直流パルス電源装置
9日前
株式会社ダイヘン
アーク溶接システム
8日前
株式会社ダイヘン
制御装置及び研削システム
8日前
株式会社ダイヘン
交流パルスアーク溶接制御方法
1か月前
株式会社ダイヘン
サブマージアーク溶接制御方法
1か月前
株式会社ダイヘン
交流パルスアーク溶接制御方法
1か月前
株式会社ダイヘン
サブマージアーク溶接システム
8日前
続きを見る
他の特許を見る