TOP
|
特許
|
意匠
|
商標
特許ウォッチ
Twitter
他の特許を見る
公開番号
2025144383
公報種別
公開特許公報(A)
公開日
2025-10-02
出願番号
2024044129
出願日
2024-03-19
発明の名称
絶縁紙巻回装置及び絶縁紙巻回方法
出願人
株式会社ダイヘン
代理人
個人
,
個人
主分類
B65H
19/28 20060101AFI20250925BHJP(運搬;包装;貯蔵;薄板状または線条材料の取扱い)
要約
【課題】変成器用絶縁紙の巻回体の製造を自動化できる絶縁紙巻回装置及び絶縁紙巻回方法を提供する。
【解決手段】変成器用電線を被覆する絶縁紙を筒状に巻く絶縁紙巻回装置であって、絶縁紙の端部を挟んで回転して前記絶縁紙を外面に巻き付ける回転筒10と、絶縁紙を回転筒10まで案内するガイド部70と、ガイド部70を、回転筒10に接近した第1位置L1と、第1位置L1よりも回転筒10から離れた第2位置L2とに移動させる移動機構とを備える。
【選択図】図5
特許請求の範囲
【請求項1】
変成器用電線を被覆する絶縁紙を筒状に巻く絶縁紙巻回装置であって、
絶縁紙の端部を挟んで回転して前記絶縁紙を外面に巻き付ける回転筒と、
絶縁紙を前記回転筒まで案内するガイド部と、
前記ガイド部を、前記回転筒に接近した第1位置と、前記第1位置よりも前記回転筒から離れた第2位置とに移動させる移動機構とを備える絶縁紙巻回装置。
続きを表示(約 650 文字)
【請求項2】
前記回転筒は、長さ方向に沿って形成され、供給される前記絶縁紙の端部を挟む挟み口を有し、
前記ガイド部は、絶縁紙が載置される下方板部を有しており、
前記第1位置にて、前記下方板部の先端部が、前記挟み口を介して前記回転筒内に挿入される請求項1に記載の絶縁紙巻回装置。
【請求項3】
前記ガイド部は、前記下方板部上の絶縁紙を覆う上方板部を有しており、
前記上方板部は、先端部に、前記第1位置にて前記回転筒と当接する当接部を有している請求項2に記載の絶縁紙巻回装置。
【請求項4】
前記当接部では、前記上方板部の辺縁部が上方に屈曲されている請求項3に記載の絶縁紙巻回装置。
【請求項5】
前記回転筒の周方向における前記挟み口の寸法が、前記回転筒の内周面側にて外周面側よりも小さい請求項2から4の何れか一項に記載の絶縁紙巻回装置。
【請求項6】
変成器用電線を被覆する絶縁紙の端部を挟んで回転して絶縁紙を外面に巻き付ける回転筒を備える絶縁紙巻回装置にて絶縁紙を筒状に巻回する絶縁紙巻回方法であって、
絶縁紙を前記回転筒まで案内するガイド部を、前記回転筒から離れた第2位置から、前記第2位置よりも前記回転筒に接近した第1位置に移動させ、
前記ガイド部を介して前記回転筒に絶縁紙を供給し、
前記ガイド部を前記第2位置に戻し、
前記回転筒を回転させる絶縁紙巻回方法。
発明の詳細な説明
【技術分野】
【0001】
本発明は、絶縁紙巻回装置及び絶縁紙巻回方法に関する。
続きを表示(約 1,300 文字)
【背景技術】
【0002】
変成器の生産工程は、例えば、絶縁紙で被覆された電線を巻回してコイルを製作する巻線工程、鉄心とコイルとを組み合わせる内装工程、鉄心が組み込まれたコイルを乾燥してケースに収納する組立工程、出荷検査を行う検査工程などを含む。組立工程においてコイルに巻回された電線の端末部を変成器の充電部などの外部の端子に接続するため、巻線工程では、コイルから口出線を導出する(特許文献1を参照)。
【先行技術文献】
【特許文献】
【0003】
特開平10-92681号公報
【発明の概要】
【発明が解決しようとする課題】
【0004】
上述したような変成器用の電線を絶縁紙で被覆する作業には、筒形状に巻かれた絶縁紙(以下、巻回体と称する)が用いられる。しかし、絶縁紙の巻回体を製造する作業は手作業にて行われ、作業性及び生産性が劣るうえに、製造コストが高くなるという問題がある。
【0005】
本発明は斯かる事情に鑑みてなされたものであり、変成器用絶縁紙の巻回体の製造を自動化できる絶縁紙巻回装置及び絶縁紙巻回方法を提供することを目的とする。
【課題を解決するための手段】
【0006】
本発明に係る絶縁紙巻回装置は、変成器用電線を被覆する絶縁紙を筒状に巻く絶縁紙巻回装置であって、絶縁紙の端部を挟んで回転して前記絶縁紙を外面に巻き付ける回転筒と、絶縁紙を前記回転筒まで案内するガイド部と、前記ガイド部を、前記回転筒に接近した第1位置と、前記第1位置よりも前記回転筒から離れた第2位置とに移動させる移動機構とを備える。
【0007】
本発明に係る絶縁紙巻回方法は、変成器用電線を被覆する絶縁紙の端部を挟んで回転して絶縁紙を外面に巻き付ける回転筒を備える絶縁紙巻回装置にて絶縁紙を筒状に巻回する絶縁紙巻回方法であって、絶縁紙を前記回転筒まで案内するガイド部を、前記回転筒から離れた第2位置から、前記第2位置よりも前記回転筒に接近した第1位置に移動させ、前記ガイド部を介して前記回転筒に絶縁紙を供給し、前記ガイド部を前記第2位置に戻し、前記回転筒を回転させる。
【発明の効果】
【0008】
本発明によれば、変成器用絶縁紙の巻回体の製造を自動化できる絶縁紙巻回装置及び絶縁紙巻回方法を提供できる。
【図面の簡単な説明】
【0009】
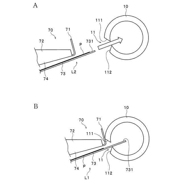
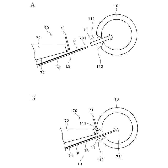
本実施形態に係る絶縁紙巻回装置の斜視図である。
本実施形態に係る絶縁紙巻回装置の回転筒、回転駆動部、保持台及び取り外し機構の配置を説明する斜視図である。
本実施形態に係る絶縁紙巻回装置の保持台の要部構成を示す縦断面図である。
本実施形態に係る絶縁紙巻回装置のガイド部及び移動機構を示す斜視図である。
ガイド部の第1位置及び第2位置を説明する説明図である。
本実施形態に係る絶縁紙巻回装置が絶縁紙を巻く動作を説明する説明図である。
【発明を実施するための形態】
【0010】
以下、本発明をその実施の形態を示す図面に基づいて説明する。
(【0011】以降は省略されています)
この特許をJ-PlatPat(特許庁公式サイト)で参照する
関連特許
株式会社ダイヘン
充電装置
3日前
株式会社ダイヘン
制御装置
3日前
株式会社ダイヘン
充電装置
3日前
株式会社ダイヘン
充電装置
3日前
株式会社ダイヘン
搬送装置
3日前
株式会社ダイヘン
充電装置
3日前
株式会社ダイヘン
電力変換装置
6日前
株式会社ダイヘン
電力システム
6日前
株式会社ダイヘン
回生ユニット
4日前
株式会社ダイヘン
固相接合装置
1か月前
株式会社ダイヘン
溶接電源装置
3日前
株式会社ダイヘン
パルス電源装置
3日前
株式会社ダイヘン
プラズマ発生器
14日前
株式会社ダイヘン
絶縁紙巻回装置
11日前
株式会社ダイヘン
インバータ装置
3日前
株式会社ダイヘン
変圧器組立装置
3日前
株式会社ダイヘン
パワーモジュール
3日前
株式会社ダイヘン
ロボットシステム
14日前
株式会社ダイヘン
ロボットシステム
11日前
株式会社ダイヘン
パワーモジュール
3日前
株式会社ダイヘン
パワーモジュール
3日前
株式会社ダイヘン
直流パルス電源装置
4日前
株式会社ダイヘン
アーク溶接システム
3日前
株式会社ダイヘン
制御装置及び研削システム
3日前
株式会社ダイヘン
サブマージアーク溶接システム
3日前
株式会社ダイヘン
サブマージアーク溶接システム
3日前
株式会社ダイヘン
通信システム、および、通信方法
4日前
株式会社ダイヘン
変圧器組立方法及び変圧器組立装置
3日前
株式会社ダイヘン
絶縁紙巻回装置及び絶縁紙巻回方法
11日前
株式会社ダイヘン
溶接検査装置、形状計測装置および外観検査装置
4日前
株式会社ダイヘン
搬送ロボットの教示システム、および搬送ロボットの教示方法
3日前
株式会社ダイヘン
搬送ロボットの教示システム、および搬送ロボットの教示方法
3日前
株式会社ダイヘン
フラットパネル製造システム及びそれに用いられるロボット制御装置
4日前
株式会社ダイヘン
フラットパネル製造システム及びそれに用いられるロボット制御装置
4日前
株式会社ダイヘン
フラットパネル製造システム及びそれに用いられるロボット制御装置
4日前
株式会社ダイヘン
フラットパネル製造システム及びそれに用いられるロボット制御装置
4日前
続きを見る
他の特許を見る