TOP
|
特許
|
意匠
|
商標
特許ウォッチ
Twitter
他の特許を見る
10個以上の画像は省略されています。
公開番号
2025150103
公報種別
公開特許公報(A)
公開日
2025-10-09
出願番号
2024050809
出願日
2024-03-27
発明の名称
フラットパネル製造システム及びそれに用いられるロボット制御装置
出願人
株式会社ダイヘン
代理人
個人
,
個人
,
個人
,
個人
,
個人
主分類
H01L
21/677 20060101AFI20251002BHJP(基本的電気素子)
要約
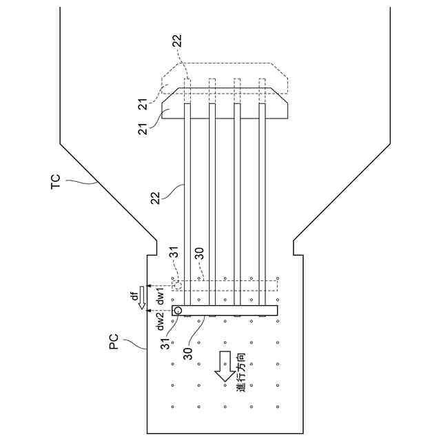
【課題】搬送ロボットがチャンバに向かって進入する進入角度を適切に把握することができるフラットパネル製造システム及びそれに用いられるロボット制御装置を提供することである。
【解決手段】フラットパネル製造システム1は、ロボット制御手段110によって搬送ロボット20の保持部22を動作させて第1チャンバTCから第2チャンバPCに向かって進入させながら、センサ装置30によって当該第2チャンバPC内部の壁面までの距離をセンシングするセンシング手段120と、センシング手段120によってセンシングされることにより取得された少なくとも2つの距離に関する情報に基づいて、搬送ロボット20が第2チャンバPCに進入する進入角度を算出する進入角度算出手段130と、を備える。
【選択図】図6
特許請求の範囲
【請求項1】
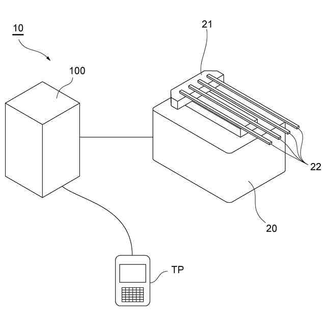
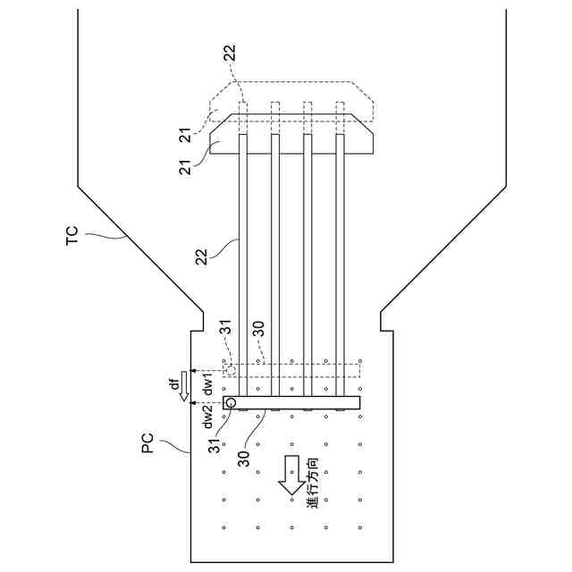
ワークを搬送する搬送ロボットと、当該搬送ロボットが配置されている第1チャンバと、当該第1チャンバの開口部に対向するように当該第1チャンバに隣接して配置される第2チャンバとを備え、フラットパネルを製造するフラットパネル製造システムであって、
前記ワークを保持する前記搬送ロボットの保持部の先端部に配置されるセンサ装置と、
前記搬送ロボットの動作を制御するロボット制御手段と、
前記ロボット制御手段によって前記搬送ロボットの保持部を動作させて前記第1チャンバから前記第2チャンバに向かって進入させながら、前記センサ装置によって当該第2チャンバ内部の壁面までの距離をセンシングするセンシング手段と、
前記センシング手段によってセンシングされることにより取得された少なくとも2つの前記距離に関する情報に基づいて、前記搬送ロボットが前記第2チャンバに進入する進入角度を算出する進入角度算出手段と、を備える、
フラットパネル製造システム。
続きを表示(約 1,400 文字)
【請求項2】
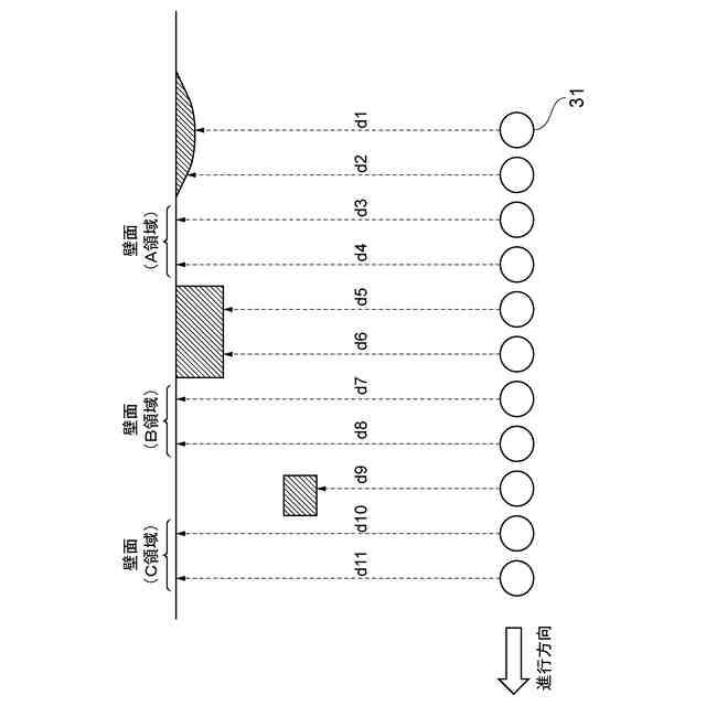
前記センサ装置は、前記搬送ロボットの保持部の進行方向に対して直交方向であって、かつ水平方向である少なくとも一方向における前記第2チャンバ内部の壁面までの距離をセンシング可能な測距センサを含む、
請求項1に記載のフラットパネル製造システム。
【請求項3】
前記進入角度算出手段は、前記センシング手段によってセンシングされることにより取得された距離の変化が第1期間において閾値以下である前記距離に関する情報に基づいて、前記搬送ロボットが前記第2チャンバに進入する進入角度を算出する、
請求項2に記載のフラットパネル製造システム。
【請求項4】
前記進入角度算出手段は、第2期間において前記センシング手段によってセンシングされることにより取得された距離が当該第2期間の前後の所定期間において取得された距離よりも大きい場合、当該第2期間において前記センシング手段によってセンシングされることにより取得された距離に関する情報に基づいて、前記搬送ロボットが前記第2チャンバに進入する進入角度を算出する、
請求項2又は3に記載のフラットパネル製造システム。
【請求項5】
前記センサ装置は、前記一方向と反対方向における前記第2チャンバ内部の壁面までの距離をセンシング可能な測距センサを含み、
前記センシング手段によってセンシングされることにより取得された前記一方向及び前記反対方向における前記第2チャンバ内部の壁面までの距離に関する情報に基づいて、前記搬送ロボットが前記第2チャンバに進入する位置を算出する進入位置算出手段を、さらに備える、
請求項2に記載のフラットパネル製造システム。
【請求項6】
前記進入角度算出手段によって算出された進入角度に基づいて、前記第2チャンバ内において前記搬送ロボットが到達する目標位置を推定する目標位置推定手段を、さらに備える、
請求項1に記載のフラットパネル製造システム。
【請求項7】
前記センサ装置は、前記搬送ロボットの保持部の進行方向に沿った方向であって、かつ水平方向である少なくとも2ヶ所における前記第2チャンバ内部の壁面までの距離をセンシング可能な測距センサを含む、
請求項1に記載のフラットパネル製造システム。
【請求項8】
フラットパネルを製造するフラットパネル製造システムに用いられる搬送ロボットの動作を制御するロボット制御装置であって、
前記搬送ロボットの動作を制御するロボット制御手段と、
前記ロボット制御手段によって前記搬送ロボットの保持部を動作させて前記搬送ロボットが配置されている第1チャンバから当該第1チャンバの開口部に対向するように当該第1チャンバに隣接して配置される第2チャンバに向かって進入させながら、前記搬送ロボットの保持部の先端部に配置されるセンサ装置によって当該第2チャンバ内部の壁面までの距離をセンシングするセンシング手段と、
前記センシング手段によってセンシングされることにより取得された少なくとも2つの前記距離に関する情報に基づいて、前記搬送ロボットが前記第2チャンバに進入する進入角度を算出する進入角度算出手段と、を備える、
ロボット制御装置。
発明の詳細な説明
【技術分野】
【0001】
本発明は、フラットパネル製造システム及びそれに用いられるロボット制御装置に関する。
続きを表示(約 1,800 文字)
【背景技術】
【0002】
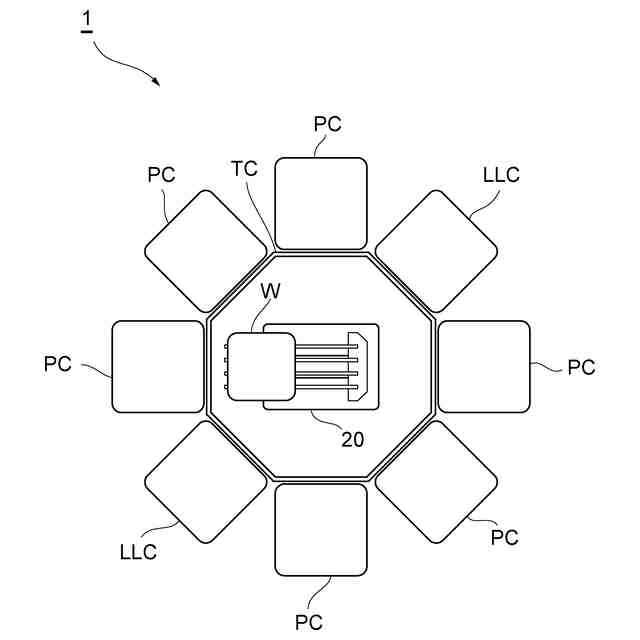
近年、産業界において、多くの産業用ロボットが普及している。例えば、液晶ディスプレイや有機ELディスプレイなどのフラットパネルディスプレイ(FPD:Flat Panel Display)を含む大型のフラットパネル用のガラス基板に対して処理を行うための大型の製造システムがある。
【0003】
このような大型の製造システムでは、ガラス基板などのワークに対して種々の処理を行うために、各処理に対応するプロセスチャンバが複数配置されている。さらに、搬送ロボット(搬送装置)がトランスファチャンバに配置されており、当該搬送ロボット(搬送装置)によって、各プロセスチャンバにおける所望の位置へワークが搬送される。
【0004】
特許文献1では、搬送装置は、支持ピックの先端に光学センサを備えて、搬送室において当該支持ピックを上方移動させながら先端方向に光を照射することによって、搬送室とロードロック室との間の開口部の上端位置を特定している。また、ロードロック室において、支持ピックを上方移動/回転移動させながら先端方向/下方向に光を照射することによって、バッファ(溝)の上端位置/側壁位置を特定している。そして、特定された開口部の上端位置やバッファ(溝)の上端位置/側壁位置に基づいて、搬送装置の動作が補正される。このように、特許文献1では、搬送装置の動作位置に関する調整を自動的に行っている。
【先行技術文献】
【特許文献】
【0005】
特開2019-220588号公報
【発明の概要】
【発明が解決しようとする課題】
【0006】
しかしながら、そもそもトランスファチャンバとプロセスチャンバとが真っ直ぐに高精度に設置されていない可能性がある。例えば、プロセスチャンバがトランスファチャンバに対して傾いて設置されていた場合、トランスファチャンバに配置されている搬送装置がプロセスチャンバに向かって進入したとしても、当該プロセスチャンバ内部を傾いて進行することになる。
【0007】
そこで、本発明は、搬送ロボットがチャンバに向かって進入する進入角度を適切に把握することができるフラットパネル製造システム及びそれに用いられるロボット制御装置を提供することを目的とする。
【課題を解決するための手段】
【0008】
本発明の一態様に係るフラットパネル製造システムは、ワークを搬送する搬送ロボットと、当該搬送ロボットが配置されている第1チャンバと、当該第1チャンバの開口部に対向するように当該第1チャンバに隣接して配置される第2チャンバとを備え、フラットパネルを製造するフラットパネル製造システムであって、ワークを保持する搬送ロボットの保持部の先端部に配置されるセンサ装置と、搬送ロボットの動作を制御するロボット制御手段と、ロボット制御手段によって搬送ロボットの保持部を動作させて第1チャンバから第2チャンバに向かって進入させながら、センサ装置によって当該第2チャンバ内部の壁面までの距離をセンシングするセンシング手段と、センシング手段によってセンシングされることにより取得された少なくとも2つの距離に関する情報に基づいて、搬送ロボットが第2チャンバに進入する進入角度を算出する進入角度算出手段と、を備える。
【0009】
この態様によれば、センサ装置は、搬送ロボットの保持部の先端部に配置され、センシング手段は、搬送ロボットの保持部を動作させて第1チャンバから第2チャンバに向かって進入させながら、センサ装置によって当該第2チャンバ内部の壁面までの距離をセンシングする。そして、進入角度算出手段は、センシング手段によってセンシングされることにより取得された少なくとも2つの距離に関する情報に基づいて進入角度を算出する。これにより、ワークを保持する保持部が第2チャンバに向かって進入する進入角度を適切に把握することができる。
【0010】
上記態様において、センサ装置は、搬送ロボットの保持部の進行方向に対して直交方向であって、かつ水平方向である少なくとも一方向における第2チャンバ内部の壁面までの距離をセンシング可能な測距センサを含んでもよい。
(【0011】以降は省略されています)
この特許をJ-PlatPat(特許庁公式サイト)で参照する
関連特許
株式会社ダイヘン
充電装置
8日前
株式会社ダイヘン
制御装置
8日前
株式会社ダイヘン
充電装置
8日前
株式会社ダイヘン
充電装置
8日前
株式会社ダイヘン
搬送装置
8日前
株式会社ダイヘン
充電装置
8日前
株式会社ダイヘン
電力変換装置
11日前
株式会社ダイヘン
電力システム
11日前
株式会社ダイヘン
回生ユニット
9日前
株式会社ダイヘン
固相接合装置
1か月前
株式会社ダイヘン
溶接電源装置
8日前
株式会社ダイヘン
インバータ装置
8日前
株式会社ダイヘン
インバータ装置
3日前
株式会社ダイヘン
絶縁紙巻回装置
16日前
株式会社ダイヘン
プラズマ発生器
19日前
株式会社ダイヘン
変圧器組立装置
8日前
株式会社ダイヘン
パルス電源装置
8日前
株式会社ダイヘン
ロボットシステム
16日前
株式会社ダイヘン
ロボットシステム
19日前
株式会社ダイヘン
パワーモジュール
8日前
株式会社ダイヘン
パワーモジュール
8日前
株式会社ダイヘン
パワーモジュール
8日前
株式会社ダイヘン
アーク溶接システム
8日前
株式会社ダイヘン
直流パルス電源装置
9日前
株式会社ダイヘン
制御装置及び研削システム
8日前
株式会社ダイヘン
サブマージアーク溶接システム
8日前
株式会社ダイヘン
サブマージアーク溶接システム
8日前
株式会社ダイヘン
通信システム、および、通信方法
9日前
株式会社ダイヘン
充電装置、および、電力システム
1日前
株式会社ダイヘン
変圧器組立方法及び変圧器組立装置
8日前
株式会社ダイヘン
絶縁紙巻回装置及び絶縁紙巻回方法
16日前
株式会社ダイヘン
溶接検査装置、形状計測装置および外観検査装置
9日前
株式会社ダイヘン
搬送ロボットの教示システム、および搬送ロボットの教示方法
8日前
株式会社ダイヘン
搬送ロボットの教示システム、および搬送ロボットの教示方法
8日前
株式会社ダイヘン
フラットパネル製造システム及びそれに用いられるロボット制御装置
9日前
株式会社ダイヘン
フラットパネル製造システム及びそれに用いられるロボット制御装置
9日前
続きを見る
他の特許を見る