TOP
|
特許
|
意匠
|
商標
特許ウォッチ
Twitter
他の特許を見る
10個以上の画像は省略されています。
公開番号
2025171810
公報種別
公開特許公報(A)
公開日
2025-11-20
出願番号
2024077498
出願日
2024-05-10
発明の名称
蓄電装置
出願人
株式会社GSユアサ
代理人
個人
主分類
H01M
50/583 20210101AFI20251113BHJP(基本的電気素子)
要約
【課題】ヒューズ部を備える蓄電装置であって、信頼性が向上した蓄電装置を提供する。
【解決手段】蓄電装置1は、蓄電素子と、蓄電素子に電気的に接続されたバスバー100と、バスバーに取り付けられた補強部材200と、を備え、バスバーは、バスバーが延びる方向である第一方向において並ぶ、ヒューズ部110とヒューズ部以外の部分とを備え、ヒューズ部の断面積は、ヒューズ部以外の部分の断面積より小さく、補強部材は、第一方向におけるヒューズ部の両側に固定部230を備える。
【選択図】図6
特許請求の範囲
【請求項1】
蓄電素子と、
前記蓄電素子に電気的に接続されたバスバーと、
前記バスバーに取り付けられた第一補強部材と、を備え、
前記バスバーは、前記バスバーが延びる方向である第一方向において並ぶ、ヒューズ部と前記ヒューズ部以外の部分とを備え、
前記ヒューズ部の断面積は、前記ヒューズ部以外の部分の断面積より小さく、
前記第一補強部材は、前記第一方向における前記ヒューズ部の両側に、前記バスバーと接合された第一固定部を備える、
蓄電装置。
続きを表示(約 760 文字)
【請求項2】
前記第一補強部材は、第一部材と第二部材とを備え、
前記バスバーは、前記第一方向と交差する第二方向において前記第一部材と前記第二部材との間に配置され、
前記第一部材は、前記第二部材に向けて突出する突起を備え、
前記バスバーは、前記突起が貫通する貫通孔を備え、
前記第二部材は、前記突起が挿入される開口部を備える、
請求項1に記載の蓄電装置。
【請求項3】
前記第一固定部は、前記貫通孔の内面及び前記開口部の内面と、前記突起の外面とが接合された部分を含む、
請求項2に記載の蓄電装置。
【請求項4】
前記第一補強部材は、2つの前記第一固定部の間に配置され、前記ヒューズ部を覆うカバー部を備える、
請求項1~3のいずれか一項に記載の蓄電装置。
【請求項5】
さらに、第二補強部材を備え、
前記第二補強部材は、前記第一方向における前記ヒューズ部の両側に第二固定部を備え、
前記第二固定部は、接続部材を用いて前記バスバーと固定されている、
請求項1~3のいずれか一項に記載の蓄電装置。
【請求項6】
蓄電素子と、
前記蓄電素子に電気的に接続されたバスバーと、
前記バスバーに取り付けられた補強部材と、を備え、
前記バスバーは、前記バスバーが延びる方向である第一方向において並ぶ、ヒューズ部と前記ヒューズ部以外の部分とを備え、
前記ヒューズ部の断面積は、前記ヒューズ部以外の部分の断面積より小さく、
前記補強部材は、前記第一方向における前記ヒューズ部の両側に接続部材を用いて前記バスバーと固定された固定部を備える、
蓄電装置。
発明の詳細な説明
【技術分野】
【0001】
本発明は、蓄電装置に関する。
続きを表示(約 2,000 文字)
【背景技術】
【0002】
特許文献1には、例えば車両の電気接続箱のヒューズ用キャビティ等に用いられる音叉端子が開示されている。音叉端子のスロットに挟持接続されるヒューズは、ヒューズエレメントと、上ケースと、下ケースと、を備える。ヒューズエレメントには、一対の平板端子部における平行な内側縁の間に、可溶部を有する略帯状の帯状連結部が設けられている。下ケースのヒューズ装着面には、4つの固定柱が突設されている。これら固定柱は、下ケースがヒューズエレメントの裏面側に装着されると、一対の平板端子部のそれぞれに形成された貫通孔を貫通する。更に、上ケースが平板端子部の内側縁及び可溶部を覆うように、ヒューズエレメントの表面側に装着されると、固定柱の挿入先端が上ケースの貫通孔に挿入される。
【先行技術文献】
【特許文献】
【0003】
特開2013-89384号公報
【発明の概要】
【発明が解決しようとする課題】
【0004】
上記従来の音叉端子によれば、上ケース及び下ケースと、一対の平板端子部とは、下ケースの固定柱が一対の平板端子部の貫通孔に挿入されていることで機械的に接続されている。この場合、例えば、振動または衝撃に起因して、一対の平板端子部が、互いに離れる方向及び/または互いに近づく方向に変位しようとした場合、固定柱は、平板端子部から、固定柱の延びる方向と直交する方向の力を直接的に受ける。つまり、固定柱に変形を生じさせやすい方向の力が、平板端子部から固定柱に直接的に与えられる。これにより、帯状連結部が伸縮し、その結果、帯状連結部に予期せぬ損傷が生じるおそれがある。
【0005】
本発明は、本願発明者が上記課題に新たに着目することによってなされたものであり、ヒューズ部を備える蓄電装置であって、信頼性が向上された蓄電装置を提供することを目的とする。
【課題を解決するための手段】
【0006】
本発明の一態様に係る蓄電装置は、蓄電素子と、前記蓄電素子に電気的に接続されたバスバーと、前記バスバーに取り付けられた第一補強部材と、を備え、前記バスバーは、前記バスバーが延びる方向である第一方向において並ぶ、ヒューズ部と前記ヒューズ部以外の部分とを備え、前記ヒューズ部の断面積は、前記ヒューズ部以外の部分の断面積より小さく、前記第一補強部材は、前記第一方向における前記ヒューズ部の両側に、前記バスバーと接合された第一固定部を備える。
【0007】
本発明の他の一態様に係る蓄電装置は、蓄電素子と、前記蓄電素子に電気的に接続されたバスバーと、前記バスバーに取り付けられた補強部材と、を備え、前記バスバーは、前記バスバーが延びる方向である第一方向において並ぶ、ヒューズ部と前記ヒューズ部以外の部分とを備え、前記ヒューズ部の断面積は、前記ヒューズ部以外の部分の断面積より小さく、前記補強部材は、前記第一方向における前記ヒューズ部の両側に接続部材を用いて前記バスバーと固定された固定部を備える。
【発明の効果】
【0008】
本発明によれば、ヒューズ部を備える蓄電装置であって、信頼性が向上された蓄電装置を提供できる。
【図面の簡単な説明】
【0009】
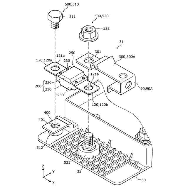
図1は、実施の形態1に係る蓄電装置の外観を示す斜視図である。
図2は、実施の形態1に係る蓄電装置の分解斜視図である。
図3は、実施の形態1に係るバスバーユニットの構成を示す斜視図である。
図4は、実施の形態1に係るバスバー及びその周辺の構成を示す分解斜視図である。
図5は、実施の形態1に係るバスバー及び第一補強部材の構成を示す分解斜視図である。
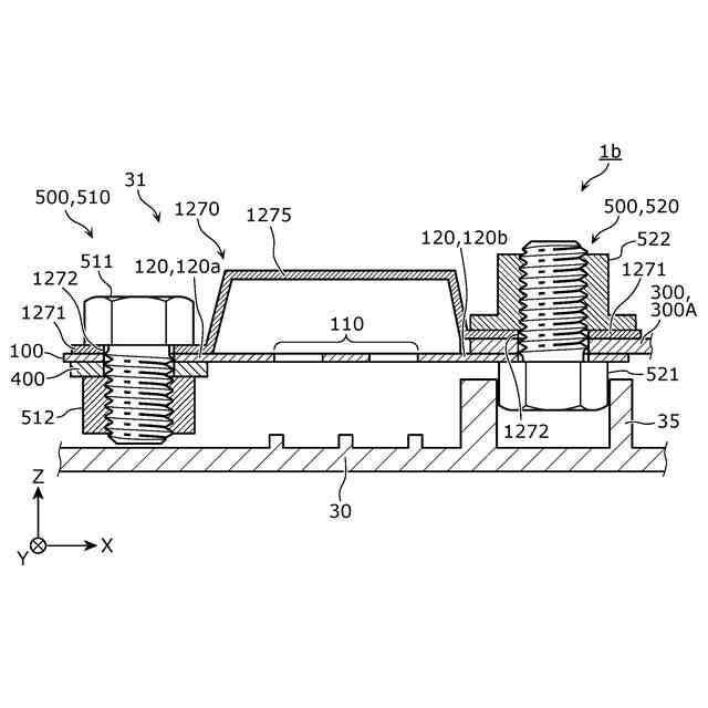
図6は、実施の形態1に係るバスバー及びその周辺の構成を示す断面図である。
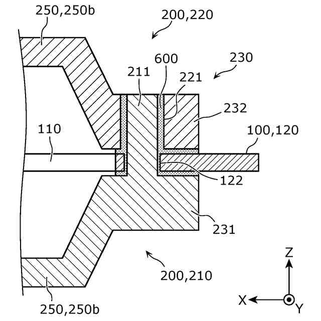
図7は、実施の形態1に係る第一補強部材の突起及びその周辺の構成を示す断面図である。
図8は、実施の形態1の変形例に係るバスバー及びその周辺の構成を示す断面図である。
図9は、実施の形態2に係るバスバー及びその周辺の構成を示す断面図である。
【発明を実施するための形態】
【0010】
(1)本発明の一態様に係る蓄電装置は、蓄電素子と、前記蓄電素子に電気的に接続されたバスバーと、前記バスバーに取り付けられた第一補強部材と、を備え、前記バスバーは、前記バスバーが延びる方向である第一方向において並ぶ、ヒューズ部と前記ヒューズ部以外の部分とを備え、前記ヒューズ部の断面積は、前記ヒューズ部以外の部分の断面積より小さく、前記第一補強部材は、前記第一方向における前記ヒューズ部の両側に、前記バスバーと接合された第一固定部を備える。
(【0011】以降は省略されています)
この特許をJ-PlatPat(特許庁公式サイト)で参照する
関連特許
株式会社GSユアサ
蓄電設備
1か月前
株式会社GSユアサ
蓄電設備
1か月前
株式会社GSユアサ
鉛蓄電池
1か月前
株式会社GSユアサ
蓄電装置
今日
株式会社GSユアサ
蓄電装置
28日前
株式会社GSユアサ
PCS盤
1か月前
株式会社GSユアサ
蓄電装置
1か月前
株式会社GSユアサ
蓄電装置
22日前
株式会社GSユアサ
蓄電装置
22日前
株式会社GSユアサ
蓄電装置
14日前
株式会社GSユアサ
蓄電装置
8日前
株式会社GSユアサ
蓄電バンクの監視システム
13日前
株式会社GSユアサ
鉛蓄電池用極板及び鉛蓄電池
1か月前
株式会社GSユアサ
鉛蓄電池用極板及び鉛蓄電池
1か月前
株式会社GSユアサ
電力変換器、充電装置及び車両
1か月前
株式会社GSユアサ
非水電解質蓄電素子及びその製造方法
15日前
株式会社GSユアサ
非水電解質蓄電素子及びその使用方法
1日前
株式会社GSユアサ
デバイス装置、エネルギー貯蔵システム
13日前
株式会社GSユアサ
全固体蓄電素子及び全固体蓄電素子の製造方法
1か月前
株式会社GSユアサ
電力変換器、多脚トランス、充電装置及び車両
1か月前
株式会社GSユアサ
エネルギー貯蔵システム、蓄電バンクの初期充電方法
1か月前
株式会社GSユアサ
非水電解質蓄電素子、その使用方法及びその製造方法
1か月前
株式会社GSユアサ
電力変換器、電力変換器の制御方法、充電装置及び車両
1か月前
株式会社GSユアサ
蓄電素子用の正極活物質、蓄電素子用の正極及び蓄電素子
1か月前
株式会社GSユアサ
蓄電素子
1か月前
株式会社GSユアサ
鉛蓄電池用正極集電体、および鉛蓄電池用集電体の製造方法
1か月前
株式会社GSユアサ
エネルギー貯蔵システム、蓄電池盤の満充電容量計測方法。
1か月前
株式会社GSユアサ
蓄電システム
2日前
株式会社GSユアサ
蓄電情報処理方法、コンピュータプログラム及び蓄電情報処理装置
1か月前
株式会社GSユアサ
充放電ステーション
1か月前
株式会社GSユアサ
情報処理装置及び端末装置
1か月前
株式会社GSユアサ
蓄電装置、組電池の異常検出方法
1か月前
株式会社GSユアサ
硫化物固体電解質及び全固体電池
23日前
株式会社GSユアサ
蓄電装置、電流遮断装置の制御方法
今日
株式会社GSユアサ
電力変換器、充電装置、車両、電源装置、力率改善回路、DC-DCコンバータおよびインバータ
1か月前
株式会社GSユアサ
充放電システム、及び、充放電システムの制御方法
1か月前
続きを見る
他の特許を見る