TOP
|
特許
|
意匠
|
商標
特許ウォッチ
Twitter
他の特許を見る
公開番号
2025176608
公報種別
公開特許公報(A)
公開日
2025-12-04
出願番号
2024082881
出願日
2024-05-21
発明の名称
全固体蓄電素子及び全固体蓄電素子の製造方法
出願人
株式会社GSユアサ
代理人
個人
,
個人
,
個人
,
個人
主分類
H01M
10/056 20100101AFI20251127BHJP(基本的電気素子)
要約
【課題】水素化物系リチウムイオン伝導体を含む層を備える全固体蓄電素子であって、生産性が高い全固体蓄電素子、及びこのような全固体蓄電素子の製造方法を提供する。
【解決手段】水素化物系リチウムイオン伝導体、バインダ、及び20℃1気圧下において液体である脂肪族炭化水素を含む層を備える全固体蓄電素子である。
【選択図】図1
特許請求の範囲
【請求項1】
水素化物系リチウムイオン伝導体、バインダ、及び20℃1気圧下において液体である脂肪族炭化水素を含む層を備える、全固体蓄電素子。
続きを表示(約 340 文字)
【請求項2】
上記層が硫化物固体電解質をさらに含む、請求項1に記載の全固体蓄電素子。
【請求項3】
上記脂肪族炭化水素が鎖状飽和炭化水素である、請求項1又は請求項2に記載の全固体蓄電素子。
【請求項4】
上記脂肪族炭化水素の1気圧下における沸点が160℃以上である、請求項1又は請求項2に記載の全固体蓄電素子。
【請求項5】
上記水素化物系リチウムイオン伝導体が水素化ホウ素リチウムを含む、請求項1又は請求項2に記載の全固体蓄電素子。
【請求項6】
水素化物系リチウムイオン伝導体、バインダ、及び20℃1気圧下において液体である脂肪族炭化水素を含むスラリーを用いて層を形成することを備える、全固体蓄電素子の製造方法。
発明の詳細な説明
【技術分野】
【0001】
本発明は、全固体蓄電素子及び全固体蓄電素子の製造方法に関する。
続きを表示(約 1,400 文字)
【背景技術】
【0002】
リチウムイオン二次電池に代表される非水電解質二次電池は、エネルギー密度の高さから、パーソナルコンピュータ、通信端末等の電子機器、自動車等に多用されている。非水電解質二次電池は、一般的には、電気的に隔離された一対の電極と、この電極間に介在する非水電解質とを有し、両電極間で電荷輸送イオンの受け渡しを行うことで充放電するよう構成される。非水電解質二次電池以外の蓄電素子として、リチウムイオンキャパシタ、電気二重層キャパシタ等のキャパシタも広く普及している。
【0003】
近年、非水電解質として、有機溶媒等の液体に電解質塩が溶解された非水電解液に替えて、固体電解質が用いられた全固体蓄電素子が提案されている。特許文献1には、水素化物固体電解質が用いられた全固体電池の発明が記載されている。なお、以下、リチウムイオン伝導性を有する水素化物固体電解質を水素化物系リチウムイオン伝導体と称する。
【先行技術文献】
【特許文献】
【0004】
特開2012-209106号公報
【発明の概要】
【発明が解決しようとする課題】
【0005】
全固体蓄電素子は、通常、正極活物質層、負極活物質層、及びこれらの層の間に設けられる隔離層等を備え、これらの層の少なくともいずれかに固体電解質が含有される。全固体蓄電素子の製造においては、生産性等を考慮すると、固体電解質を含む層をスラリーの塗工により形成できることが望ましい。また、水素化物系リチウムイオン伝導体は、硫化物固体電解質等と比べて密度が低く、全固体蓄電素子を軽量化できる等の利点を有する。そこで発明者らは、固体電解質として水素化物系リチウムイオン伝導体を含むスラリーの調製を試みたが、流動性を有する良好なスラリーの調製が困難であった。このように、水素化物系リチウムイオン伝導体が用いられた全固体蓄電素子の生産性を高めることは容易ではない。
【0006】
本発明の目的は、水素化物系リチウムイオン伝導体を含む層を備える全固体蓄電素子であって、生産性が高い全固体蓄電素子、及びこのような全固体蓄電素子の製造方法を提供することである。
【課題を解決するための手段】
【0007】
本発明の一側面に係る全固体蓄電素子は、水素化物系リチウムイオン伝導体、バインダ、及び20℃1気圧下において液体である脂肪族炭化水素を含む層を備える。
【0008】
本発明の他の一側面に係る全固体蓄電素子の製造方法は、水素化物系リチウムイオン伝導体、バインダ、及び20℃1気圧下において液体である脂肪族炭化水素を含むスラリーを用いて層を形成することを備える。
【発明の効果】
【0009】
本発明のいずれかの一側面によれば、水素化物系リチウムイオン伝導体を含む層を備える全固体蓄電素子であって、生産性が高い全固体蓄電素子、及びこのような全固体蓄電素子の製造方法を提供することができる。
【図面の簡単な説明】
【0010】
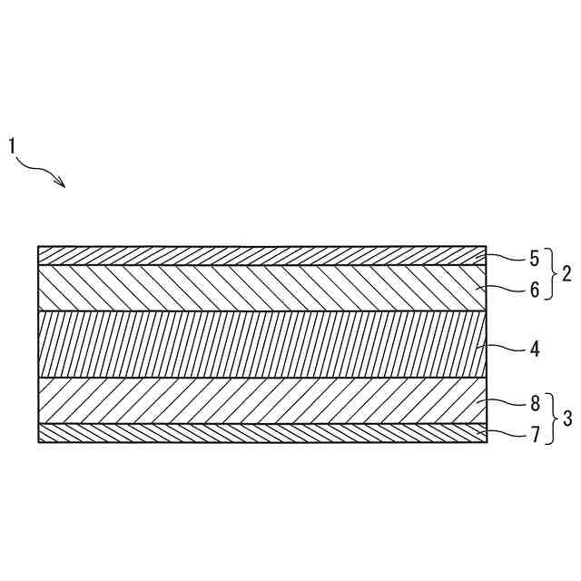
図1は、本発明の全固体蓄電素子の一実施形態である全固体電池を示す模式的断面図である。
図2は、複数の本発明の一実施形態に係る全固体蓄電素子を備える蓄電装置を示す概略図である。
【発明を実施するための形態】
(【0011】以降は省略されています)
この特許をJ-PlatPat(特許庁公式サイト)で参照する
関連特許
株式会社GSユアサ
蓄電装置
18日前
株式会社GSユアサ
蓄電装置
10日前
株式会社GSユアサ
非水電解質蓄電素子及びその使用方法
19日前
株式会社GSユアサ
非水ゲル電解質、及び非水電解質蓄電素子
3日前
株式会社GSユアサ
全固体蓄電素子及び全固体蓄電素子の製造方法
4日前
株式会社GSユアサ
蓄電システム
20日前
株式会社GSユアサ
硫化物固体電解質及び全固体電池
12日前
株式会社GSユアサ
蓄電装置、電流遮断装置の制御方法
18日前
株式会社GSユアサ
情報処理方法、情報処理装置、及びコンピュータプログラム
10日前
APB株式会社
蓄電セル
1か月前
日機装株式会社
加圧装置
3日前
マクセル株式会社
電源装置
1か月前
株式会社東芝
端子台
1か月前
日新イオン機器株式会社
イオン源
3日前
三菱電機株式会社
回路遮断器
26日前
株式会社GSユアサ
蓄電装置
1か月前
株式会社GSユアサ
蓄電装置
1か月前
株式会社GSユアサ
蓄電装置
1か月前
富士電機株式会社
電磁接触器
18日前
株式会社GSユアサ
蓄電装置
18日前
株式会社トクミ
ケーブル
4日前
個人
電源ボックス及び電子機器
3日前
日本特殊陶業株式会社
保持装置
1か月前
株式会社東芝
電子源
3日前
トヨタ自動車株式会社
蓄電装置
1か月前
大電株式会社
電線又はケーブル
10日前
日新イオン機器株式会社
基板処理装置
1か月前
トヨタ自動車株式会社
蓄電装置
10日前
ホシデン株式会社
複合コネクタ
12日前
トヨタ自動車株式会社
バッテリ
1か月前
北道電設株式会社
配電具カバー
1か月前
ヒロセ電機株式会社
電気コネクタ
18日前
住友電装株式会社
コネクタ
18日前
日亜化学工業株式会社
半導体レーザ素子
1か月前
ローム株式会社
半導体モジュール
19日前
日本無線株式会社
レーダアンテナ
1か月前
続きを見る
他の特許を見る