TOP
|
特許
|
意匠
|
商標
特許ウォッチ
Twitter
他の特許を見る
10個以上の画像は省略されています。
公開番号
2025171729
公報種別
公開特許公報(A)
公開日
2025-11-20
出願番号
2024077362
出願日
2024-05-10
発明の名称
コネクタ
出願人
住友電装株式会社
代理人
個人
,
個人
主分類
H01R
13/703 20060101AFI20251113BHJP(基本的電気素子)
要約
【課題】大型化を抑制しながらインターロック部材の脱落を強固に抑制可能としたコネクタを提供すること。
【解決手段】コネクタ10は、相手側コネクタに対して第1軸線Xに沿った嵌合方向X1に相対移動されることで相手側コネクタに嵌合可能なコネクタハウジング30と、コネクタハウジング30に組み付けられるインターロック部材60と、コネクタハウジング30に組み付けられるシールドシェル40とを備える。シールドシェル40は、インターロック部材60のコネクタハウジング30からの脱落を防止すべく、インターロック部材60と係合する係合部44を有する。
【選択図】図11
特許請求の範囲
【請求項1】
相手側コネクタに対して第1軸線に沿った嵌合方向に相対移動されることで前記相手側コネクタに嵌合可能なコネクタハウジングと、
前記コネクタハウジングに組み付けられるインターロック部材と、
前記コネクタハウジングに組み付けられるシールドシェルと、を備えるコネクタであって、
前記シールドシェルは、前記インターロック部材の前記コネクタハウジングからの脱落を防止すべく、前記インターロック部材と係合する係合部を有する、
コネクタ。
続きを表示(約 660 文字)
【請求項2】
前記インターロック部材は、前記コネクタハウジングに対して前記第1軸線と交差するインターロック組付方向に相対移動されることで前記コネクタハウジングに組み付け可能とされ、
前記シールドシェルは、前記インターロック部材が前記コネクタハウジングに組み付けられた状態で、前記コネクタハウジングに対して前記第1軸線に沿ったシェル組付方向に相対移動されることで前記コネクタハウジングに組み付け可能とされ、
前記係合部は、前記インターロック組付方向の反対方向であるインターロック組付反対方向への前記インターロック部材の移動を阻止するように前記インターロック部材と係合する、
請求項1に記載のコネクタ。
【請求項3】
前記シールドシェルは、板材からなり、
前記係合部は、前記シールドシェルの板厚に沿った方向と直交する方向の端面で前記インターロック部材と係合する、
請求項1に記載のコネクタ。
【請求項4】
前記インターロック部材は、弾性変形することで前記コネクタハウジングへの組み付けを許容するとともに、前記コネクタハウジングに組み付けられた状態を保持する弾性保持爪を有する、
請求項1に記載のコネクタ。
【請求項5】
前記シールドシェルは、前記インターロック部材を挟む位置に2つ配置され、
前記シールドシェルにおける各々の前記係合部は、前記インターロック部材の両側と係合する、
請求項1に記載のコネクタ。
発明の詳細な説明
【技術分野】
【0001】
本開示は、コネクタに関するものである。
続きを表示(約 2,100 文字)
【背景技術】
【0002】
従来、コネクタとしては、相手側コネクタに嵌合可能な樹脂製のコネクタハウジングと、コネクタハウジングに組み付けられるシールドシェルと、コネクタハウジングに組み付けられるインターロック部材とを備えたものがある(例えば、特許文献1参照)。インターロック部材は、ループ端子と該ループ端子を保持する端子ケースとを有する。そして、インターロック部材は、弾性保持爪等のロック機構によって端子ケースがコネクタハウジングに組み付けられている。インターロック部材のループ端子は、コネクタが相手側コネクタに正常に嵌合された状態で、相手側コネクタの一対の端子と接続されるとともにそれら一対の端子を短絡させる。
【先行技術文献】
【特許文献】
【0003】
特開2013-161576号公報
【発明の概要】
【発明が解決しようとする課題】
【0004】
ところで、上記のようなコネクタでは、インターロック部材がコネクタハウジングに弾性保持爪等のロック機構によって組み付けられているだけであるため、インターロック部材がコネクタハウジングから脱落し易いという問題があった。そこで、例えば、大型の弾性保持爪を設けたり、別途、リテーナを組み付けたりすることによって、インターロック部材の脱落を抑制する構成が考えられる。しかし、それらの場合ではコネクタが大型化してしまう。
【0005】
本開示の目的は、大型化を抑制しながらインターロック部材の脱落を強固に抑制可能としたコネクタを提供することにある。
【課題を解決するための手段】
【0006】
本開示のコネクタは、相手側コネクタに対して第1軸線に沿った嵌合方向に相対移動されることで前記相手側コネクタに嵌合可能なコネクタハウジングと、前記コネクタハウジングに組み付けられるインターロック部材と、前記コネクタハウジングに組み付けられるシールドシェルと、を備えるコネクタであって、前記シールドシェルは、前記インターロック部材の前記コネクタハウジングからの脱落を防止すべく、前記インターロック部材と係合する係合部を有する。
【発明の効果】
【0007】
本開示のコネクタによれば、大型化を抑制しながらインターロック部材の脱落を強固に抑制できる。
【図面の簡単な説明】
【0008】
図1は、一実施形態におけるコネクタと相手側コネクタの斜視図である。
図2は、一実施形態におけるコネクタの一部分解斜視図である。
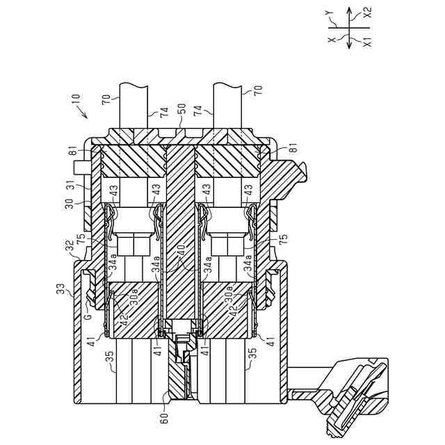
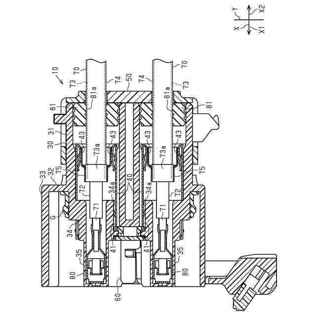
図3は、一実施形態におけるコネクタの断面図である。
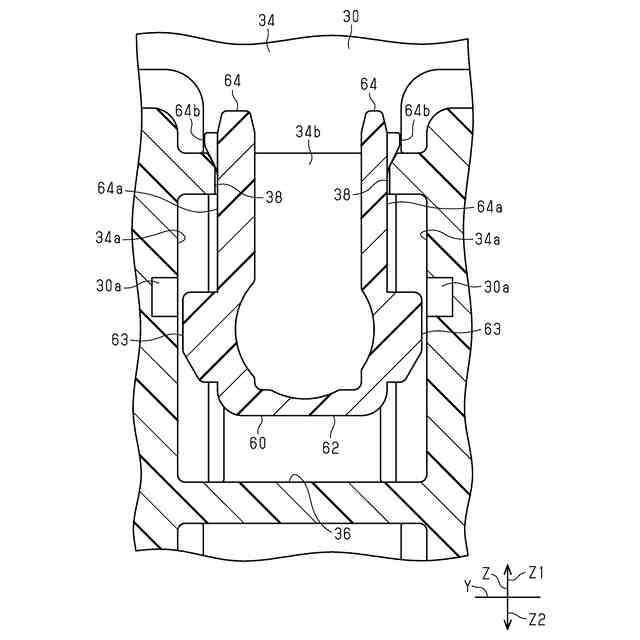
図4は、一実施形態におけるコネクタの断面図である。
図5は、一実施形態におけるインターロック部材の斜視図である。
図6は、一実施形態におけるコネクタの組み付け手順を説明するための一部拡大斜視図である。
図7は、一実施形態におけるコネクタの組み付け手順を説明するための一部拡大斜視図である。
図8は、一実施形態におけるコネクタの組み付け手順を説明するための一部拡大断面図である。
図9は、一実施形態におけるコネクタの組み付け手順を説明するための一部拡大斜視図である。
図10は、一実施形態におけるコネクタの組み付け手順を説明するための一部拡大断面図である。
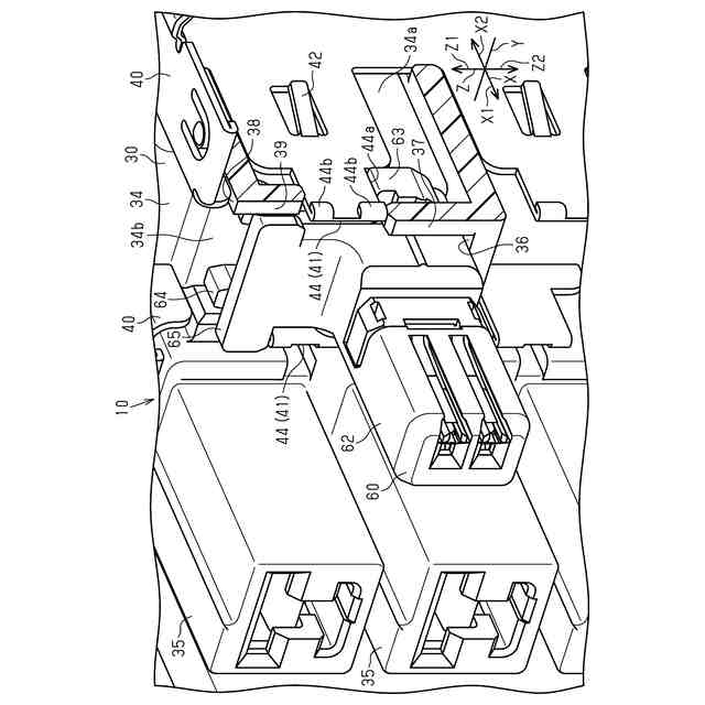
図11は、一実施形態におけるコネクタの一部拡大斜視図である。
図12は、一実施形態におけるコネクタの一部拡大断面図である。
図13は、一実施形態におけるコネクタの一部拡大断面図である。
【発明を実施するための形態】
【0009】
[本開示の実施形態の説明]
最初に本開示の実施態様を列記して説明する。
本開示のコネクタは、
[1]相手側コネクタに対して第1軸線に沿った嵌合方向に相対移動されることで前記相手側コネクタに嵌合可能なコネクタハウジングと、前記コネクタハウジングに組み付けられるインターロック部材と、前記コネクタハウジングに組み付けられるシールドシェルと、を備えるコネクタであって、前記シールドシェルは、前記インターロック部材の前記コネクタハウジングからの脱落を防止すべく、前記インターロック部材と係合する係合部を有する。
【0010】
同構成によれば、シールドシェルは、インターロック部材のコネクタハウジングからの脱落を防止すべくインターロック部材と係合する係合部を有するため、大型化を抑制しながらインターロック部材の脱落を強固に抑制することができる。すなわち、例えば、インターロック部材に大型の弾性保持爪を設けて固定する場合や、別途、リテーナを組み付けることで固定する場合等に比べて、大型化を抑制しながらインターロック部材の脱落を強固に抑制することができる。
(【0011】以降は省略されています)
この特許をJ-PlatPat(特許庁公式サイト)で参照する
関連特許
他の特許を見る