TOP
|
特許
|
意匠
|
商標
特許ウォッチ
Twitter
他の特許を見る
10個以上の画像は省略されています。
公開番号
2025161116
公報種別
公開特許公報(A)
公開日
2025-10-24
出願番号
2024064035
出願日
2024-04-11
発明の名称
配電具カバー
出願人
北道電設株式会社
代理人
個人
主分類
H01R
25/00 20060101AFI20251017BHJP(基本的電気素子)
要約
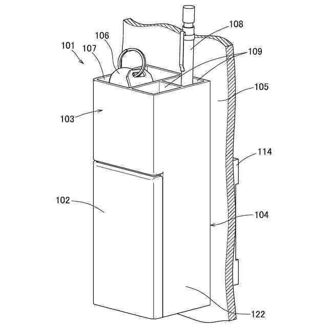
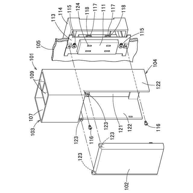
【課題】筆記具や鍵などの小物を収容することができるようにすることにより、小物の置き場所を示す目印として有効利用を図ることができるようにした配電具カバーを提供する。
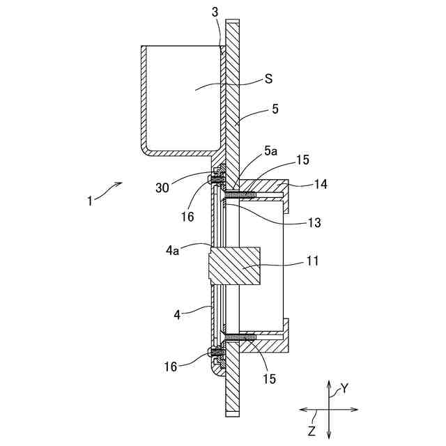
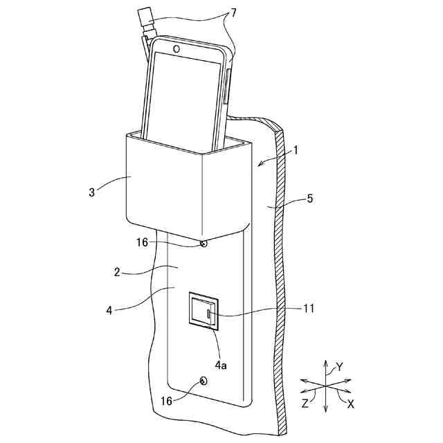
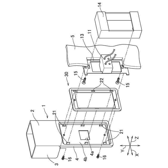
【解決手段】配電具カバー1,101は、カバー本体2,102と、小物7,106,108を収容する小物入れ部3,103と、カバー本体2,102および小物入れ部3,103を支持する支持部4,104を備える。
【選択図】図1
特許請求の範囲
【請求項1】
配電具を覆うカバー本体と、
小物を入れる小物入れ部と、
前記カバー本体および前記小物入れ部を支持する支持部と、
を具備したことを特徴とする配電具カバー。
続きを表示(約 300 文字)
【請求項2】
前記小物入れ部は、前記カバー本体の上方部分に設けた、
ことを特徴とする請求項1に記載の配電具カバー。
【請求項3】
前記カバー本体は、前記配電具に対し開閉可能に設け、
前記小物入れ部は、前記支持部に一体的に設けた、
ことを特徴とする請求項1に記載の配電具カバー。
【請求項4】
前記小物入れ部は、前記カバー本体に設けた、
ことを特徴とする請求項1に記載の配電具カバー。
【請求項5】
前記カバー本体、前記小物入れ部、および前記支持部を一体的に形成したことを特徴とする請求項1に記載の配電具カバー。
発明の詳細な説明
【技術分野】
【0001】
本発明は、スイッチやコンセントなどの配電具を覆う配電具カバーに関する。
続きを表示(約 890 文字)
【背景技術】
【0002】
この種の配電具カバーとしては、従来、種々のものが提案されている。
【0003】
たとえば特許文献1には、カバーと板とを蝶番でつなぎ、板の裏に両面テープを設けたコンセントカバーが開示されている。
【0004】
また、特許文献2には、コンセント本体のプラグ差込口側に覆設される覆設板に着脱自在に装着されプラグ差込口の前面を覆設するプラグカバー体と、このプラグカバー体の壁面の側部や下部に形成されたコード挿通部を備えたコンセントカバーが開示されている。
【先行技術文献】
【特許文献】
【0005】
特開2018-129279号公報
特開2000-100516号公報
【発明の概要】
【発明が解決しようとする課題】
【0006】
しかしながら、いずれも、プラグ差込口を覆う用途に利用するのみである。
【0007】
一方、筆記具や鍵などの小物は、置き場所を決めておかないと使用時に直ぐに見つからないという問題がある。
【0008】
本発明は、上記事情に基づいてなされたもので、その目的とするところは、筆記具や鍵などの小物を収容することができるようにすることにより、小物の置き場所を示す目印として有効利用を図ることができるようにした配電具カバーを提供することにある。
【課題を解決するための手段】
【0009】
上記課題を解決するために、本発明に係る配電具カバーは、配電具を覆うカバー本体と、小物を入れる小物入れ部と、カバー本体および小物入れ部を支持する支持部とを具備したことを特徴とするものである。
【発明の効果】
【0010】
本発明に係る配電具カバーによれば、筆記具や鍵などの小物を収容することができるようにすることにより、小物の置き場所を示す目印として有効利用を図ることができる。
【図面の簡単な説明】
(【0011】以降は省略されています)
この特許をJ-PlatPat(特許庁公式サイト)で参照する
関連特許
個人
三重コイル変圧器
2日前
日機装株式会社
加圧装置
7日前
ローム株式会社
半導体装置
2日前
日新イオン機器株式会社
イオン源
7日前
ローム株式会社
半導体装置
1日前
株式会社東芝
電子源
7日前
個人
電源ボックス及び電子機器
7日前
株式会社ヨコオ
コネクタ
1日前
日本特殊陶業株式会社
保持装置
2日前
ローム株式会社
半導体装置
1日前
矢崎総業株式会社
バスバー
3日前
住友電装株式会社
コネクタ
2日前
日本航空電子工業株式会社
コネクタ
7日前
株式会社半導体エネルギー研究所
二次電池
1日前
新光電気工業株式会社
半導体装置
7日前
川崎重工業株式会社
発電システム
1日前
株式会社アイシン
接続部材
1日前
矢崎総業株式会社
接合装置
7日前
株式会社指月電機製作所
コンデンサ
1日前
ダイハツ工業株式会社
バッテリーモジュール
2日前
矢崎総業株式会社
コネクタ
7日前
ローム株式会社
半導体装置および車両
1日前
矢崎総業株式会社
電線固定構造
7日前
工機ホールディングス株式会社
電気機器
1日前
矢崎総業株式会社
端子付き電線
7日前
富士電機株式会社
半導体装置
7日前
住友電気工業株式会社
シールドフラットケーブル
1日前
ソフトバンク株式会社
ベースプレート
7日前
矢崎総業株式会社
コネクタ構造
7日前
シンフォニアテクノロジー株式会社
容器搬送装置
2日前
株式会社プロテリアル
R-T-B系焼結磁石の製造方法
1日前
株式会社豊田自動織機
燃料電池モジュール
1日前
株式会社豊田自動織機
燃料電池モジュール
1日前
台湾中油股フン有限公司
陰極材料及びその製造方法
1日前
株式会社東芝
アンテナ装置及び無線装置
1日前
住友ベークライト株式会社
ペースト状接着剤組成物
7日前
続きを見る
他の特許を見る