TOP
|
特許
|
意匠
|
商標
特許ウォッチ
Twitter
他の特許を見る
公開番号
2025168900
公報種別
公開特許公報(A)
公開日
2025-11-12
出願番号
2024073749
出願日
2024-04-30
発明の名称
冷却器
出願人
株式会社レゾナック
代理人
個人
,
個人
主分類
H01L
23/473 20060101AFI20251105BHJP(基本的電気素子)
要約
【課題】異なる材質の金属部材が用いられた冷却器において、金属間化合物が生じることを抑制する。
【解決手段】半導体装置1において、冷却器2は、発熱体であるICチップ53が発生する熱が伝達される平板状のベース部31及びベース部からベース部の板面に交差する方向に突出したフィン部32を有する放熱部30と、放熱部30の周囲に配置される蓋部20と、放熱部30の材質と同じ材質で成形された第1層41と蓋部20の材質と同じ材質で成形された第2層42とが積層された連結部40と、を備え、連結部40の第1層41と放熱部30とが溶接にて接合され、連結部40の第2層42と蓋部20とが溶接にて接合されている。
【選択図】図1
特許請求の範囲
【請求項1】
発熱体が発生する熱が伝達される平板状のベース部と、当該ベース部から当該ベース部の板面に交差する方向に突出したフィン部と、を有する第1部材と、
前記第1部材の周囲に配置される第2部材と、
前記第1部材の材質と同じ材質にて成形された第1層と前記第2部材の材質と同じ材質にて成形された第2層とが積層された積層部材と、
を備え、
前記積層部材の前記第1層と前記第1部材とが溶接にて接合され、当該積層部材の前記第2層と前記第2部材とが溶接にて接合されている
冷却器。
続きを表示(約 820 文字)
【請求項2】
前記第1部材に用いられる材質は、その熱伝導率が前記第2部材に用いられる材質の熱伝導率より高い
請求項1に記載の冷却器。
【請求項3】
前記第1部材の材質は、銅であり
前記第2部材の材質は、アルミニウムであり、
前記積層部材の材質は、前記第1層が銅であり、前記第2層がアルミニウムである
請求項2に記載の冷却器。
【請求項4】
前記第2層の積層方向の厚さが、前記第1層の積層方向の厚さよりも大きい
請求項3に記載の冷却器。
【請求項5】
前記積層部材の前記第1層と前記第1部材とがレーザ溶接され、当該積層部材の前記第2層と前記第2部材とがレーザ溶接される
請求項1に記載の冷却器。
【請求項6】
前記第1部材と前記第1層とを溶接する位置と前記第2部材と前記第2層とを溶接する位置とが、前記積層部材の当該第1層と当該第2層とが積層する方向と交差する方向において重なり合わない
請求項5に記載の冷却器。
【請求項7】
前記積層部材の前記第1層は、前記第1部材の前記ベース部における前記フィン部が突出する側の板面に接触して配置される
請求項6に記載の冷却器。
【請求項8】
前記第2部材と前記第2層とを溶接する位置は、前記第1部材と前記第1層とを溶接する位置より、前記フィン部側に位置する
請求項6に記載の冷却器。
【請求項9】
前記積層部材の形状は、環状である
請求項1に記載の冷却器。
【請求項10】
前記積層部材は、前記第1層と前記第2層とが積層され棒状に成形された棒状部材を、湾曲させることまたは折り曲げることにより環状に成形される
請求項9に記載の冷却器。
(【請求項11】以降は省略されています)
発明の詳細な説明
【技術分野】
【0001】
本発明は、冷却器に関する。
続きを表示(約 2,700 文字)
【背景技術】
【0002】
特許文献1に記載された冷却器は、上面に開口を有する箱形の容器本体と、内周部の下面側に多数の放熱フィンが形成され、かつ前記内周部の上面側に発熱体が配置可能なベース板とを備える。この冷却器は、前記放熱フィンが前記容器本体内にその上面開口を介して収容された状態で、前記ベース板の外周部が前記容器本体の上面開口周縁部にシール部材を介して固定されることによって、前記ベース板が前記容器本体にその上面開口を閉塞するように組み付けられる。そして、この冷却器は、前記ベース板が、その内周部と、外周部とが別体に形成されるとともに、その別体の内周部および外周部が連結一体化されることによって形成され、前記ベース板における前記内周部が、前記外周部に対し熱伝導率が高い材質によって形成されていることを特徴としている。
【先行技術文献】
【特許文献】
【0003】
特許第7126423号公報
【発明の概要】
【発明が解決しようとする課題】
【0004】
冷却器の放熱部に用いる金属部材の材質と、この放熱部の外周に用いる金属部材の材質と、を異ならせる場合がある。この場合に、この異なる金属部材同士を溶接すると、2種類以上の金属からなる金属間化合物が生じる。この金属間化合物は、同種の金属を溶接した場合に比べて、一般に脆い性質を有する。そのため、異なる材質の金属部材同士が溶接された冷却器は、強度が低くなり、シール性の低下が生じうる。
【0005】
本発明は、異なる材質の金属部材が用いられた冷却器において、金属間化合物が生じることを抑制することを目的とする。
【課題を解決するための手段】
【0006】
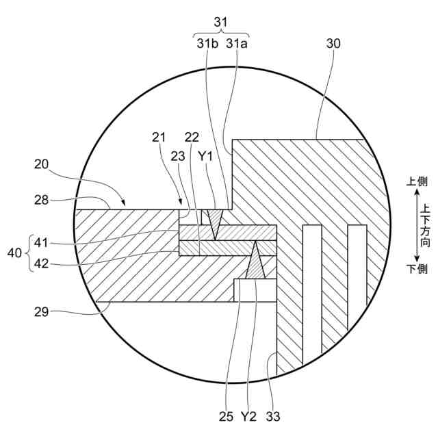
本発明が適用される冷却器は、発熱体が発生する熱が伝達される平板状のベース部と、当該ベース部から当該ベース部の板面に交差する方向に突出したフィン部と、を有する第1部材と、前記第1部材の周囲に配置される第2部材と、前記第1部材の材質と同じ材質にて成形された第1層と前記第2部材の材質と同じ材質にて成形された第2層とが積層された積層部材と、を備え、前記積層部材の前記第1層と前記第1部材とが溶接にて接合され、当該積層部材の前記第2層と前記第2部材とが溶接にて接合されている冷却器である。
ここで、前記第1部材に用いられる材質は、その熱伝導率が前記第2部材に用いられる材質の熱伝導率より高いことを特徴とすることができる。
また、前記第1部材の材質は、銅であり前記第2部材の材質は、アルミニウムであり、前記積層部材の材質は、前記第1層が銅であり、前記第2層がアルミニウムであることを特徴とすることができる。
また、前記第2層の積層方向の厚さが、前記第1層の積層方向の厚さよりも大きいことを特徴とすることができる。
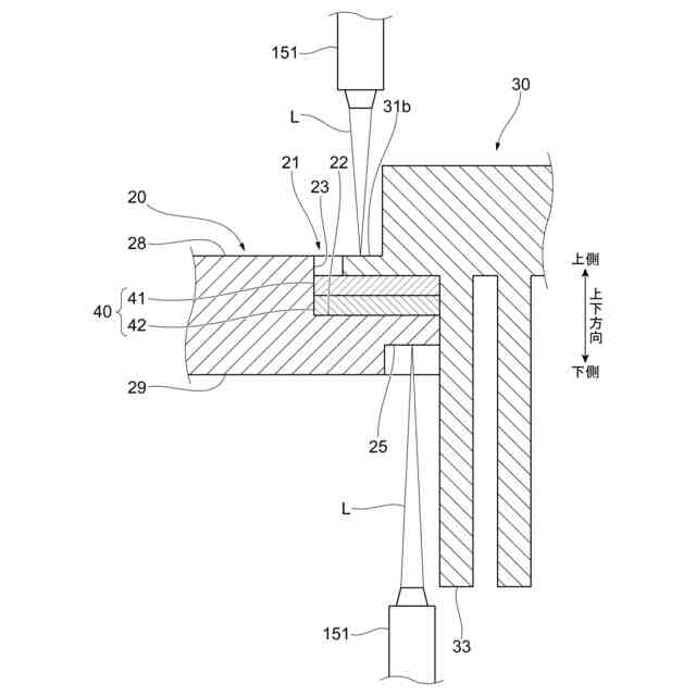
また、前記積層部材の前記第1層と前記第1部材とがレーザ溶接され、当該積層部材の前記第2層と前記第2部材とがレーザ溶接されることを特徴とすることができる。
また、前記第1部材と前記第1層とを溶接する位置と前記第2部材と前記第2層とを溶接する位置とが、前記積層部材の当該第1層と当該第2層とが積層する方向と交差する方向において重なり合わないことを特徴とすることができる。
また、前記積層部材の前記第1層は、前記第1部材の前記ベース部における前記フィン部が突出する側の板面に接触して配置されることを特徴とすることができる。
また、前記第2部材と前記第2層とを溶接する位置は、前記第1部材と前記第1層とを溶接する位置より、前記フィン部側に位置することを特徴とすることができる。
また、前記積層部材の形状は、環状であることを特徴とすることができる。
また、前記積層部材は、前記第1層と前記第2層とが積層され棒状に成形された棒状部材を、湾曲させることまたは折り曲げることにより環状に成形されることを特徴とすることができる。
また、前記第2部材は、前記第1部材の外周端縁に対向する位置に凹部が設けられ、前記積層部材は、前記凹部に配置されることを特徴とすることができる。
また、前記積層部材は、前記第1層と前記第2層とが圧延接合されたクラッド材であることを特徴とすることができる。
【発明の効果】
【0007】
本願の発明によると、異なる材質の金属部材が用いられた冷却器において、金属間化合物が生じることを抑制することができる。
【図面の簡単な説明】
【0008】
実施形態に係る半導体装置を構成する部品を分解した図の一例である。
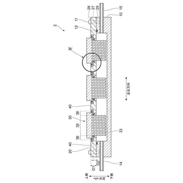
実施形態に係る冷却器の断面の一例を示す図である。
連結部の製造方法の一例を示す図である。
冷却器の断面の一例を示す図であり、図2のIV領域の拡大図である。
レーザ光を照射する状態の一例を示す図である。
(a)、(b)は、溶接経路の一例を示す図である。
【発明を実施するための形態】
【0009】
以下、添付図面を参照して、本発明の実施形態について詳細に説明する。
図1は、実施形態に係る半導体装置1を構成する部品を分解した図の一例である。
図2は、実施形態に係る冷却器2の断面の一例を示す図である。図2は、冷却器2を前後方向に直交する面にて切断した場合の断面図の一例である。なお、図2は、冷却器2の断面を示したものであり、半導体モジュール5については図示していない。
半導体装置1は、単数または複数(図1においては3つ)の半導体モジュール5と、半導体モジュール5を冷却する冷却器2とを備える。
【0010】
〔半導体モジュール5〕
半導体モジュール5は、絶縁基板51と、絶縁基板51上に設けられた配線層52と、配線層52にはんだ層54を介して装着されたICチップ53(発熱体の一例)とを有している。また、半導体モジュール5は、絶縁基板51からの熱を放熱部30に伝達する伝熱層55を有している。そして、伝熱層55が放熱部30の後述するベース部31の上面に接合される。伝熱層55と放熱部30とを接合する手法としては、ろう付、はんだ付け、シンタリング(焼結)、樹脂による接着、熱伝導グリスによる貼り付け等を例示することができる。そして、複数の半導体モジュール5は、左右方向に並べられている。
(【0011】以降は省略されています)
この特許をJ-PlatPat(特許庁公式サイト)で参照する
関連特許
APB株式会社
蓄電セル
1か月前
日機装株式会社
加圧装置
1日前
ローム株式会社
半導体装置
1か月前
日新イオン機器株式会社
イオン源
1日前
マクセル株式会社
電源装置
1か月前
株式会社東芝
端子台
1か月前
株式会社GSユアサ
蓄電装置
16日前
富士電機株式会社
電磁接触器
16日前
株式会社GSユアサ
蓄電装置
1か月前
株式会社GSユアサ
蓄電装置
1か月前
株式会社GSユアサ
蓄電装置
1か月前
三菱電機株式会社
回路遮断器
24日前
大電株式会社
電線又はケーブル
8日前
個人
電源ボックス及び電子機器
1日前
トヨタ自動車株式会社
蓄電装置
8日前
日新イオン機器株式会社
基板処理装置
1か月前
株式会社東芝
電子源
1日前
トヨタ自動車株式会社
バッテリ
1か月前
株式会社トクミ
ケーブル
2日前
北道電設株式会社
配電具カバー
1か月前
ホシデン株式会社
複合コネクタ
10日前
日本特殊陶業株式会社
保持装置
29日前
トヨタ自動車株式会社
蓄電装置
1か月前
住友電装株式会社
コネクタ
16日前
日亜化学工業株式会社
半導体レーザ素子
1か月前
甲神電機株式会社
変流器及び零相変流器
1か月前
株式会社レゾナック
冷却器
24日前
ローム株式会社
半導体モジュール
17日前
トヨタ自動車株式会社
密閉型電池
1か月前
株式会社デンソー
電子装置
1か月前
ヒロセ電機株式会社
電気コネクタ
16日前
日本無線株式会社
レーダアンテナ
1か月前
矢崎総業株式会社
コネクタ
16日前
株式会社デンソー
半導体装置
16日前
株式会社パロマ
監視システム
8日前
富士電機株式会社
半導体モジュール
1か月前
続きを見る
他の特許を見る