TOP
|
特許
|
意匠
|
商標
特許ウォッチ
Twitter
他の特許を見る
公開番号
2025165150
公報種別
公開特許公報(A)
公開日
2025-11-04
出願番号
2024069081
出願日
2024-04-22
発明の名称
半導体モジュール
出願人
富士電機株式会社
代理人
個人
主分類
H01L
23/12 20060101AFI20251027BHJP(基本的電気素子)
要約
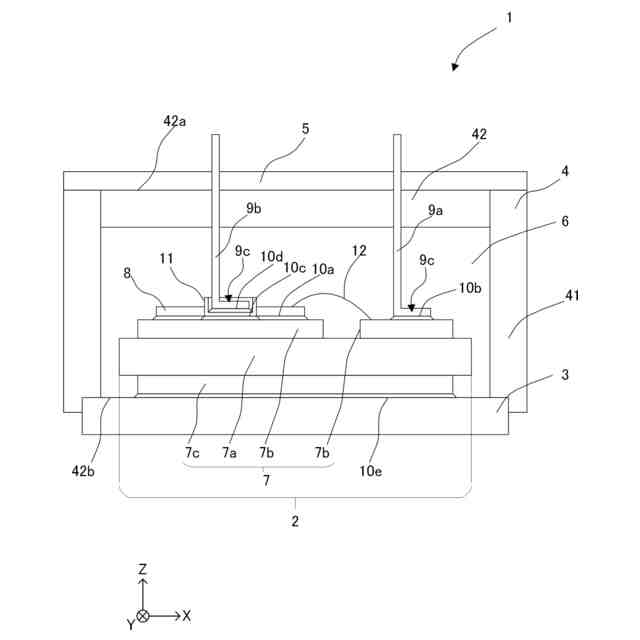
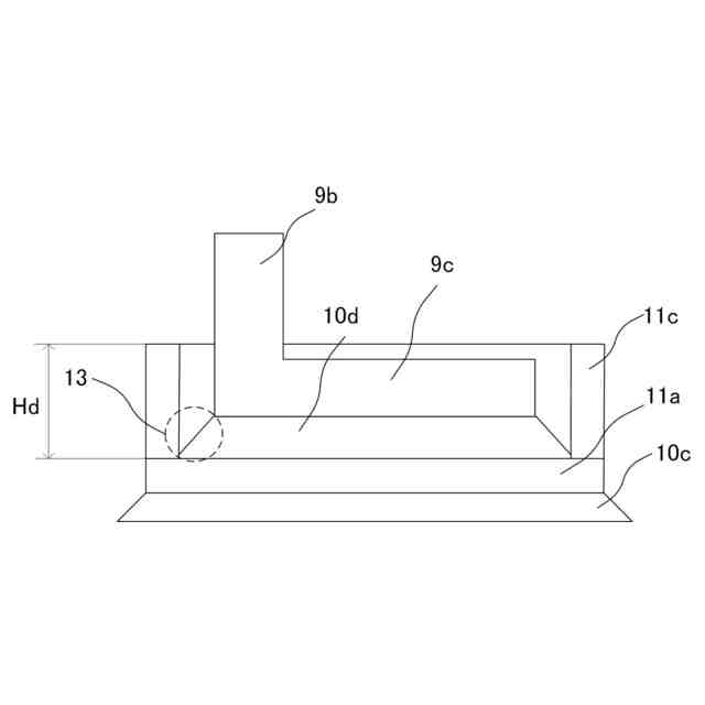
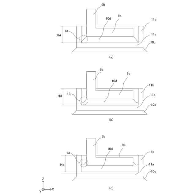
【課題】リードフレームからなる端子を接合するはんだの流出を防ぐ。
【解決手段】導電パターン7bとリードフレームからなる端子9が導電性の板11aを介して接合された半導体装置1において、導電性の板11aと端子9がはんだ10dで接合され、導電性の板11a上に端子9の接合領域を包囲してはんだダム11bを形成する。
【選択図】図3
特許請求の範囲
【請求項1】
導電パターンとリードフレームが導電性の板を介して接合された半導体装置において、
前記導電性の板とリードフレームがはんだで接合され、
前記導電性の板上に前記リードフレームの接合領域を包囲してはんだダムを形成したことを特徴とする半導体装置。
続きを表示(約 260 文字)
【請求項2】
前記はんだダムの前記導電性の板からの高さがはんだ接合厚さ以上である
請求項1に記載の半導体装置。
【請求項3】
前記導電パターンに半導体素子が接合されている
請求項1に記載の半導体装置。
【請求項4】
前記導電パターンと前記導電性の板がはんだで接合されている
請求項1に記載の半導体装置。
【請求項5】
前記はんだダムが前記導電性の板と一体に形成されている
請求項1ないし請求項4のいずれか一項に記載の半導体装置。
発明の詳細な説明
【技術分野】
【0001】
本発明は、半導体モジュールに関する。
続きを表示(約 890 文字)
【0002】
半導体モジュールは、リードフレーム上にはんだ接合面域を包囲した樹脂やワイヤからなるはんだダムを形成し、その内部に内部配線用のリードフレームをはんだ接合する(例えば、特許文献1、特許文献2参照)。
【0003】
半導体装置は、回路板上に半導体素子を接合する領域の側面にワイヤや金属部材を設けてはんだ流れを防止する(例えば、特許文献3、特許文献4参照)。
【0004】
またはんだ接合面域を包囲したワイヤや金属部材ではんだ流れを防止し、また半導体装置は、半導体チップにコの字形の上部電極を搭載、接合し、上部電極の上面に接続端子がはまり込む溝部を形成し、接続端子をはんだ接合する(例えば特許文献5参照)。
【先行技術文献】
【特許文献】
【0005】
特開2004-363216号公報
特開2018-207002号公報
特開2021-044452号公報
特開2017-117813号公報
特開平4-253349号公報
【発明の概要】
【発明が解決しようとする課題】
【0006】
本発明は、リードフレームからなる端子を接合する、はんだの流出を防ぐことを目的とする。
【課題を解決するための手段】
【0007】
上記課題を解決するために、本発明の一つの態様においては、導電パターンとリードフレームが導電性の板を介して接合された半導体装置において、前記導電性の板と前記リードフレームがはんだで接合され、前記導電性の板上に前記リードフレームの接合領域を包囲してはんだダムを形成する。
【0008】
前記はんだダムの前記導電性の板からの高さがはんだ接合厚さ以上であるとよい。
【0009】
前記導電パターンには半導体素子が接合されているとよい。
【0010】
前記導電パターンと前記導電性の板ははんだで接合されているとよい。
(【0011】以降は省略されています)
この特許をJ-PlatPat(特許庁公式サイト)で参照する
関連特許
富士電機株式会社
電磁接触器
4日前
富士電機株式会社
半導体装置
10日前
富士電機株式会社
半導体装置及びその製造方法
4日前
富士電機株式会社
炭化珪素半導体装置および炭化珪素半導体装置の製造方法
4日前
富士電機株式会社
情報処理装置、ソフトウェア更新システム、ソフトウェア更新方法、およびソフトウェア更新プログラム
4日前
APB株式会社
蓄電セル
1か月前
東ソー株式会社
絶縁電線
1か月前
ローム株式会社
半導体装置
1か月前
マクセル株式会社
電源装置
25日前
株式会社東芝
端子台
25日前
株式会社GSユアサ
蓄電装置
26日前
富士電機株式会社
電磁接触器
4日前
三菱電機株式会社
回路遮断器
12日前
株式会社GSユアサ
蓄電装置
4日前
株式会社ホロン
冷陰極電子源
1か月前
株式会社GSユアサ
蓄電装置
18日前
株式会社GSユアサ
蓄電装置
26日前
トヨタ自動車株式会社
冷却構造
1か月前
日本特殊陶業株式会社
保持装置
1か月前
日新イオン機器株式会社
基板処理装置
28日前
トヨタ自動車株式会社
蓄電装置
26日前
日本特殊陶業株式会社
保持装置
17日前
トヨタ自動車株式会社
バッテリ
1か月前
北道電設株式会社
配電具カバー
1か月前
日本無線株式会社
レーダアンテナ
19日前
トヨタ自動車株式会社
電池パック
1か月前
ローム株式会社
半導体装置
1か月前
住友電装株式会社
コネクタ
1か月前
ヒロセ電機株式会社
電気コネクタ
4日前
株式会社デンソー
電子装置
28日前
甲神電機株式会社
変流器及び零相変流器
19日前
株式会社レゾナック
冷却器
12日前
株式会社トクヤマ
シリコンエッチング液
1か月前
株式会社トクヤマ
シリコンエッチング液
1か月前
住友電装株式会社
コネクタ
4日前
トヨタ自動車株式会社
電池パック
1か月前
続きを見る
他の特許を見る