TOP
|
特許
|
意匠
|
商標
特許ウォッチ
Twitter
他の特許を見る
10個以上の画像は省略されています。
公開番号
2025159953
公報種別
公開特許公報(A)
公開日
2025-10-22
出願番号
2024062848
出願日
2024-04-09
発明の名称
コネクタ
出願人
住友電装株式会社
代理人
個人
,
個人
主分類
H01R
13/64 20060101AFI20251015BHJP(基本的電気素子)
要約
【課題】組立作業性を向上できるコネクタを提供する。
【解決手段】コネクタ10は、端子20と、端子20を保持するハウジング30と、ハウジング30の内部に収容されるとともに、第1軸線Xに沿って第1位置と第2位置とに移動可能に設けられたスライダ60と、スライダ60に組み付けられたスプリング80と、を備える。スライダ60は、スプリング80の一部が収容されるスプリング収容部63を有する。スプリング80は、スプリング収容部63に収容された状態で、スライダ60を第1位置に向けて付勢する。
【選択図】図2
特許請求の範囲
【請求項1】
端子と、
前記端子を保持するハウジングと、
前記ハウジングの内部に収容されるとともに、第1軸線に沿って第1位置と第2位置とに移動可能に設けられたスライダと、
前記スライダに組み付けられたスプリングと、を備え、
前記第1位置は、前記第2位置から前記第1軸線に沿った一方向である第1方向に向かった位置であり、
前記スライダは、前記スプリングの一部が収容されるスプリング収容部を有し、
前記スプリングは、前記スプリング収容部に収容された状態で、前記スライダを前記第1位置に向けて付勢する、コネクタ。
続きを表示(約 1,700 文字)
【請求項2】
前記スプリングは、板材により形成された板ばねであり、
前記スプリングは、前記スプリング収容部に挿入される挿入部と、前記挿入部の端部から折り返された第1折り返し部とを有し、
前記挿入部は、前記第1軸線と交差する第2軸線に沿って延びており、
前記挿入部は、前記第1折り返し部と接続される第1端部と、前記第1端部の反対側に設けられた第2端部と、を有し、
前記第1折り返し部は、前記第1方向の反対方向である第1反対方向に向かって折り返されるとともに前記第2端部に向かって折り返されている、請求項1に記載のコネクタ。
【請求項3】
前記スプリングは、前記第1折り返し部の端部から前記第1方向に向かって折り返された第2折り返し部を有し、
前記第1折り返し部と前記第2折り返し部との第1接続部分は、湾曲形状に形成されており、
前記第1接続部分は、前記ハウジングの内面に接触している、請求項2に記載のコネクタ。
【請求項4】
前記スプリング収容部は、底面と、前記底面から前記第1反対方向に向かって突出する第1壁部と、前記底面から前記第1反対方向に向かって突出する第2壁部と、前記第1壁部と前記第2壁部とを繋ぐ第3壁部と、を有し、
前記第1壁部と前記第2壁部とは、前記第1軸線および前記第2軸線の双方と交差する第3軸線において互いに対向しており、
前記挿入部は、前記底面と前記第1壁部と前記第2壁部と前記第3壁部とによって囲まれた空間に挿入されており、
前記挿入部は、前記第1方向において前記底面と係合可能に形成されるとともに、前記第1反対方向において前記第3壁部と係合可能に形成されている、請求項3に記載のコネクタ。
【請求項5】
前記挿入部は、前記底面に面接触可能に設けられている、請求項4に記載のコネクタ。
【請求項6】
前記挿入部と前記第1折り返し部と前記第2折り返し部とは、前記第3軸線から見た平面形状が三角形状に形成されており、
前記スプリングは、前記第2折り返し部の端部から前記第1反対方向に向かって折り返された第3折り返し部を有し、
前記第2折り返し部と前記第3折り返し部との第2接続部分は、前記挿入部と接触可能に形成されており、
前記第3壁部は、前記第2接続部分と前記挿入部とによって挟持されている、請求項4に記載のコネクタ。
【請求項7】
前記スプリング収容部の内部空間は、前記第2軸線に沿って延びる溝状に形成されており、
前記スプリング収容部の内部空間は、前記第2軸線に沿った一方向である第2方向に開口しており、
前記スプリング収容部の内部空間には、前記挿入部の前記第2端部を前記第2方向の反対方向である第2反対方向に向けた状態で、前記挿入部が前記第2反対方向に沿って挿入され、
前記第3折り返し部は、前記挿入部と対向するとともに前記第2軸線に対して傾斜する誘導面を有する、請求項6に記載のコネクタ。
【請求項8】
前記ハウジングは、
前記端子を収容する端子収容部を有するハウジング本体と、
前記ハウジング本体に取り付けられたカバー部材と、を有し、
前記ハウジング本体は、前記第1反対方向に開口する箱状に形成されており、
前記カバー部材は、前記ハウジング本体の前記第1反対方向の開口を塞ぐように形成されており、
前記カバー部材の内面は、前記第1反対方向に向かって凹むとともに前記第1接続部分が収容される収容凹部を有し、
前記収容凹部の内側面は、前記第1軸線に対して傾斜する傾斜面に形成されている、請求項3に記載のコネクタ。
【請求項9】
前記ハウジング本体は、前記挿入部の前記第1端部が収容される凹部を有し、
前記凹部は、前記第1軸線および前記第2軸線の双方と交差する第3軸線において、前記第1端部と係合可能に形成されている、請求項8に記載のコネクタ。
発明の詳細な説明
【技術分野】
【0001】
本開示は、コネクタに関するものである。
続きを表示(約 2,200 文字)
【背景技術】
【0002】
従来、車両には、エアバッグインフレータ等の制御に用いられるコネクタ、所謂スクイブコネクタが搭載される(例えば、特許文献1参照)。この種のコネクタは、端子と、端子を保持するハウジングと、ハウジングの内部に収容されたスライダと、スライダを付勢するスプリングとを備えている。スプリングは、スライダを押さえつける一対の作動アームと、一対の作動アームの各々の端部に設けられたねじりコイル部とを有している。上記コネクタでは、スプリングの付勢力によりスライダをスライドさせる方式によって、コネクタと相手コネクタとの嵌合保証を行っている。具体的には、スライダは、コネクタと相手コネクタとの嵌合時に、スプリングの反力を受けながら後方に移動される。そして、コネクタと相手コネクタとの嵌合完了後に、スライダは、スプリングの反力により前方に移動される。
【先行技術文献】
【特許文献】
【0003】
特開2016-21397号公報
【発明の概要】
【発明が解決しようとする課題】
【0004】
ところで、上記コネクタにおいては、組立作業性を向上させることが望まれている。
本開示の目的は、組立作業性を向上できるコネクタを提供することにある。
【課題を解決するための手段】
【0005】
本開示のコネクタは、端子と、前記端子を保持するハウジングと、前記ハウジングの内部に収容されるとともに、第1軸線に沿って第1位置と第2位置とに移動可能に設けられたスライダと、前記スライダに組み付けられたスプリングと、を備え、前記第1位置は、前記第2位置から前記第1軸線に沿った一方向である第1方向に向かった位置であり、前記スライダは、前記スプリングの一部が収容されるスプリング収容部を有し、前記スプリングは、前記スプリング収容部に収容された状態で、前記スライダを前記第1位置に向けて付勢する。
【発明の効果】
【0006】
本開示のコネクタによれば、組立作業性を向上できるという効果を奏する。
【図面の簡単な説明】
【0007】
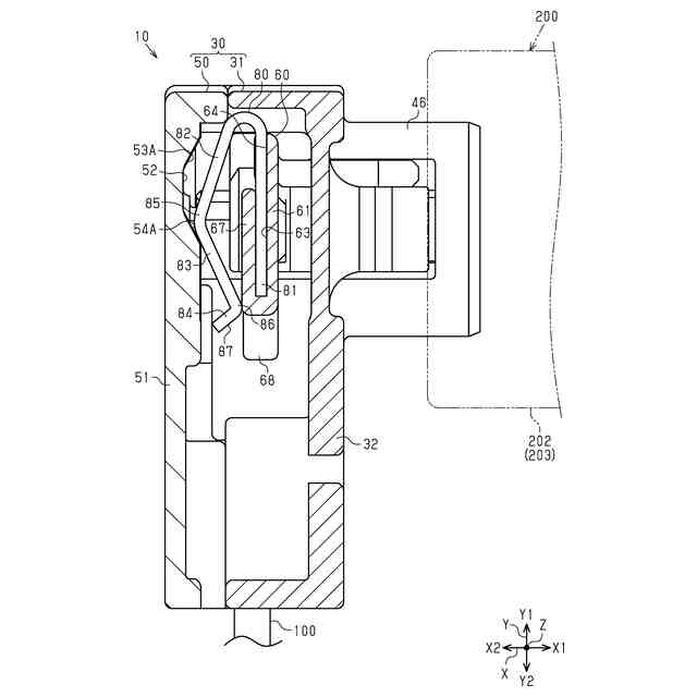
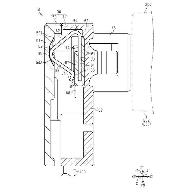
図1は、一実施形態のコネクタおよび相手コネクタを示す斜視図である。
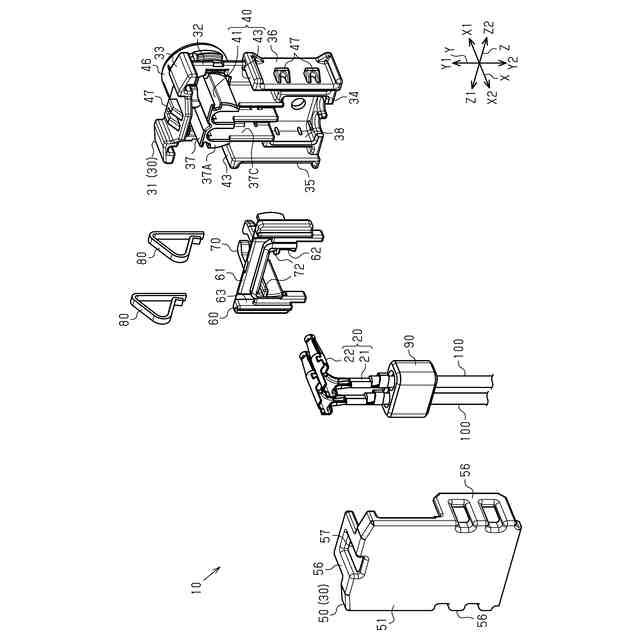
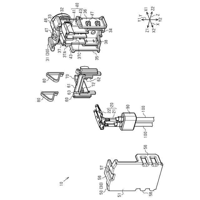
図2は、一実施形態のコネクタを示す分解斜視図である。
図3は、一実施形態のコネクタの一部を示す平面図である。
図4は、一実施形態のコネクタを示す断面図(図3における4-4線断面図)である。
図5は、一実施形態のカバー部材を示す斜視図である。
図6は、一実施形態のスライダおよびスプリングを示す分解斜視図である。
図7は、一実施形態のスライダおよびスプリングを示す斜視図である。
図8は、一実施形態のコネクタを示す断面図(図3における8-8線断面図)である。
図9は、一実施形態のコネクタを示す断面図である。
図10は、一実施形態のコネクタを示す断面図である。
図11は、一実施形態のコネクタおよび相手コネクタを示す断面図(図3における11-11線断面図)である。
図12は、一実施形態のコネクタを示す断面図である。
【発明を実施するための形態】
【0008】
[本開示の実施形態の説明]
最初に本開示の実施形態を列挙して説明する。
[1]本開示のコネクタは、端子と、前記端子を保持するハウジングと、前記ハウジングの内部に収容されるとともに、第1軸線に沿って第1位置と第2位置とに移動可能に設けられたスライダと、前記スライダに組み付けられたスプリングと、を備え、前記第1位置は、前記第2位置から前記第1軸線に沿った一方向である第1方向に向かった位置であり、前記スライダは、前記スプリングの一部が収容されるスプリング収容部を有し、前記スプリングは、前記スプリング収容部に収容された状態で、前記スライダを前記第1位置に向けて付勢する。
【0009】
この構成によれば、スプリングの一部がスライダのスプリング収容部に収容されることで、スプリングがスライダに組み付けられる。これにより、スプリングとスライダとを一体化させることができるため、スプリングとスライダとを一部品として扱うことができる。そして、スプリングと一体化された状態でスライダをハウジングに取り付けることができる。このため、ハウジングに対してスプリングとスライダとを別々に取り付ける場合に比べて、コネクタの組立作業性を向上させることができる。
【0010】
[2]上記[1]において、前記スプリングは、板材により形成された板ばねであり、前記スプリングは、前記スプリング収容部に挿入される挿入部と、前記挿入部の端部から折り返された第1折り返し部とを有し、前記挿入部は、前記第1軸線と交差する第2軸線に沿って延びており、前記挿入部は、前記第1折り返し部と接続される第1端部と、前記第1端部の反対側に設けられた第2端部と、を有し、前記第1折り返し部は、前記第1方向の反対方向である第1反対方向に向かって折り返されるとともに前記第2端部に向かって折り返されていてもよい。
(【0011】以降は省略されています)
この特許をJ-PlatPat(特許庁公式サイト)で参照する
関連特許
住友電装株式会社
端子台
28日前
住友電装株式会社
コネクタ
21日前
住友電装株式会社
コネクタ
1か月前
住友電装株式会社
コネクタ
20日前
住友電装株式会社
コネクタ
12日前
住友電装株式会社
シールド端子
6日前
住友電装株式会社
シールドコネクタ
12日前
住友電装株式会社
コネクタ及びコネクタアセンブリ
4日前
住友電装株式会社
外導体端子及びシールドコネクタ
12日前
住友電装株式会社
プロテクタとホルダとの一体化ユニット
18日前
住友電装株式会社
プロテクタ及びプロテクタ付ワイヤハーネス
18日前
株式会社オートネットワーク技術研究所
雌端子
13日前
株式会社オートネットワーク技術研究所
電装品
4日前
株式会社オートネットワーク技術研究所
電装品
4日前
株式会社オートネットワーク技術研究所
コネクタ
1か月前
株式会社オートネットワーク技術研究所
コネクタ
14日前
株式会社オートネットワーク技術研究所
固定部材
5日前
株式会社オートネットワーク技術研究所
コネクタ
14日前
株式会社オートネットワーク技術研究所
接続構造体
1か月前
株式会社オートネットワーク技術研究所
コネクタ装置
1か月前
株式会社オートネットワーク技術研究所
コネクタ装置
1か月前
株式会社オートネットワーク技術研究所
車載用制御装置
26日前
住友電装株式会社
接続構造体、リアクトル装置および接続構造体の製造方法
4日前
住友電装株式会社
電気接続箱
25日前
住友電装株式会社
バスバユニット
12日前
株式会社オートネットワーク技術研究所
コネクタのガイド構造
1か月前
株式会社オートネットワーク技術研究所
端子金具、及びコネクタ
13日前
株式会社オートネットワーク技術研究所
端子金具、及びコネクタ
13日前
住友電装株式会社
配線部材の配索構造
12日前
住友電装株式会社
配線部材の配索構造
14日前
株式会社オートネットワーク技術研究所
端子材料および電気接続端子
28日前
株式会社オートネットワーク技術研究所
端子材料および電気接続端子
28日前
株式会社オートネットワーク技術研究所
端子材料および電気接続端子
1か月前
株式会社オートネットワーク技術研究所
筐体、および車両用充電装置
1か月前
株式会社オートネットワーク技術研究所
ワイヤハーネス、及び接続構造体
1か月前
株式会社オートネットワーク技術研究所
端子金具、実装基板及び基板装置
27日前
続きを見る
他の特許を見る