TOP
|
特許
|
意匠
|
商標
特許ウォッチ
Twitter
他の特許を見る
10個以上の画像は省略されています。
公開番号
2025166554
公報種別
公開特許公報(A)
公開日
2025-11-06
出願番号
2024070655
出願日
2024-04-24
発明の名称
固定部材
出願人
株式会社オートネットワーク技術研究所
,
住友電装株式会社
,
住友電気工業株式会社
代理人
個人
,
個人
,
個人
,
個人
主分類
H02G
3/32 20060101AFI20251029BHJP(電力の発電,変換,配電)
要約
【課題】板状縁部を含む固定対象に、扁平配線部材を好適に取り付けることができる技術を提供することを目的とする。
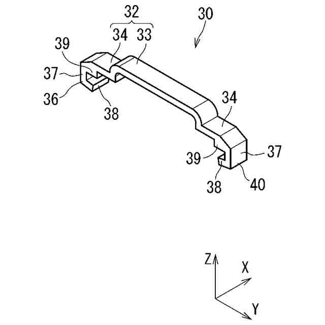
【解決手段】固定部材30は、固定対象10に扁平配線部材20を固定する。前記固定対象10は、前記扁平配線部材20が配置される配置面12と、前記配置面12の一端部に設けられた第1板状縁部13とを含む。固定部材30は、前記配置面12とは反対側から前記扁平配線部材20を押える押え部32と、前記押え部32から前記扁平配線部材20の一方側方に突出して前記第1板状縁部13に引っ掛かる引掛かり部36と、前記押え部32から前記扁平配線部材20の他方側方に突出して前記固定対象10に固定される固定部40と、を備える。
【選択図】図3
特許請求の範囲
【請求項1】
固定対象に扁平配線部材を固定する固定部材であって、
前記固定対象は、前記扁平配線部材が配置される配置面と、前記配置面の一端部に設けられた第1板状縁部とを含み、
前記配置面とは反対側から前記扁平配線部材を押える押え部と、
前記押え部から前記扁平配線部材の一方側方に突出して前記第1板状縁部に引っ掛かる引掛かり部と、
前記押え部から前記扁平配線部材の他方側方に突出して前記固定対象に固定される固定部と、
を備える、固定部材。
続きを表示(約 800 文字)
【請求項2】
請求項1に記載の固定部材であって、
前記固定対象は、前記配置面の他端部に設けられた第2板状縁部を含み、
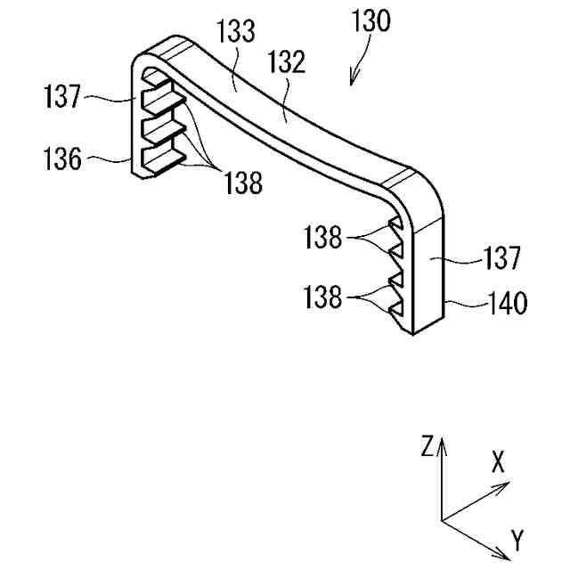
前記固定部は、前記第2板状縁部に引っ掛かる形状を有する、固定部材。
【請求項3】
請求項2に記載の固定部材であって、
前記引掛かり部及び前記固定部のそれぞれは、前記配置面からの高さ方向に沿って複数段形成されている、固定部材。
【請求項4】
請求項1に記載の固定部材であって、
前記固定対象は、前記配置面の他端部から前記配置面と交差する方向に突出する係止面と、前記係止面に形成された係止孔とを含み、
前記固定部は、前記係止孔に係止する形状を有する、固定部材。
【請求項5】
請求項4に記載の固定部材であって、
前記押え部と前記固定部との間に設けられたヒンジ部を備える、固定部材。
【請求項6】
請求項1から請求項5のいずれか1項に記載の固定部材であって、
前記扁平配線部材と前記配置面との間に位置して、前記押え部との間で前記扁平配線部材の側縁を保持する保持部を備える、固定部材。
【請求項7】
請求項6に記載の固定部材であって、
前記押え部及び前記保持部の少なくとも一方から前記扁平配線部材に向けて突出する弾性片を備える、固定部材。
【請求項8】
請求項1から請求項5のいずれか1項に記載の固定部材であって、
前記押え部は、前記扁平配線部材に沿って広がる押え板部と、前記押え板部から前記扁平配線部材に向けて突出するリブとを有する、固定部材。
【請求項9】
請求項8に記載の固定部材であって、
前記リブは、前記扁平配線部材の延在方向及び幅方向に対して交差する方向に延びる、固定部材。
発明の詳細な説明
【技術分野】
【0001】
本開示は、固定部材に関する。
続きを表示(約 1,200 文字)
【背景技術】
【0002】
特許文献1は、扁平配線部材を固定対象に固定する技術を開示している。
【先行技術文献】
【特許文献】
【0003】
特開2020-145176号公報
【発明の概要】
【発明が解決しようとする課題】
【0004】
扁平配線部材の固定対象が板状縁部を含む場合がある。
【0005】
そこで、板状縁部を含む固定対象に、扁平配線部材を好適に取り付けることができる技術を提供することを目的とする。
【課題を解決するための手段】
【0006】
本開示の固定部材は、固定対象に扁平配線部材を固定する固定部材であって、前記固定対象は、前記扁平配線部材が配置される配置面と、前記配置面の一端部に設けられた第1板状縁部とを含み、前記配置面とは反対側から前記扁平配線部材を押える押え部と、前記押え部から前記扁平配線部材の一方側方に突出して前記第1板状縁部に引っ掛かる引掛かり部と、前記押え部から前記扁平配線部材の他方側方に突出して前記固定対象に固定される固定部と、を備える、固定部材である。
【発明の効果】
【0007】
本開示によれば、板状縁部を含む固定対象に、扁平配線部材を好適に取り付けることができる。
【図面の簡単な説明】
【0008】
図1は実施形態1にかかる固定部材及びその取付構造を示す平面図である。
図2は図1のII-II線に沿った断面図である。
図3は実施形態1にかかる固定部材を示す斜視図である。
図4は実施形態2にかかる固定部材及びその取付構造を示す断面図である。
図5は実施形態2にかかる固定部材を示す斜視図である。
図6は実施形態2にかかる固定部材の別の取付例を示す断面図である。
図7は実施形態3にかかる固定部材及びその取付構造を示す断面図である。
図8は実施形態3にかかる固定部材を示す斜視図である。
図9は実施形態4にかかる固定部材及びその取付構造を示す断面図である。
図10は実施形態4にかかる固定部材を示す斜視図である。
図11は実施形態5にかかる固定部材及びその取付構造を示す断面図である。
図12は実施形態5にかかる固定部材を示す斜視図である。
図13は実施形態5にかかる固定部材を示す底面図である。
図14は実施形態5にかかる固定部材の変形例を示す断面図である。
【発明を実施するための形態】
【0009】
[本開示の実施形態の説明]
最初に本開示の実施態様を列記して説明する。
【0010】
本開示の固定部材は、次の通りである。
(【0011】以降は省略されています)
この特許をJ-PlatPat(特許庁公式サイト)で参照する
関連特許
個人
高圧電気機器の開閉器
10日前
個人
電気を重力で発電装置
23日前
キヤノン電子株式会社
モータ
22日前
キヤノン電子株式会社
モータ
1か月前
日星電気株式会社
ケーブル組立体
1か月前
コーセル株式会社
電源装置
1か月前
トヨタ自動車株式会社
モータ
22日前
株式会社アイドゥス企画
減反モータ
10日前
株式会社デンソー
回転機
1か月前
株式会社デンソー
端子台
3日前
個人
二次電池繰返パルス放電器用印刷基板
1か月前
株式会社デンソー
電力変換装置
1か月前
株式会社ミツバ
回転電機
1か月前
株式会社デンソー
電力変換装置
1か月前
ローム株式会社
半導体集積回路
1日前
トヨタ自動車株式会社
固定子の加熱装置
1か月前
株式会社日立製作所
回転電機
1日前
矢崎総業株式会社
電源回路
9日前
矢崎総業株式会社
給電装置
2日前
株式会社TMEIC
制御装置
2日前
株式会社デンソー
非接触受電装置
1か月前
株式会社ダイヘン
インバータ装置
1か月前
ローム株式会社
モータドライバ回路
17日前
トヨタ自動車株式会社
ステータの製造装置
23日前
山洋電気株式会社
モータ
1か月前
大和ハウス工業株式会社
敷設用機器
2日前
日産自動車株式会社
ロータシャフト
17日前
個人
非対称鏡像力を有する4層PWB電荷搬送体
17日前
日産自動車株式会社
ロータシャフト
17日前
株式会社土井製作所
ケーブル保護管路
1日前
トヨタ自動車株式会社
可変界磁ロータ
25日前
株式会社明治ゴム化成
ワイヤレス給電用部品
1か月前
株式会社アイシン
電力変換装置
22日前
株式会社マキタ
電動作業機
1か月前
個人
電線盗難防止方法及び電線盗難防止装置
1か月前
トヨタ紡織株式会社
ロータの製造装置
1か月前
続きを見る
他の特許を見る