TOP
|
特許
|
意匠
|
商標
特許ウォッチ
Twitter
他の特許を見る
公開番号
2025142865
公報種別
公開特許公報(A)
公開日
2025-10-01
出願番号
2024042459
出願日
2024-03-18
発明の名称
コネクタ及びコネクタアセンブリ
出願人
住友電装株式会社
代理人
個人
,
個人
主分類
H01R
31/06 20060101AFI20250924BHJP(基本的電気素子)
要約
【課題】嵌合力の増大を抑制可能としたコネクタ及びコネクタアセンブリを提供する。
【解決手段】中継コネクタ11は、筒状のアウターハウジング21と、アウターハウジング21の内部に設けられ、相手コネクタが嵌合されるインナーハウジング22と、アウターハウジング21とインナーハウジング22との間に取り付けられ、インナーハウジング22がアウターハウジング21の内部に位置する状態を保持するリテーナ23とを備える。インナーハウジング22は、アウターハウジング21の内部に設けられた状態で、相手コネクタの嵌合方向(X軸方向)に対して傾動可能に構成される。リテーナ23は、アウターハウジング21の内周面とインナーハウジング22の外周面との間に位置するばね片43を有し、ばね片43は、前記嵌合方向に対するインナーハウジング22の傾きが小さくなるように、インナーハウジング22の外周面を押圧する。
【選択図】図7
特許請求の範囲
【請求項1】
筒状のアウターハウジングと、
前記アウターハウジングの内部に設けられ、相手コネクタが嵌合されるインナーハウジングと、
前記アウターハウジングと前記インナーハウジングとの間に取り付けられ、前記インナーハウジングが前記アウターハウジングの内部に位置する状態を保持するリテーナと、
を備え、
前記インナーハウジングは、前記アウターハウジングの内部に設けられた状態で、前記相手コネクタの嵌合方向に対して傾動可能に構成され、
前記リテーナは、前記アウターハウジングの内周面と前記インナーハウジングの外周面との間に位置するばね片を有し、
前記ばね片は、前記嵌合方向に対する前記インナーハウジングの傾きが小さくなるように、前記インナーハウジングの前記外周面を押圧する、
コネクタ。
続きを表示(約 530 文字)
【請求項2】
前記インナーハウジングは、一対の前記相手コネクタが互いに反対の方向からそれぞれ嵌合可能に構成されている、
請求項1に記載のコネクタ。
【請求項3】
前記コネクタは、複数の前記リテーナを備え、
前記複数のリテーナの各々は、複数の前記ばね片を有している、
請求項1に記載のコネクタ。
【請求項4】
前記アウターハウジングは、前記インナーハウジングを収容する収容部と、前記収容部から前記嵌合方向に対して交差する方向に向かって延設された被固定部と、を有し、
前記被固定部には、前記相手コネクタがボルトによって締結固定される、
請求項1に記載のコネクタ。
【請求項5】
請求項1から請求項4のいずれか1項に記載のコネクタと、
前記コネクタに接続される相手コネクタと、を備える、
コネクタアセンブリ。
【請求項6】
前記コネクタアセンブリは、一対の前記相手コネクタを備え、
前記コネクタは、前記一対の相手コネクタが互いに反対の方向からそれぞれ接続可能に構成されている、
請求項5に記載のコネクタアセンブリ。
発明の詳細な説明
【技術分野】
【0001】
本開示は、コネクタ及びコネクタアセンブリに関するものである。
続きを表示(約 1,800 文字)
【背景技術】
【0002】
従来、例えば車両に搭載されるコネクタとしては、筒状のアウターハウジングと、アウターハウジングの内部に設けられるインナーハウジングとを備えたものがある(例えば、特許文献1参照)。インナーハウジングには、相手コネクタが嵌合される。
【先行技術文献】
【特許文献】
【0003】
特開2012-238465号公報
【発明の概要】
【発明が解決しようとする課題】
【0004】
上記のようなコネクタでは、相手コネクタの嵌合時において、相手コネクタが嵌合方向に対して傾いた状態になると、相手コネクタを嵌合する際の嵌合力が大きくなってしまう問題があった。
【0005】
本開示の目的は、嵌合力の増大を抑制可能としたコネクタ及びコネクタアセンブリを提供することにある。
【課題を解決するための手段】
【0006】
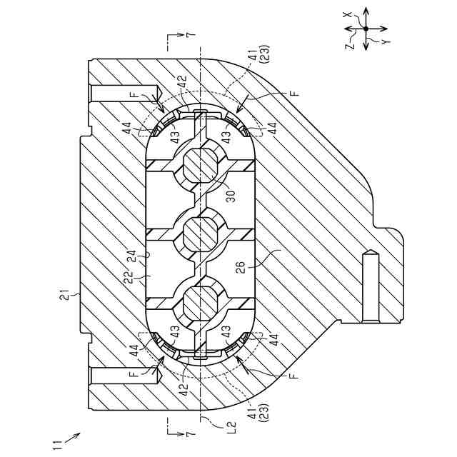
本開示のコネクタは、筒状のアウターハウジングと、前記アウターハウジングの内部に設けられ、相手コネクタが嵌合されるインナーハウジングと、前記アウターハウジングと前記インナーハウジングとの間に取り付けられ、前記インナーハウジングが前記アウターハウジングの内部に位置する状態を保持するリテーナと、を備え、前記インナーハウジングは、前記アウターハウジングの内部に設けられた状態で、前記相手コネクタの嵌合方向に対して傾動可能に構成され、前記リテーナは、前記アウターハウジングの内周面と前記インナーハウジングの外周面との間に位置するばね片を有し、前記ばね片は、前記嵌合方向に対する前記インナーハウジングの傾きが小さくなるように、前記インナーハウジングの前記外周面を押圧する。
【発明の効果】
【0007】
本開示のコネクタ及びコネクタアセンブリによれば、嵌合力の増大を抑制可能となる。
【図面の簡単な説明】
【0008】
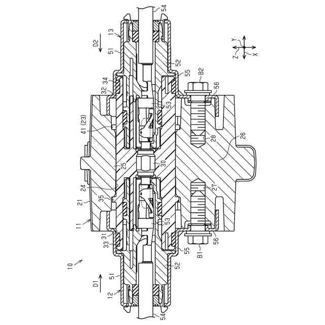
図1は、一実施形態におけるコネクタアセンブリの斜視図である。
図2は、同実施形態におけるコネクタアセンブリの分解斜視図である。
図3は、同実施形態におけるコネクタアセンブリの断面図である。
図4は、同実施形態における中間コネクタの分解斜視図である。
図5は、同実施形態における中間コネクタの平面図である。
図6は、図5における6-6線断面図である。
図7は、同実施形態における中間コネクタの断面図である。
【発明を実施するための形態】
【0009】
[本開示の実施形態の説明]
最初に本開示の実施態様を列記して説明する。
本開示のコネクタは、
[1]筒状のアウターハウジングと、前記アウターハウジングの内部に設けられ、相手コネクタが嵌合されるインナーハウジングと、前記アウターハウジングと前記インナーハウジングとの間に取り付けられ、前記インナーハウジングが前記アウターハウジングの内部に位置する状態を保持するリテーナと、を備え、前記インナーハウジングは、前記アウターハウジングの内部に設けられた状態で、前記相手コネクタの嵌合方向に対して傾動可能に構成され、前記リテーナは、前記アウターハウジングの内周面と前記インナーハウジングの外周面との間に位置するばね片を有し、前記ばね片は、前記嵌合方向に対する前記インナーハウジングの傾きが小さくなるように、前記インナーハウジングの前記外周面を押圧する。
【0010】
この構成によれば、相手コネクタの嵌合時において、相手コネクタが嵌合方向に対して傾いた状態になったとき、インナーハウジングが相手コネクタの傾きに追従して傾動する。これにより、嵌合時に相手コネクタが嵌合方向に対して傾いたとしても、相手コネクタを嵌合する際の嵌合力の増大を小さく抑えることが可能となる。そして、インナーハウジングが傾いた後、相手コネクタが適正位置まで嵌合されるまでの間において、インナーハウジングは、リテーナのばね片によって傾きが小さくなるように押圧される。すなわち、リテーナのばね片によって、インナーハウジングの傾きが小さくなるように調芯することが可能となる。
(【0011】以降は省略されています)
この特許をJ-PlatPat(特許庁公式サイト)で参照する
関連特許
住友電装株式会社
端子台
1か月前
住友電装株式会社
端子台
1か月前
住友電装株式会社
コネクタ
1か月前
住友電装株式会社
コネクタ
1か月前
住友電装株式会社
コネクタ
23日前
住友電装株式会社
コネクタ
1か月前
住友電装株式会社
コネクタ
1か月前
住友電装株式会社
コネクタ
1か月前
住友電装株式会社
コネクタ
1か月前
住友電装株式会社
コネクタ
1か月前
住友電装株式会社
コネクタ
1か月前
住友電装株式会社
コネクタ
1か月前
住友電装株式会社
コネクタ
2日前
住友電装株式会社
コネクタ
1か月前
住友電装株式会社
コネクタ
1か月前
住友電装株式会社
コネクタ
1か月前
住友電装株式会社
プロテクタ
1か月前
住友電装株式会社
シールド端子
17日前
住友電装株式会社
ワイヤハーネス
1か月前
住友電装株式会社
シールドコネクタ
23日前
住友電装株式会社
コネクタアセンブリ
1か月前
住友電装株式会社
ブラケット付きコネクタ
1か月前
住友電装株式会社
ダミー栓およびコネクタ
1か月前
住友電装株式会社
端子台、及び端子台の製造方法
1か月前
住友電装株式会社
電気接続箱および制御ユニット
1か月前
住友電装株式会社
圧着端子、および端子付き電線
1か月前
住友電装株式会社
絶縁構造体、及びワイヤハーネス
1か月前
住友電装株式会社
プロテクタ、及びワイヤハーネス
1か月前
住友電装株式会社
ワイヤハーネス、及びグロメット
2か月前
住友電装株式会社
コネクタ及びコネクタアセンブリ
1か月前
住友電装株式会社
外導体端子及びシールドコネクタ
23日前
住友電装株式会社
コネクタ及びコネクタアセンブリ
15日前
トヨタ自動車株式会社
車両の制御装置
1か月前
住友電装株式会社
プロテクタとホルダとの一体化ユニット
29日前
住友電装株式会社
プロテクタ及びプロテクタ付ワイヤハーネス
29日前
株式会社オートネットワーク技術研究所
電装品
15日前
続きを見る
他の特許を見る