TOP
|
特許
|
意匠
|
商標
特許ウォッチ
Twitter
他の特許を見る
公開番号
2025161394
公報種別
公開特許公報(A)
公開日
2025-10-24
出願番号
2024064550
出願日
2024-04-12
発明の名称
プロテクタ及びプロテクタ付ワイヤハーネス
出願人
住友電装株式会社
,
スズキ株式会社
代理人
個人
,
個人
,
個人
,
個人
主分類
H02G
3/04 20060101AFI20251017BHJP(電力の発電,変換,配電)
要約
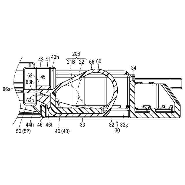
【課題】タイバンドの切り代を保護しつつ、プロテクタを小型化することを目的とする。
【解決手段】プロテクタは、ワイヤハーネスに沿って配置される固定板部40を含むプロテクタ本体32と、タイバンド60の頭部62を収容する収容空間45を有する頭部収容部41と、タイバンドのバンド部66の切り代66aを保護する切り代保護部50とを備える。頭部収容部は、固定板部の内側に開口する内側開口43hと、固定板部の外側に開口する外側開口44hとを有し、頭部を収容空間内で固定板部の厚み方向おいて位置決めする。切り代保護部50は、外側開口から固定板部の外側に延出する一対の保護壁52を含む。
【選択図】図5
特許請求の範囲
【請求項1】
ワイヤハーネスに沿って配置される固定板部を含むプロテクタ本体と、
タイバンドの頭部を収容する収容空間を有する頭部収容部と、
前記タイバンドのバンド部の切り代を保護する切り代保護部と、
を備え、
前記頭部収容部は、前記固定板部の内側に開口する内側開口と、前記固定板部の外側に開口する外側開口とを有し、前記頭部を前記収容空間内で前記固定板部の厚み方向において位置決めし、
前記切り代保護部は、前記外側開口から前記固定板部の外側に延出する一対の保護壁を含む、プロテクタ。
続きを表示(約 1,100 文字)
【請求項2】
請求項1に記載のプロテクタであって、
前記収容空間は、前記ワイヤハーネスの延在方向に対して交差する方向に延び、
前記外側開口及び前記内側開口は、前記収容空間の延在方向に沿って細長い形状に形成されており、
前記一対の保護壁は、前記収容空間の延在方向に沿って延びる形状に形成されている、プロテクタ。
【請求項3】
請求項1又は請求項2に記載のプロテクタであって、
前記収容空間は、前記固定板部の厚み方向において前記頭部の移動を許容する大きさに設定されている、プロテクタ。
【請求項4】
請求項1又は請求項2に記載のプロテクタであって、
前記プロテクタ本体が、底板部と、前記底板部の一側縁に連なる前記固定板部とを含み、
前記頭部収容部は、前記収容空間に対して前記底板部側に位置する底部を有すると共に、前記底部とは反対側で前記頭部をセット可能に開口するセット用開口を有し、
前記底部は、前記頭部から延出する前記バンド部が通過可能な通過孔を有し、
前記底板部に、前記底板部の他側縁から前記底板部の幅方向中間に向って延びるバンド通過溝が形成されている、プロテクタ。
【請求項5】
請求項1又は請求項2に記載のプロテクタであって、
前記一対の保護壁の間隔は、前記収容空間の幅よりも狭い、プロテクタ。
【請求項6】
請求項1又は請求項2に記載のプロテクタであって、
前記一対の保護壁の間隔は、10mm以下である、プロテクタ。
【請求項7】
請求項1又は請求項2に記載のプロテクタと、
前記固定板部に沿って配置されるワイヤハーネスと、
頭部と、前記頭部から延出するバンド部とを有し、前記バンド部が前記頭部に挿通されることで、前記バンド部が前記頭部に係止保持されるタイバンドと、
を備え、
前記頭部収容部に収容された前記頭部から前記バンド部が延出し、
前記バンド部が前記固定板部及び前記ワイヤハーネスに巻回された状態で、前記内側開口を通って前記頭部に係止保持され、
前記頭部を貫通して延出する前記バンド部が前記外側開口を通って前記一対の保護壁の間に配置されている、プロテクタ付ワイヤハーネス。
【請求項8】
請求項7に記載のプロテクタ付ワイヤハーネスであって、
前記バンド部の端部が、前記一対の保護壁の外向き面の延長上又は内側に入り込んで位置する、プロテクタ付ワイヤハーネス。
発明の詳細な説明
【技術分野】
【0001】
本開示は、プロテクタ及びプロテクタ付ワイヤハーネスに関する。
続きを表示(約 1,500 文字)
【背景技術】
【0002】
特許文献1には、プロテクタの壁部にタイバンドの頭部を位置決めする位置決め部が設けられること、壁部における位置決め部の隣には、弾性を有する脚部が、位置決め部側に向けて、かつ、その位置決め部よりも壁部から離れる方向に突出するよう設けられていることが開示されている。
【0003】
特許文献1によると、タイバンドの頭部に差し込まれた帯部の先端部であって同頭部から突出した部分を、所定長さの切り代を残して切除する際には、脚部が位置決め部側に変位するよう弾性変形させられる。また、切除後には、脚部が自身の弾性によって元の位置に戻ることにより、その脚部が位置決め部から離れる方向に変位する。これにより、帯部における上記切り代の部分が上記脚部によって作業者や他の部品と接触しにくくなる。
【先行技術文献】
【特許文献】
【0004】
特開2020-28157号公報
【発明の概要】
【発明が解決しようとする課題】
【0005】
しかしながら、特許文献1に開示の技術によると、脚部の分、プロテクタが大型化する。タイバンドの切り代を保護しつつ、プロテクタを小型化することが望まれている。
【0006】
そこで、本開示は、タイバンドの切り代を保護しつつ、プロテクタを小型化することを目的とする。
【課題を解決するための手段】
【0007】
本開示のプロテクタは、ワイヤハーネスに沿って配置される固定板部を含むプロテクタ本体と、タイバンドの頭部を収容する収容空間を有する頭部収容部と、前記タイバンドのバンド部の切り代を保護する切り代保護部と、を備え、前記頭部収容部は、前記固定板部の内側に開口する内側開口と、前記固定板部の外側に開口する外側開口とを有し、前記頭部を前記収容空間内で前記固定板部の厚み方向において位置決めし、前記切り代保護部は、前記外側開口から前記固定板部の外側に延出する一対の保護壁を含む、プロテクタである。
【0008】
また、本開示のプロテクタ付ワイヤハーネスは、上記プロテクタと、前記固定板部に沿って配置されるワイヤハーネスと、頭部と、前記頭部から延出するバンド部とを有し、前記バンド部が前記頭部に挿通されることで、前記バンド部が前記頭部に係止保持されるタイバンドと、を備え、前記頭部収容部に収容された前記頭部から前記バンド部が延出し、前記バンド部が前記固定板部及び前記ワイヤハーネスに巻回された状態で、前記内側開口を通って前記頭部に係止保持され、前記頭部を貫通して延出する前記バンド部が前記外側開口を通って前記一対の保護壁の間に配置されている、プロテクタ付ワイヤハーネスである。
【発明の効果】
【0009】
本開示によれば、タイバンドの切り代を保護しつつ、プロテクタを小型化できる。
【図面の簡単な説明】
【0010】
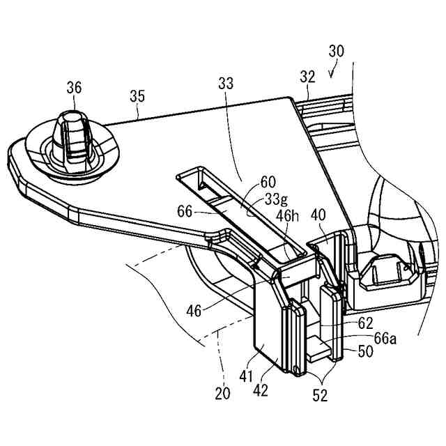
図1は実施形態に係るプロテクタ付ワイヤハーネスを示す斜視図である。
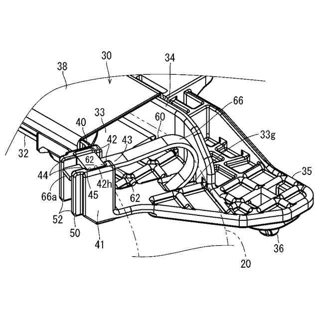
図2はプロテクタの一端部を斜め上から見た斜視図である。
図3はプロテクタの一端部を斜め下から見た斜視図である。
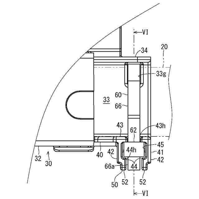
図4はプロテクタの一端部を示す平面図である。
図5は図4の部分拡大図である。
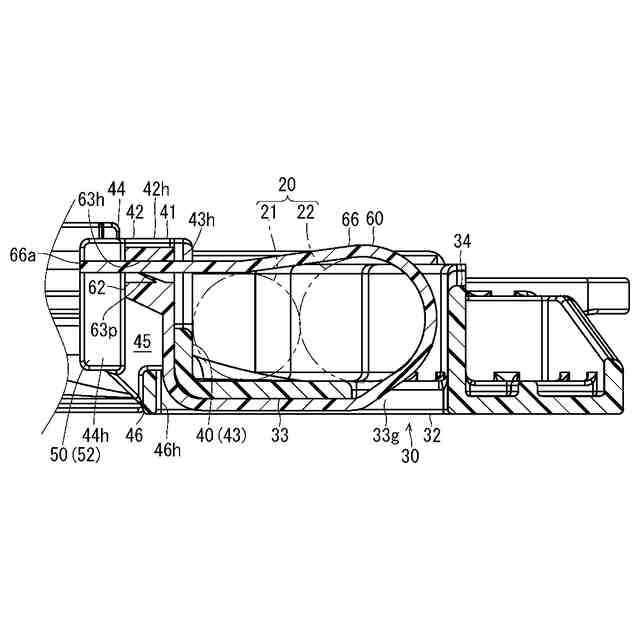
図6は図4のVI-VI線断面図である。
図7はワイヤハーネスとは異なる太さのワイヤハーネスを結束固定する状態を示す断面図である。
【発明を実施するための形態】
(【0011】以降は省略されています)
この特許をJ-PlatPat(特許庁公式サイト)で参照する
関連特許
住友電装株式会社
端子台
1か月前
住友電装株式会社
コネクタ
1か月前
住友電装株式会社
コネクタ
3日前
住友電装株式会社
コネクタ
1か月前
住友電装株式会社
コネクタ
1か月前
住友電装株式会社
コネクタ
24日前
住友電装株式会社
プロテクタ
1か月前
住友電装株式会社
シールド端子
18日前
住友電装株式会社
シールドコネクタ
24日前
住友電装株式会社
コネクタ及びコネクタアセンブリ
16日前
住友電装株式会社
外導体端子及びシールドコネクタ
24日前
住友電装株式会社
プロテクタとホルダとの一体化ユニット
1か月前
住友電装株式会社
プロテクタ及びプロテクタ付ワイヤハーネス
1か月前
株式会社オートネットワーク技術研究所
雌端子
25日前
株式会社オートネットワーク技術研究所
電装品
16日前
株式会社オートネットワーク技術研究所
電装品
16日前
株式会社オートネットワーク技術研究所
コネクタ
26日前
株式会社オートネットワーク技術研究所
コネクタ
26日前
株式会社オートネットワーク技術研究所
車載装置
1か月前
株式会社オートネットワーク技術研究所
コネクタ
3日前
株式会社オートネットワーク技術研究所
固定部材
17日前
株式会社オートネットワーク技術研究所
コネクタ
1か月前
株式会社オートネットワーク技術研究所
接続構造体
1か月前
株式会社オートネットワーク技術研究所
コネクタ装置
1か月前
株式会社オートネットワーク技術研究所
コネクタ装置
1か月前
株式会社オートネットワーク技術研究所
車載用制御装置
1か月前
住友電装株式会社
接続構造体、リアクトル装置および接続構造体の製造方法
16日前
株式会社オートネットワーク技術研究所
基板用コネクタ
3日前
住友電装株式会社
電気接続箱
1か月前
株式会社オートネットワーク技術研究所
電子部品モジュール
4日前
住友電装株式会社
バスバユニット
24日前
住友電装株式会社
バスバユニット
5日前
株式会社オートネットワーク技術研究所
コネクタのガイド構造
1か月前
株式会社オートネットワーク技術研究所
端子金具、及びコネクタ
25日前
株式会社オートネットワーク技術研究所
端子金具、及びコネクタ
25日前
住友電装株式会社
配線部材の配索構造
26日前
続きを見る
他の特許を見る