TOP
|
特許
|
意匠
|
商標
特許ウォッチ
Twitter
他の特許を見る
公開番号
2025170845
公報種別
公開特許公報(A)
公開日
2025-11-20
出願番号
2024075631
出願日
2024-05-08
発明の名称
基板用コネクタ
出願人
株式会社オートネットワーク技術研究所
,
住友電装株式会社
,
住友電気工業株式会社
代理人
弁理士法人グランダム特許事務所
主分類
H01R
12/51 20110101AFI20251113BHJP(基本的電気素子)
要約
【課題】ペグによる回路基板への固着強度を高める。
【解決手段】基板用コネクタAは、端子金具20が取り付けられた合成樹脂製のハウジング10と、ハウジング10の左右両外側面10Sに取り付けられた状態で回路基板にP対して半田付けにより固着される金属製のペグ30とを備え、ハウジング10の外側面10Sには、突起状の保持部13が形成され、ペグ30は、ハウジング10に固定されるハウジング固定部31と、回路基板Pに対して半田付けにより固着される基板固着部37F,37C,37Rと、を有し、ハウジング固定部31は、ハウジング10に対して外側面10Sと交差する方向に接近させることによって保持部13に嵌合可能であり、基板固着部37F,37C,37Rは、ペグ30を回路基板Pと交差する方向に視たときに保持部13と重ならない第1固着部38と、保持部13と重なる第2固着部39とを含む。
【選択図】図1
特許請求の範囲
【請求項1】
端子金具が取り付けられた合成樹脂製のハウジングと、
前記ハウジングの左右両外側面に取り付けられた状態で回路基板に対して半田付けにより固着される金属製のペグとを備え、
前記ハウジングの前記外側面には、突起状の保持部が形成され、
前記ペグは、
前記ハウジングに固定されるハウジング固定部と、
前記回路基板に対して半田付けにより固着される基板固着部と、を有し、
前記ハウジング固定部は、前記ハウジングに対して前記外側面と交差する方向に接近させることによって前記保持部に嵌合可能であり、
前記基板固着部は、前記ペグを前記回路基板と交差する方向に視たときに前記保持部と重ならない第1固着部と、前記保持部と重なる第2固着部とを含む基板用コネクタ。
続きを表示(約 570 文字)
【請求項2】
前記ハウジング固定部は、開口縁が全周に亘って繋がった窓孔を有し、
前記窓孔内に前記保持部が収容されている請求項1に記載の基板用コネクタ。
【請求項3】
前記保持部は、前記保持部の全体が前記窓孔の開口領域内に位置する状態から、前記ペグを前記ハウジングに対して相対変位させることを可能にするスリットを有し、
前記窓孔の開口縁部が前記スリットに嵌合されることによって、前記ペグが前記外側面から離隔する方向へ相対変位することが規制されている請求項2に記載の基板用コネクタ。
【請求項4】
前記ハウジング固定部は、前記ハウジングに対して前記回路基板側へ相対変位させることによって前記保持部に食い込む突起部を有する請求項1から請求項3のいずれか1項に記載の基板用コネクタ。
【請求項5】
前記ハウジング固定部には、前記保持部に対して前記回路基板とは反対側から当接する第1ストッパが形成されている請求項1から請求項3のいずれか1項に記載の基板用コネクタ。
【請求項6】
前記ハウジング固定部には、前記ハウジングにおける前記回路基板とは反対側の外面に係止する第2ストッパが形成されている請求項1から請求項3のいずれか1項に記載の基板用コネクタ。
発明の詳細な説明
【技術分野】
【0001】
本開示は、基板用コネクタに関するものである。
続きを表示(約 2,100 文字)
【背景技術】
【0002】
特許文献1には、左右両側壁にペグ固定部が形成されたハウジングと、ペグ固定部に圧入されるペグを有する基板用コネクタが開示されている。ペグ固定部は、各側壁において、前後方向に間隔を空けて対向するように一対設けられている。ペグは、金属板材からなり、一対のペグ固定部の間に圧入される本体と、本体の外縁部を折り曲げた形態の折曲部とを有する。折曲部は、前後方向に細長く延びた形状をなし、基板に対して半田付けによって固着される。ペグは、ペグ固定部に対して基板とは反対側から係止する大幅部を有する。大幅部は、ペグ固定部に係止することによって、ハウジングが基板から離れる方向へ移動することを防止する。
【先行技術文献】
【特許文献】
【0003】
特開2019-036477号公報
【発明の概要】
【発明が解決しようとする課題】
【0004】
基板に対する折曲部の固着力は、折曲部における回路基板の対向面積が広いほど大きくなる。つまり、折曲部の前後方向の長さが長いほど、折曲部による固着力が大きくなる。しかし、ペグをハウジングに取り付ける際には、大幅部とペグ固定部との干渉を避けるため、本体と折曲部を、基板とは反対側から一対のペグ固定部の間に圧入するようになっている。そのため、折曲部の前後方向の寸法は、一対のペグ固定部の対向間隔よりも大きく設定することができない。よって、折曲部による固着力を大きく確保することには限界があった。
【0005】
本開示の基板用コネクタは、上記のような事情に基づいて完成されたものであって、ペグによる回路基板への固着強度を高めることを目的とする。
【課題を解決するための手段】
【0006】
本開示の基板用コネクタは、
端子金具が取り付けられた合成樹脂製のハウジングと、
前記ハウジングの左右両外側面に取り付けられた状態で回路基板に対して半田付けにより固着される金属製のペグとを備え、
前記ハウジングの前記外側面には、突起状の保持部が形成され、
前記ペグは、
前記ハウジングに固定されるハウジング固定部と、
前記回路基板に対して半田付けにより固着される基板固着部と、を有し、
前記ハウジング固定部は、前記ハウジングに対して前記外側面と交差する方向に接近させることによって前記保持部に嵌合可能であり、
前記基板固着部は、前記ペグを前記回路基板と交差する方向に視たときに前記保持部と重ならない第1固着部と、前記保持部と重なる第2固着部とを含む。
【発明の効果】
【0007】
本開示によれば、ペグによる回路基板への固着強度を高めることができる。
【図面の簡単な説明】
【0008】
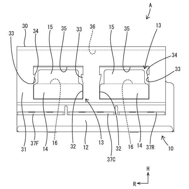
図1は、実施例1の基板用コネクタを回路基板に実装した状態をあらわす側面図である。
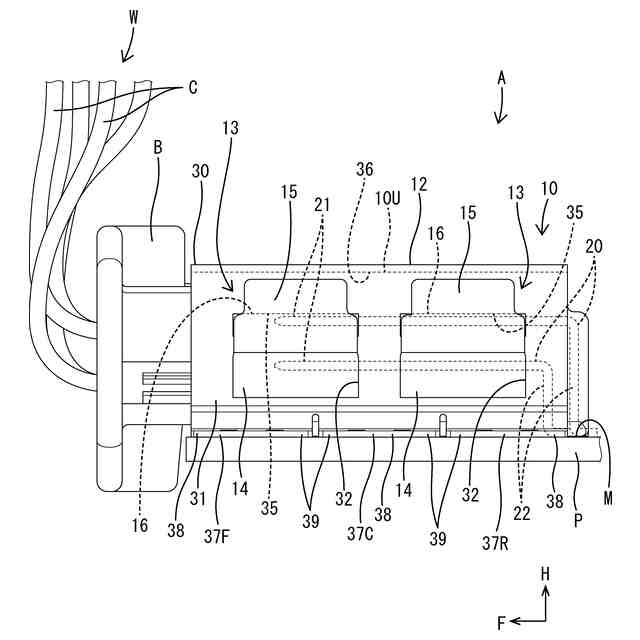
図2は、基板用コネクタの斜視図である。
図3は、基板用コネクタを回路基板に実装した状態をあらわす正面図である。
図4は、ハウジングの斜視図である。
図5は、ペグの斜視図である。
図6は、ペグの窓孔を保持部に嵌合した状態をあらわす斜視図である。
図7は、ペグの窓孔を保持部に嵌合した状態をあらわす側面図である。
【発明を実施するための形態】
【0009】
[本開示の実施形態の説明]
最初に本開示の実施形態を列記して説明する。下記の複数の実施形態を、矛盾を生じない範囲で任意に組み合わせたものも、発明を実施するための形態に含まれる。
本開示の基板用コネクタは、
(1)端子金具が取り付けられた合成樹脂製のハウジングと、前記ハウジングの左右両外側面に取り付けられた状態で回路基板に対して半田付けにより固着される金属製のペグとを備えている。前記ハウジングの前記外側面には、突起状の保持部が形成されている。前記ペグは、前記ハウジングに固定されるハウジング固定部と、前記回路基板に対して半田付けにより固着される基板固着部と、を有する。前記ハウジング固定部は、前記ハウジングに対して前記外側面と交差する方向に接近させることによって前記保持部に嵌合可能である。前記基板固着部は、前記ペグを前記回路基板と交差する方向に視たときに前記保持部と重ならない第1固着部と、前記保持部と重なる第2固着部とを含む。
【0010】
本開示の構成によれば、保持部に対するハウジング固定部の嵌合方向を、ハウジングの外側面と交差する方向としたので、基板固着部が、保持部と重ならない第1固着部だけでなく、保持部と重なる第2固着部も含む構成とすることを実現した。保持部と回路基板との間の領域にも基板固着部(第2固着部)を形成したので、基板固着部における回路基板との対向面積を広く確保することができる。これにより、基板固着部による回路基板への固着力、即ちペグによる回路基板への固着強度を高めることことができる。
(【0011】以降は省略されています)
この特許をJ-PlatPat(特許庁公式サイト)で参照する
関連特許
APB株式会社
蓄電セル
28日前
東ソー株式会社
絶縁電線
1か月前
個人
フレキシブル電気化学素子
1か月前
日新イオン機器株式会社
イオン源
1か月前
マクセル株式会社
電源装置
22日前
ローム株式会社
半導体装置
29日前
株式会社東芝
端子台
22日前
株式会社ユーシン
操作装置
1か月前
株式会社GSユアサ
蓄電装置
23日前
株式会社GSユアサ
蓄電装置
23日前
株式会社GSユアサ
蓄電装置
1日前
株式会社GSユアサ
蓄電装置
15日前
富士電機株式会社
電磁接触器
1日前
株式会社ホロン
冷陰極電子源
1か月前
株式会社GSユアサ
蓄電設備
1か月前
株式会社GSユアサ
蓄電設備
1か月前
太陽誘電株式会社
コイル部品
1か月前
三菱電機株式会社
回路遮断器
9日前
オムロン株式会社
電磁継電器
1か月前
ノリタケ株式会社
熱伝導シート
1か月前
トヨタ自動車株式会社
蓄電装置
1か月前
日新イオン機器株式会社
基板処理装置
25日前
日本特殊陶業株式会社
保持装置
1か月前
トヨタ自動車株式会社
冷却構造
1か月前
日東電工株式会社
積層体
1か月前
トヨタ自動車株式会社
バッテリ
28日前
北道電設株式会社
配電具カバー
28日前
日本特殊陶業株式会社
保持装置
14日前
トヨタ自動車株式会社
蓄電装置
23日前
サクサ株式会社
電池の固定構造
1か月前
トヨタ自動車株式会社
バッテリ
1か月前
トヨタ自動車株式会社
電池パック
1か月前
日本製紙株式会社
導電性フィルム
1か月前
古河電気工業株式会社
端子
1か月前
甲神電機株式会社
変流器及び零相変流器
16日前
株式会社ダイヘン
搬送装置
1か月前
続きを見る
他の特許を見る